Студопедия

КАТЕГОРИИ:


Архитектура-(3434)Астрономия-(809)Биология-(7483)Биотехнологии-(1457)Военное дело-(14632)Высокие технологии-(1363)География-(913)Геология-(1438)Государство-(451)Демография-(1065)Дом-(47672)Журналистика и СМИ-(912)Изобретательство-(14524)Иностранные языки-(4268)Информатика-(17799)Искусство-(1338)История-(13644)Компьютеры-(11121)Косметика-(55)Кулинария-(373)Культура-(8427)Лингвистика-(374)Литература-(1642)Маркетинг-(23702)Математика-(16968)Машиностроение-(1700)Медицина-(12668)Менеджмент-(24684)Механика-(15423)Науковедение-(506)Образование-(11852)Охрана труда-(3308)Педагогика-(5571)Полиграфия-(1312)Политика-(7869)Право-(5454)Приборостроение-(1369)Программирование-(2801)Производство-(97182)Промышленность-(8706)Психология-(18388)Религия-(3217)Связь-(10668)Сельское хозяйство-(299)Социология-(6455)Спорт-(42831)Строительство-(4793)Торговля-(5050)Транспорт-(2929)Туризм-(1568)Физика-(3942)Философия-(17015)Финансы-(26596)Химия-(22929)Экология-(12095)Экономика-(9961)Электроника-(8441)Электротехника-(4623)Энергетика-(12629)Юриспруденция-(1492)Ядерная техника-(1748)

Сила ампера. Сила Лоренца




 

Сила Ампера.
Действие магнитного поля на проводник с током Сила, действующая на проводник с током в магнитном поле, называется силой Ампера.  
Сила действия однородного маг­нитного поля на проводник с током прямо пропорциональна силе тока, длине проводника, модулю вектора индукции магнитного поля, синусу угла между вектором индукции магнитного поля и проводником: F=B.I.. sin a — закон Ампера.
Направление силы Ампера (правило левой руки) Если левую руку расположить так, чтобы перпендикулярная составляющая вектора В входила в ладонь, а четыре вытянутых пальца были направлены по направлению тока, то отогнутый на 90° большой палец покажет направление силы, действующей на проводник с током.
Действие магнитного поля на движущийся заряд.
Сила, действующая на заряженную движущуюся частицу в магнитном поле, называется силой Лоренца:    
Направление силы Лоренца (правило левой руки) Направление F определяется по правилу левой руки: вектор Fперпендикулярен векторам В и v..
Правило левой руки сформулировано для положительной частицы. Сила, действующая на отрицательный заряд будет направлена в противоположную сторону по сравнению с положительным.
Если вектор v частицы перпендикулярен вектору В, то частица описывает траекторию в виде окружности:   Роль центростремительной силы играет сила Лоренца:  
При этом радиус окружности: , а период обращения   не зависит от радиуса окружности!
Если вектор скорости и частицы не перпендикулярен В, то частица описывает траекторию в виде винтовой линии (спирали).
Действие магнитного поля на рамку с током
На рамку действует пара сил, в результате чего она поворачивается. 1. Направление вектора силы – правилу левой руки. 2. F=BIlsina=ma 3. M=Fd=BIS sina- вращающий момент
Устройство электроизмерительных приборов
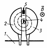
1. Магнитоэлектрическая система: 1 - рамка с током; 2 - постоянный магнит; 3 спиральные пружины; 4 клеммы; 5 подшипники и ось; 6 стрелка; 7 — шкала (равномерная) Принцип действия: взаимодействие рамки с током и поля магнита. Угол поворота рамки и стрелки ~ I..
2. Электромагнитная система: 1 - не­подвижная катушка; 2 - щель (магнит­ное поле); 3 - ось с подшипниками; 4 - сердечник; 5 - стрелка; 6 -шкала; 7 — спиральная пружина Принцип действия: взаимодействие магнитного поля катушки со стальным сердечником, где Fмаг ~ I.
Использование силы Лоренца  
В циклических ускорителях: 1 - вакуум­ная камера; 2 и 3 – дуанты; 4 - источник заряженных частиц; 5 - мишень. В циклотроне магнитное поле управляет движением заряженной частицы. Период обращения частицы в цикло­троне: . Т не зависит от R и υ! Электрическое поле между дуантами разгоняет частицы, а магнитное поворачивает поток частиц. В момент попадания частиц в ускоряющий промежуток направление электрического поля меняется так, чтобы оно всегда увеличивало скорость частиц.
Схема действия масс-спектрографа Для выделения частиц с одинаковой скоростью используют взаимно перпендикулярные магнитные (B1) и электрические (E) поля. Тогда . Т.к. , то удельный заряд , следовательно   можно определить удельный заряд частицы, заряд. массу.
Движение заряженных частиц в магнитном поле Земли.Вблизи магнитных полюсов Земли космические заряженные частицы движутся по спирали (с ускорением) Одно из основных положений теории Максвелла говорит о том, что заряженная частица, движущаяся с ускорением, является источником электромагнитных волн - возникает т.н. синхротронное излучение. Столкновение заряженных частиц с атомами и молекулами из верхних слоев атмосферы приводит к возникновению полярных сияний.  

 

 




Поделиться с друзьями:


Дата добавления: 2014-01-06; Просмотров: 3418; Нарушение авторских прав?; Мы поможем в написании вашей работы!


Нам важно ваше мнение! Был ли полезен опубликованный материал? Да | Нет



studopedia.su - Студопедия (2013 - 2025) год. Все материалы представленные на сайте исключительно с целью ознакомления читателями и не преследуют коммерческих целей или нарушение авторских прав! Последнее добавление




Генерация страницы за: 0.008 сек.