Студопедия

КАТЕГОРИИ:


Архитектура-(3434)Астрономия-(809)Биология-(7483)Биотехнологии-(1457)Военное дело-(14632)Высокие технологии-(1363)География-(913)Геология-(1438)Государство-(451)Демография-(1065)Дом-(47672)Журналистика и СМИ-(912)Изобретательство-(14524)Иностранные языки-(4268)Информатика-(17799)Искусство-(1338)История-(13644)Компьютеры-(11121)Косметика-(55)Кулинария-(373)Культура-(8427)Лингвистика-(374)Литература-(1642)Маркетинг-(23702)Математика-(16968)Машиностроение-(1700)Медицина-(12668)Менеджмент-(24684)Механика-(15423)Науковедение-(506)Образование-(11852)Охрана труда-(3308)Педагогика-(5571)Полиграфия-(1312)Политика-(7869)Право-(5454)Приборостроение-(1369)Программирование-(2801)Производство-(97182)Промышленность-(8706)Психология-(18388)Религия-(3217)Связь-(10668)Сельское хозяйство-(299)Социология-(6455)Спорт-(42831)Строительство-(4793)Торговля-(5050)Транспорт-(2929)Туризм-(1568)Физика-(3942)Философия-(17015)Финансы-(26596)Химия-(22929)Экология-(12095)Экономика-(9961)Электроника-(8441)Электротехника-(4623)Энергетика-(12629)Юриспруденция-(1492)Ядерная техника-(1748)

Полевые транзисторы

Классификация и система обозначений транзисторов

Параметры биполярных транзисторов

Различают электрические параметры, предельно - эксплуатационные и параметры эквивалентных схем (параметры схем замещения).

К электрическим параметрам относят:

fh21(fa) – предельная частота коэффициента передачи тока транзистора,

h12(э)(b) – статический коэффициент передачи тока в схеме с общей базой,

UКЭ 0 гр – граничное напряжение транзистора,

UКЭ нас – напряжение насыщения ²коллектор - эмиттер²,

UЭБ нас – напряжение насыщения ²эмиттер - база²,

СК, сЭ – емкости коллекторного и эмиттерного переходов.

К предельно-допустимым параметрам относят:

UКБ, UЭБ – постоянное напряжение,

РК макс – постоянная рассеиваемая мощность коллектора (определяет нагрузочную способность транзистора),

Тn макс – максимальная температура p-n-перехода.

 

 

Выпускаемые промышленностью транзисторы классифицируют по мощности и частоте. В настоящее время используют транзисторы как со старой маркировкой, так и с новой.

Старая маркировка содержит три элемента:

1 элемент – буква П (плоскостной транзистор) или МП (модернизированный плоскостной);

2 элемент – порядковый номер разработки транзистора, характеризующий его полупроводниковый материал, мощность рассеяния (малая – до 0,25 Вт и большая – более 0,25 Вт) и частотные свойства (низкочастотные – до 5 МГц и высокочастотные – свыше 5 МГц);

3 элемент – буква, характеризующая свойства транзистора внутри одного типа (коэффициент передачи тока базы b и др.). Например, транзистор П5А является германиевым низкочастотным малой мощности, а П302Б – кремниевым низкочастотным большой мощности.

Новая система маркировки содержит четыре элемента:

1 элемент – буква, обозначающая материал, на основе которого выполнен транзистор (Г – германиевый, К – кремниевый, А – арсенид галлия);

2 элемент – буква Т (транзистор);

3 элемент – порядковый номер разработки прибора, характеризующий его мощность рассеяния и частотные свойства;

4 элемент – буква, характеризующая свойства транзистора внутри одного типа (допустимые ток и напряжение).

Номера разработки транзисторов при таком обозначении указаны в табл. 6.2.

 

 

Таблица 6.2

Порядковые номера разработки транзисторов, характеризующие материал и мощность рассеяния

Полупроводниковый материал Номера разработки транзисторов
Низкочастотных Высокочастотных
Малой мощности Большой мощности Малой мощности Большой мощности
Германиевый 1-99 201-299 401-499 601-699
Кремниевый 101-199 301-399 501-599 701-799

 

Таблица 6.3

Порядковые номера разработки транзисторов, характеризующие мощность рассеяния и частотные свойства

Мощность рассеяния Номера разработки транзисторов
Низкочастотных (до 9 МГц) Среднечастотных (до 30 МГц) Высокочастотных (свыше 30 МГц)
Малая (до 0,3 Вт) 101-199 201-299 301-399
Средняя (до 1,5 Вт) 401-499 501-599 601-699
Большая (свыше 1,5 Вт) 701-799 801-899 901-999

 

В соответствие с табл. 6.3: КТ805А – транзистор кремниевый большой мощность, предназначен для работы с частотой до 30 МГц; ГТ150Б – транзистор германиевый низкочастотный малой мощности.

 

Полевым транзистором называется электропреобразовательный прибор, в котором ток канала управляется электрическим полем, возникающим с приложенным напряжением между затвором и истоком, и который предназначен для усиления мощности электромагнитных колебаний.

Каналом называется центральная область транзистора.

Электрод, из которого в канал входят носители зарядов называется истоком. Электрод, через который основные носители уходят из канала – стоком. Электрод, служащий для регулирования поперечного сечения канала, называется затвором.

Так как в полевых транзисторах ток определяется движением носителей только одного знака, иногда их называют униполярными.

Полевые транзисторы изготавливают из кремния и, в зависимости от электропроводности исходного материала, подразделяют на транзисторы с p- каналом и n-каналом. Главное достоинство полевых транзисторов – высокое входное сопротивление. Идея устройства полевого транзистора принадлежит У. Шокли (1952 г.). Классификация и условные графические обозначения полевых транзисторов приведены на рис. 6.28.

 

Рис. 6.28. Классификация и условные графические обозначения

полевых транзисторов

 

Полевой транзистор с управляемым переходом – это транзистор, у которого затвор электрически отделен от канала закрытым p-n-переходом.

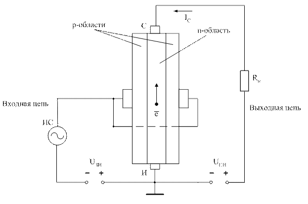
В транзисторе с n- каналом (рис. 6.29) основными носителями зарядов в канале являются электроны, которые движутся вдоль канала от истока с низким потенциалом к стоку с более высоким потенциалом, образуя ток стока Iс. Между затвором и истоком приложено напряжение, запирающее p-n-переход. Полярность приложенных напряжений должна быть следующая: Uси>0, Uзи£0.

 

а

б

Рис. 6.29. Структурная схема (а) и схема включения (б) полевого

транзистора с n-каналом и управляющим p-n-переходом

 

В транзисторе с p-каналом основными носителями зарядов являются дырки, которые движутся в направлении снижения потенциала, поэтому полярности приложенных напряжений должны быть иными: Uсн<0, Uзи³0.

Работа полевого транзистора с n-каналом, а соответственно и изменение поперечного сечения канала, происходит при подаче определенных напряжений на электроды транзистора. Рассмотрим работу транзистора на примере трех рисунков.

 

Рис. 6.30. Формирование равномерного обедненного слоя в транзисторе при подаче запирающего напряжения Uзи

 

При подаче запирающего напряжения Uзи на p-n-переход между затвором и каналом на границах канала возникает равномерный слой, объединенный носителями зарядов и обладающий высоким удельным сопротивлением, а это приведет к уменьшению проводящей ширины канала.

Напряжение, приложенное между стоком и истоком, приводит к появлению неравномерного обедненного слоя, так как разность потенциалов между затвором и каналом увеличивается в направлении от истока к стоку и, наименьшее сечение канала расположено вблизи стока.

 

 

Рис. 6.31. Формирование неравномерного обедненного слоя

в транзисторе при подаче напряжения UСИ

 

Рис. 6.32. Формирование неравномерного обедненного слоя

в транзисторе при подаче напряжений Uси>0 и Uзи£0

 

Если одновременно подать напряжения Uси>0 и Uзи£0, то минимальное сечение канала определяется суммой напряжений. Когда суммарное напряжение достигнет напряжения запирания, обедненные области смыкаются и сопротивление канала резко возрастет (рис. 6.32).

Включение полевых транзисторов (как и биполярных транзисторов) может быть произведено по трем схемам: с общим истоком; с общим стоком; с общим затвором. Наиболее употребительна схема с общим истоком.

Цепь ²сток-исток² является выходной цепью усилительного каскада, в нее и включается сопротивление нагрузки. Входная (управляющая) цепь образована с помощью третьего электрода (затвора) с другим типом электропроводности (p-типа). Источник напряжения ²затвор-исток² создает на p-n-переходе обратное напряжение, которое изменяет ширину запирающего слоя (эффект модуляции ширины базы).

 

Рис. 6.33. Схема включения полевого транзистора с общим истоком

 

<== предыдущая лекция | следующая лекция ==>
Силовые транзисторные модули | ВАХ полевого транзистора с управляющим p-n-переходом
Поделиться с друзьями:


Дата добавления: 2014-01-06; Просмотров: 892; Нарушение авторских прав?; Мы поможем в написании вашей работы!


Нам важно ваше мнение! Был ли полезен опубликованный материал? Да | Нет



studopedia.su - Студопедия (2013 - 2026) год. Все материалы представленные на сайте исключительно с целью ознакомления читателями и не преследуют коммерческих целей или нарушение авторских прав! Последнее добавление




Генерация страницы за: 0.014 сек.