Студопедия

КАТЕГОРИИ:


Архитектура-(3434)Астрономия-(809)Биология-(7483)Биотехнологии-(1457)Военное дело-(14632)Высокие технологии-(1363)География-(913)Геология-(1438)Государство-(451)Демография-(1065)Дом-(47672)Журналистика и СМИ-(912)Изобретательство-(14524)Иностранные языки-(4268)Информатика-(17799)Искусство-(1338)История-(13644)Компьютеры-(11121)Косметика-(55)Кулинария-(373)Культура-(8427)Лингвистика-(374)Литература-(1642)Маркетинг-(23702)Математика-(16968)Машиностроение-(1700)Медицина-(12668)Менеджмент-(24684)Механика-(15423)Науковедение-(506)Образование-(11852)Охрана труда-(3308)Педагогика-(5571)Полиграфия-(1312)Политика-(7869)Право-(5454)Приборостроение-(1369)Программирование-(2801)Производство-(97182)Промышленность-(8706)Психология-(18388)Религия-(3217)Связь-(10668)Сельское хозяйство-(299)Социология-(6455)Спорт-(42831)Строительство-(4793)Торговля-(5050)Транспорт-(2929)Туризм-(1568)Физика-(3942)Философия-(17015)Финансы-(26596)Химия-(22929)Экология-(12095)Экономика-(9961)Электроника-(8441)Электротехника-(4623)Энергетика-(12629)Юриспруденция-(1492)Ядерная техника-(1748)

Электроконтактные преобразователи




Классификация первичных измерительных преобразователей

 

В зависимости от методов преобразования измери­тельного импульса нашли практическое применение преобразователи, использующие следующие методы:

1) механический,

2) электроконтактный,

3) индуктив­ный,

4) емкостный,

5) фотоэлектрический,

6) радиоак­тивный,

7) пневматический,

8) пьезоэлектрический,

9) оптический,

10) ультразвуковой и др.

Принципиально для контроля размеров можно при­менить и другие методы или сочетание перечисленных.

Электроконтактные преобразователи наи­более просты и поэтому наиболее распространены при осуществлении контроля пре­дельных размеров изделия.

Однако большинство схем с электроконтактными преобразователями не дает возможности определить дей­ствительный размер детали. Индикаторы, встроенные в преобразователь для отсчета измеряемых величин, за­громождают рабочее пространство и неудобны при одно­временном контроле многих размеров. Поэтому для многомерных устройств целесообразно применять пневмати­ческие измерители.

Если необходимо передать информацию о размере детали на достаточно большое расстояние, то перед пневматическими приборами имеют преимущества ин­дуктивные, емкостные и тому подобные преобразователи. Поэтому для конкретного случая контроля размеров деталей не­обходимо рассматривать все существующие типы преоб­разователей и выбирать наилучший.

 

По назначению разделяются на предельные, служа­щие для определения попадания размера контролируе­мой детали в поле допуска, и амплитудные, предназна­ченные для контроля отклонения формы и правильности взаимного расположения поверхностей.

По числу контактных пар электроконтактные датчики (ЭКД) подразделяются на одноконтактные, двухконтактные, трехконтактные, многоконтактные.

В зависимости от передаточного отношения от изме­рительного наконечника до электрических контактов различают:

1) безрычажные ЭКД (i = 1) (рис. 2.1);

2) рычажные (i > 1) (рис. 2.2).

Безрычажные датчики просты, имеют малые разме­ры и массу, а при расположении контактных пар на продольной оси измерительного наконечника - наи­большую точность контроля.

 

 
Рис. 2.1.Безрычажный ЭКД Рис. 2.2. Рычажный ЭКД

Рычажные датчики, как правило, сложны и имеют большие размеры по сравнению с безрычажными. Пере­даточное отношение этих датчиков обычно не превы­шает 50. С его увеличением снижается погрешность на­стройки микрометрических винтов, но возрастает число передаточных звеньев, что в свою очередь вносит неко­торые дополнительные погрешности. Дополнительные передаточные звенья, кроме того, увеличивают динами­ческие погрешности. Применение рычажных датчиков с большими i целесообразно в случае оснащения последне­го звена не только контактами, но и стрелкой-ука­зателем для визуального отсчета.

Рычажные схемы датчиков позволяют сконструиро­вать и многоконтактные системы для многодиапазонной рассортировки изделий. Большинство конструкций ры­чажных датчиков имеет один передаточный рычаг. По­грешность контроля при i рычагах составит

 

 

где n1, n2, …, ni - передаточные отношения первого, вто­рого и т.д. до i -гo рычага; Z1, Z2,...,Z i - погрешность первого, второго и т.д. до i -гo рычага; у - погрешность контактной пары (погрешность настройки).

Таким образом, погрешность настройки уменьшается в n раз (n - общее передаточное отношение), а погреш­ность передачи возрастает пропорционально n. Поэтому, если необходимо соблюдать передаточное отношение n при помощи одного рычага, то погрешность составит

Если то же передаточное отношение создается двумя рычагами, то эта погрешность будет

Следовательно, при одинаковой погрешности рыча­гов Z 1 = Z 2 передача из двух рычагов менее точна на величину Z 1 / n 1, так что ее следует применять лишь в тех случаях, когда ограниченные размеры не позволяют использовать более длинные плечи одного рычага.

Качество работы ЭКД в значительной степени зави­сит от правильного режима работы и конструкции са­мих контактов. Этот режим определяется следующими физическими явлениями, происходящими в контактных парах: пробоем газового промежутка, эрозией и корро­зией контактов.

Пробой газового промежутка между контактами. Напряжение, при котором происходит пробой газового промежутка между контактами, связано с параметрами контактов следующей зависимостью (для воздуха) (рис. 2.3):

где l - расстояние между контактами, см; Р - давление газа (воздуха), находящегося между контактами, кг/см; γ - число электронов, освобождаемых из металла катода одним положительным ионом при ударе о поверхность катода.

Рис. 2.3. Зависимость напряжения пробоя газового промежутка от расстояния между контактами

Величина напряжения, при котором происходит про­бой газового промежутка, в общем случае зависит от состава газа и материала катода.

Таким образом, при напряжении на контактах меньшем, чем U0, пробой не может наступить ни при каких расстояниях между контактами.

Эрозия контактов. Эрозия (электрический износ) происходит как при образовании дуги и искры между контактами, так и при их отсутствии. Эрозия второго типа происходит из-за переноса частиц металла с анода на катод. Тогда при размыкании и замыкании контак­тов под действием электрических сил между контактами образуются металлические "мостики", которые либо оплавляются, либо при размыкании разрываются и остаются на катоде, в результате чего на аноде по­лучаются углубления, а на катоде - выступы. Особенно большая эрозия контактов будет при образовании дуги между контактами. Установлена зависимость между током и напряжением дуги

 

где UД - напряжение дуги; U0 - предельное минималь­ное напряжение, соответствующее потенциалу иониза­ции паров металла анода; i - ток дуги; iМ - предельный минимальный ток дуги; PД - минимальная мощность, зависящая от скрытой теплоты испарения материала анода.

Если контакты работают в цепи, имеющей сопроти­вление R и индуктивность L, при постоянном напряже­нии источника тока, то для этих условий будет справед­ливо уравнение

Дуга будет стабильно гореть, если ток i неизменен, то есть = 0, тогда UД = U – iR.

Таким образом, необходимым и достаточным услови­ем невозможности образования стабильной дуги для лю­бых значений тока является выполнение неравенства U -iR < UД. Выполнить это условие можно соответ­ственным подбором величины сопротивления R в цепи контактов. Чаще применяют специальные электриче­ские схемы искрогашения.

Коррозия и выбор материала контактов. Коррозия контактов возникает главным образом из-за дуги раз­мыкания. В процессе работы на контактах появляются оксидные, сульфидные и другие пленки; при этом по­верхность контактов разрушается и сопротивление воз­растает.

В качестве материала для контактов применяется платина, золото, серебро, вольфрам и медь. Платина, золото и серебро имеют высокую проводимость, однако

их износоустойчивость к эрозии невелика. Поэтому их применяют в датчиках с большим передаточным отно­шением, в которых контактное давление составляет 15-20 г.

Вольфрамовые контакты имеют высокую твердость, мало изнашиваются, почти не подвергаются эрозии. Од­нако с течением времени они окисляются и увеличивают сопротивление. Изменение сопротивления вольфрамовых контактов может быть выражено следующей зависи­мостью

где - увеличение сопротивления контактов; N -число размыканий; r и п - постоянные величины, для вольфрама r= 8 -102; п = 0,6.

Контактное усилие в этом случае должно быть > 30 - 50 г. Вольфрамовые контакты целесообразно применять в безрычажных датчиках и датчиках с пере­даточным отношением не более 5:1.

На работу ЭКД влияет также конструктивное оформление электрических контактов. Контактные пары должны иметь выпуклую (сферическую) форму большо­го радиуса одного контакта и плоскую форму другого (рис. 2.4). При таком выполнении контактных пар на точность настройки датчика меньше влияют люфты регулируе­мых контактов.

Рис.2.4. Конструктивное оформление электрических контактов

 

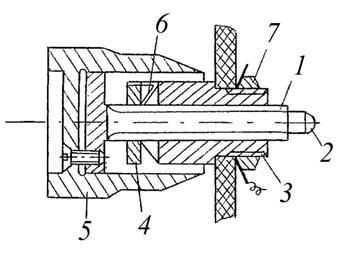
Чаще всего регулируемые контакты крепятся в корпусе датчика, а нерегулируемые - на подвижных деталях. Нерегулируемые контакты могут быть жесткими, подвижными (для создания свободного хода) и плавающего типа с фрикционным оформлением электронной парой. Регулируемые контакты служат для точной настройки датчика (рис. 2.5).

Рис. 2.5. Конструкция регулируемых контактов: 1 - микрометрический винт; 2 - контакт; 3 - микрометрическая гайка; 4 - гайка, вместе с пружиной 6 служит для выбора люфта в резьбовой паре; 5 - головка винта (лимб); 6 - распорная пружи­на; 7 - гайка крепления узла в корпусе  

 

 

При точной регулировке стремятся не только умень­шить шаг винтовой пары, но и сделать дифференциаль­ными винтовые пары.

 

Многокомандные электроконтактные преобразователи

 

Рассмотрим конструкции ЭКД. Наиболее прост, име­ет малые размеры и массу рычажный датчик модели 233 (рис. 2.6). Он относится к группе малогабаритных дат­чиков и предназначен для установки в контрольных ав­томатах. Датчик состоит из корпуса 1, измерительного штока 2, рычага 3 с подвижными контактами 4 и 5, ре­гулируемых контактов 6 и 7.

Измерительное уси­лие не превышает 300 гс. Погрешность измерения ±1 мкм. Сортирует изделия на три группы: "годные", "брак +", "брак -". Недостатком этого дат­чика является то, что последний не позволя­ет получать большое количество команд, и малый интервал деле­ния шкал настроечных винтов затрудняет на­стройку при введении поправки на размер настроечной детали.

 
Рис. 2.6. ЭКД модели 233

 

 
 

Электроконтактный датчик И-29 предназначен для многодиапазонной сортировки деталей. В зависимости от поставленной задачи датчик может производить сор­тировку деталей на 50 и более групп с интервалом 1—2 мкм. Как видно из схемы (рис. 2.7), основная отличи­тельная особенность датчика состоит в том, что один из его контактов 5 выполнен в виде архимедовой спирали, на одной оси которой расположен ползун 6, скользящий по контактной схеме. Процесс контроля и сортировки происходит следующим образом. На измерительную по­зицию вводится контролируемая деталь, на которую опирается измерительный стержень 1. В зависимости от размера детали измерительный шток 1, рычаг 2 и кон­такт 3 займут определенное положение. После этого включается серводвигатель, вращающий спиральный контакт и ползун 6. При определенном угле поворота спиральный контакт 5 замыкается с контактом 3; при этом подается командный импульс на счетное устрой­ство в целях фиксации числа контактов, через которые прошел ползун 6 от нулевого положения до момента за­мыкания контактов 3 и 5. Число считанных контактов соответствует номеру сортировочной группы. Продолжи­тельность измерительного периода не превышает 1 с; погрешность ±0,3 мкм, Р изм ~ 250-300 гс.

Рис. 2.7.Электроконтактный датчик И-29 Рис. 2.8. Принципиальная схема сортировочного датчика БВ-929 с электромагнитным управлением

 

 

Сортировочный датчик БВ-929 с электромагнитным управлением, разработанный в Бюро взаимозаменяемос­ти (БВ), позволяет простыми методами производить сор­тировку деталей на большое число групп. Принципи­альная схема датчика изображена на рис. 2.8.

Стальная пружина 1, закрепленная в виде консоль­ной балки, притягивается электромагнитом 2. Величина прогиба пружины зависит от притягивающей силы электромагнита, которая в свою очередь зависит от ве­личины тока, протекающего через обмотку электромаг­нита. На свободном конце пружины укреплен контакт 3. На измерительном стержне 6 помещен второй контакт 4. Замыкание контактов регистрируется с помощью элек­трической лампочки 5. Ток, протекающий через обмотку электромагнита, поступает от источника питания 10, регулируется элементом 8 и контролирующим прибором 9. Размер контролируемого изделия 7 определяет положение контакта 4, а ток, протекающий через обмотку электромагнита, определяет прогиб пру­жины 1, то есть положение контакта 3. При определен­ном токе, протекающем через обмотку, контакты замк­нутся. Таким образом, размер изделия и величина тока взаимосвязаны, что позволяет сортировать изделия на большое число групп с высокой точностью.

На практике изменение тока происходит путем пере­ключения резисторов автоматической релейной це­почкой. При последовательном срабатывании звеньев релейной цепочки контакт на пружине датчика сбли­жается с контактом на измерительном штоке, скачком перемещаясь на величину одной группы при срабатыва­нии каждого последующего реле. Работа релейной це­почки мгновенно прекращается на том звене, на котором произошло замыкание контактов датчика. На светофор­ном табло при этом загорается лампа, сигнализирующая номер размерной группы. Одновременно с этим выдается команда на магнит, открывающий соответствующий ручей, куда направляется проконтролированная деталь. Пределы сортировки 0-0,2 мм. Минимальный размер группы 1,5-2 мкм. Погрешность сортировки ±0,5 мкм.

На базе миниметра "Карл-Цейс" в Бюро взаимозаме­няемости разработан многоконтактный рычажный датчик мод. БВ-6048 (рис. 2.9).

Стрелка 1 несет на себе пластину-якорь 2 и в спо­койном состоянии притягивается электромагнитом 3, замыкая соответствующий контакт ряда 4. Указатель-стрелка 1 с магнитным якорем крепится при помощи плоской пружины к оси 5. При включении электромаг­нита 3 стрелка притягивается и замыкает один из кон­тактов ряда 4. Для того, чтобы не замкнулось сразу два контакта, служат нож и гребенка 6. Стрелка остается притянутой до тех пор, пока под измерительный стер­жень не поступит следующая деталь. После притягива­ния стрелки на контакты датчика подается ток и вы­дается команда на отнесение детали к определенной сортировочной группе. Подача тока на контакты датчика в тот момент, когда они замкнуты, уменьшает их эрози­онный износ и позволяет применять большую электри­ческую нагрузку (обычно подается напряжение до 40 В и ток до 0,5 А на замыкающиеся в движении контакты датчика).

 

Рис. 2.9. Принципиальная схема многоконтактного

датчика модели 6048

 

Электрические схемы включения электроконтактных

преобразователей

Электрические схемы включения электроконтактных преобразователей могут быть сигнальные, подающие сигнал годности или брака с помощью сигнальных лам­почек разного цвета или звуков; и управляющие, произ­водящие включение и выключение различных механиз­мов управления (открывание заслонок, включение элек­тромагнитов и т.д.).

Схемы выполняются двух основных видов:

1) с "силовым контактом";

2) с "сеточным контактом" (разгрузочного ти­па).

В схемах первого вида предусматривается такое включение ЭКД в исполнительную схему, при котором управляемые контакты непосредственно включают в цепь исполнительные реле, сигнальные лампы и т.п.

В схемах с "сеточным контактом" ЭКД включается в цепь сетки электронной лампы, а исполнительный орган (реле) - в анодную цепь лампы. Такие схемы более удобны, хотя и более сложны. Разделение цепей измери­тельных контактов и контактов исполнительного органа дает возможность подбирать параметры этих цепей та­ким образом, чтобы получать наивыгодный режим рабо­ты как измерительных контактов ЭКД, так и контактов управления исполнительным органом.

Примером схем первого типа может служить элек­трическая схема светофорного блока к эльмиллимессу фирмы "Карл-Цейс" (рис. 2.10).

Применяется для ЭКД с большим передаточным от­ношением (эльмиллимесс и эльцентимесс).

В блоке, предназначенном для подключения эльмиллимесса, контакты датчика включены по схеме силового контакта в цепь постоянного тока с типовым поляризо­ванным реле, контактные пары Р 1 и Р 2 которого вклю­чают лампы Л1, Л2 и Л3 светофора. Поляризованное ре­ле имеет дополнительную контактную пару для подклю­чения исполнительного устройства, которая получает ко­манду в момент замыкания одного из контактов дат­чика. Зажимы от дополнительных контактов реле выве­дены на гнездо на задней стенке корпуса блока. Контак­ты выдерживают напряжение 24 В, ток 2 А. Блок пита­ется от сети переменного тока. На контакты датчика подается напряжение 6 В при силе тока 1400 мкА.

Пример схем с "сеточным контактом" - схема светофорного блока модели БВ-1058 (рис. 2.11).

Блок БВ-1058 предназначен для работы с многомер­ными датчиками (предельные и амплитудные). Пред­ставляет собой набор блоков, число которых равно количеству проверяемых параметров. Для переключения с предельного режима на амплитудный служит переклю­чатель В 2. При разомкнутых контактах ЭКД лампа 6Н5П заперта отрицательным напряжением 10 В. Ток через лампу не идет, и реле 1 P и 2 P обесточены.

Рис. 2.10. Схема включения электроконтактного

преобразо­вателя с "силовым контактом"

 

При замыкании одного из контактов ЭКД на сетку подается нулевой потенциал, лампа отпирается, реле срабатывает.

 

Рис. 2.11. Схема включения светофорного

блока мод. БВ-1058

При срабатывании реле происходит переключение контактов реле Р1 и Р2, которые переключают лампы Л1, Л2, Л3.

При работе с амплитудным датчиком реле 1P и ставятся на самопитание для запоминания сигнала. По окончании измерения реле обесточивается кнопкой КУ.

Блоки этого типа делятся на основные и приставные. Сборка производится с помощью разъемов. Блок основной - блок питания - рассчитан на 10 приставных бло­ков. Последний включает в себя усилитель и сигналь­ную часть.

Напряжение и величина тока на контактах ЭКД 10 В*0,02 мА. Габаритные размеры: 115*230*110 мм - основной блок; 115*230*46 мм - приставной блок.

 




Поделиться с друзьями:


Дата добавления: 2014-01-07; Просмотров: 3214; Нарушение авторских прав?; Мы поможем в написании вашей работы!


Нам важно ваше мнение! Был ли полезен опубликованный материал? Да | Нет



studopedia.su - Студопедия (2013 - 2025) год. Все материалы представленные на сайте исключительно с целью ознакомления читателями и не преследуют коммерческих целей или нарушение авторских прав! Последнее добавление




Генерация страницы за: 0.012 сек.