Студопедия

КАТЕГОРИИ:


Архитектура-(3434)Астрономия-(809)Биология-(7483)Биотехнологии-(1457)Военное дело-(14632)Высокие технологии-(1363)География-(913)Геология-(1438)Государство-(451)Демография-(1065)Дом-(47672)Журналистика и СМИ-(912)Изобретательство-(14524)Иностранные языки-(4268)Информатика-(17799)Искусство-(1338)История-(13644)Компьютеры-(11121)Косметика-(55)Кулинария-(373)Культура-(8427)Лингвистика-(374)Литература-(1642)Маркетинг-(23702)Математика-(16968)Машиностроение-(1700)Медицина-(12668)Менеджмент-(24684)Механика-(15423)Науковедение-(506)Образование-(11852)Охрана труда-(3308)Педагогика-(5571)Полиграфия-(1312)Политика-(7869)Право-(5454)Приборостроение-(1369)Программирование-(2801)Производство-(97182)Промышленность-(8706)Психология-(18388)Религия-(3217)Связь-(10668)Сельское хозяйство-(299)Социология-(6455)Спорт-(42831)Строительство-(4793)Торговля-(5050)Транспорт-(2929)Туризм-(1568)Физика-(3942)Философия-(17015)Финансы-(26596)Химия-(22929)Экология-(12095)Экономика-(9961)Электроника-(8441)Электротехника-(4623)Энергетика-(12629)Юриспруденция-(1492)Ядерная техника-(1748)

Основы работы ядерных реакторов




Хотя каждый нейтрон, образовавшийся в результате акта деления, в принципе, может вызвать следующее деление, на практике этого не происходит - нейтроны могут вылететь за пределы активного объёма (при этом вводится понятие так называемого критического объёма, принцип которого проиллюстрирован на схеме ниже), или могут быть поглощены неделящимися материалами.

Понятие критического размера. (а) размер активной зоны меньше критического – вторичные нейтроны вылетают, не начиная новые реакции деления. (b) вторичные нейтроны начинают реакции деления – идёт цепная реакция.

Таким образом цепная реакция может принять одну из трёх форм, в зависимости от среднего количества нейтронов, образующихся при каждом акте деления, которые эффективны для распространения цепной реакции (kэфф.):

Если kэфф. > 1, то скорость делений увеличивается спонтанно, пока не будет снижена вследствие потерь. Это является принципом действия атомной бомбы. Если kэфф. велико, то вследствие очень коротких промежутков между актами деления (менее 0,01 микросекунды) энергия выделяется в виде взрыва.

Если kэфф. < 1, то реакцию можно начать с помощью внешних нейтронов, но более или менее быстро реакция закончится.

Если kэфф. = 1, условие, которое описывается как критичность, то реакция продолжается с постоянной скоростью. Это является условием работы атомного реактора.

Для того, чтобы цепная реакция развивалась нормально, необходимо учесть ряд условий:

■ массу делящегося материала

■ геометрию

■ спектр нейтронов (энергетический)

■ физическое расположение делящегося материала и замедлителя

■ присутствие поглотителей нейтронов.

Выбор замедлителя. Обычная вода дешёвая и может быть использована для передачи тепла от реактора на турбину генератора. Графит и тяжёлая вода поглощают меньше нейтронов на каждый замедленный, поэтому им отдаётся предпочтение при использовании природного или низкообогащённого урана. Однако ядра D и С соответственно в 2 и 12 раз тяжелее нейтрона, поэтому количество передаваемой энергии при столкновении меньше и требуется большая протяженность замедлителя.

Механизм обратной связи. Атомный реактор должен работать стабильно. Основой стабильной работы атомного реактора является отрицательная обратная связь (отрицательная реактивность), механизм автоматического отклика системы, который старается погасить любое возмущение, в данном случае нежелательное увеличение выделяющейся энергии либо во всей активной зоне, либо в каком-либо её участке. Температурные эффекты предоставляют два подобных механизма. В топливе нейтроны могут быть поглощены атомами U-238 или вызвать деление ядер U-235. Отношение поглощения к делению резко возрастает с повышением температуры. Поэтому если увеличивается скорость реакций деления, вызываемый ею рост температуры снижает количество вызываемых делений и, таким образом, выступает в виде самоограничивающего фактора. Аналогично, увеличение температуры замедлителя повышает энергию замедленных нейтронов, что означает, что вероятность вызывания ими последующих делений снижается. Это также приводит к уменьшению выделения энергии в активной зоне. Дополнительные эффекты могут проявиться в так называемо переходном состоянии реактора. Например, продукт деления I-135 с периодом полураспада 7 часов распадается с образованием сильного нейтронного яда (поглотителя нейтронов) Xe-135, который, в свою очередь имеет период полураспада 9 часов. Ни его дочерний продукт Cs-135, ни продукт реакции захвата Xe-136 не обладают высоким сечением захвата нейтронов. В процессе нормальной работы реактора количество Xe-135 поддерживается на определённом постоянном уровне, но при остановке реактора его количество начинает быстро возрастать и достигает максимума примерно за 10 часов. При повторном запуске реактора важно учитывать необходимость выжигания Xe-135. Ксеноновое отравление является серьезным фактором при конструировании реакторов, особенно в таких специализированных областях, как атомные подводные лодки, где возможность преодолеть влияние накопленного ксенона-135 в любое время является важным аспектом работы. Ксеноновое отравление явилось одним из факторов, приведшим к аварии на Чернобыльской АЭС, когда неправильная работа операторов при компенсации накопления Хе-135 привела к неустойчивой работе реактора.

Управление реактором. Следует упомянуть два момента. Первое, конструкция реактора должна обеспечивать возможность его работы на постоянном уровне мощности. Второе, должна быть обеспечена возможность остановки реактора, как рутинная (для обслуживания или перезагрузки топлива), так и в чрезвычайных ситуациях. Обеспечение безопасной работы в значительной степени упрощается так называемыми запаздывающими нейтронами. Большая часть нейтронов, образующихся при делении ядер, вылетает более или менее мгновенно, но некоторые (чуть менее 1 %) вылетают с задержкой от нескольких секунд до нескольких минут. Конструктор обычно обеспечивает то, что реактор не может достичь критичности без вклада запаздывающих нейтронов. Эта задержка замедляет отклик реактора на небольшие возмущения kэфф. и даёт возможность и время для применения и срабатывания контрольных механизмов и устройств.

Тепло радиоактивного распада. Необходимость гарантии безопасной остановки цепной ядерной реакции является очевидным аспектом безопасности ядерного реактора. Одна из самых больших проблем только косвенно связана с цепной реакцией. При работе реактора примерно 7% выделяющегося тепла образуется в результате деления ядер под воздействием запаздывающих нейтронов и в результате радиоактивного распада продуктов деления и трансурановых элементов. При остановке цепной реакции этот источник тепла остаётся (продолжительность определяется периодами полураспада изотопов). В современном реакторе общей тепловой мощностью 3000 МВт количество тепла, выделяющегося в первые минуты в результате распада продуктов деления может составлять примерно 200 МВт. Конструкция реактора должна обеспечивать эффективный отвод этого тепла. Отсутствие адекватного потока охлаждающей воды после автоматической остановки реактора послужило причиной аварии на атомной станции Три Майл Айлэнд в США в 1979 г.

Краткая характеристика основных типов энергетических реакторов представлена в следующей таблице.

 

  ВВЭР, PWR BWR Magnox AGR CANDU РБМК
Тепловая мощность (МВт)            
Электрическая мощность (МВт)            
Тип топлива UO2 UO2 U UO2 UO2 UO2
Теплоноситель H2O H2O CO2 CO2 D2O H2O
Замедлитель H2O H2O графит графит D2O графит
Масса топлива (т U)            
Температура теплоносителя на входе, оС            
Температура теплоносителя на выходе, оС            

Реакторы типа ВВЭР, PWR и BWR были разработаны на основе реакторов для ядерных подводных лодок. Реакторы типа Magnox and CANDU (использующие уран естественного изотопного состава) были разработаны, когда Великобритания и Канада не осуществляли разделение изотопов урана в промышленном масштабе. Реактор AGR является естественным продолжением Magnox. Реактор РБМК был разработан на основе конструкции реакторов, использовавшихся для наработки плутония.

Водо-водяные реакторы, работающие под давлением, составляют примерно 60 % от всех коммерческих энергетических реакторов. Они состоят их компактной активной зоны, расположенной в оболочке, способной работать под давлением, и заполненной водой под высоким давлением. Активная зона состоит из 157-241 топливной (тепловыделяющей) сборки с 200-300 индивидуальными ТВЭлами в каждой, 24 направляющих трубок для контрольных стержней и центральной трубки для детектора нейтронов. Продукты деления остаются в топливных таблетках внутри оболочки ТВЭлов. Перезагрузка топлива происходит с 1-2 годичным интервалом, когда четверть ТВС заменяют на свежие.

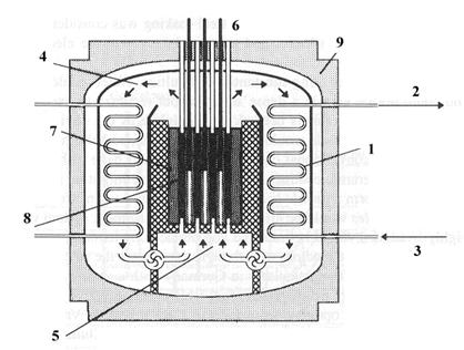
Схема устройства реактора типа ВВЭР или PWR.
1 – выход пара, 2 – конденсат, 3 – управляющие стержни, 4 – корпус, 5 – парогенератор, 6 – горячая вода, 7 – охлаждённая вода, 8 – топливо (UO2 в циркониевой оболочке)

Реакторы с кипящей водой имеют много общего с водо-водяными реакторами. Воде, проходящей через активную зону, дают закипеть. Контрольные стержни вводят в реактор снизу. Перезагрузка топлива происходит с интервалом 12 – 18 месяцев. Реакторы этого типа очень сильно зависят от выгорающих поглотителей.

Схема устройства реактора типа BWR.
1 – вход теплоносителя, 2 – выход теплоносителя, 3 – корпус, 4 – сушка пара, 5 – управляющие стержни, 6 – топливо (UO2 в циркониевой оболочке), 7 – парогенератор, 8 – бассейн обслуживания

Газоохлаждаемые реакторы разработаны для коммерческого использования только в Великобритании. Топливо может быть металлическим или оксидным. В качестве замедлителя использован графит, в качестве теплоносителя – углекислый газ.

Схема устройства реактора Magnox.

1 – парогенератор, 2 – выход пара, 3 – конденсат, 4 – горячий углекислый газ, 5 – охлаждённый углекислый газ, 6 – управляющие стержни, 7 – графитовый замедлитель, 8 – металлическое топливо (уран в магниевом сплаве), 9 – бетонная защита, 10 – стальной корпус

Схема устройства реактора AGR.

1 – парогенератор, 2 – выход пара на турбогенератор, 3 – конденсат, 4 – горячий углекислый газ, 5 – теплоноситель (углекислый газ), 6 – управляющие стержни, 7 – графитовый замедлитель, 8 –топливо (диоксид урана в нержавеющей стали), 9 – бетонный корпус

Тяжеловодяные реакторы – имеется только один вид такого типа реакторов, канадский реактор CANDU. В качестве замедлителя используется D2O. Это делает CANDU наиболее эффективной системой в плане использования нейтронов.

Схема реактора CANDU.

1 – управляющие стержни, 2 – корпус, заполненный замедлителем (тяжёлой водой), 3 – трубки подачи теплоносителя, 4 – каналы в корпусе, 5 – трубка теплоносителя, 6 – газовое пространство, 7 – ТВС (37 трубок из циркониевого сплава с таблетками диоксида урана)

Водоохлаждаемые реакторы с графитовым замедлителем (РБМК). Всего было построено 27, размер реактора 7 м высота и 12 м диаметр. Оксидное топливо содержит обогащённый уран. Поскольку замедление происходит почти исключительно за счёт твёрдого графита, то любые неоднородности (пустоты), возникающие в поглощающем нейтроны теплоносителе повышают реактивность, приводя к повышению температуры, возрастающему кипению и так далее – т.е. имеет место положительная обратная связь. После Чернобыльской аварии реакторы этого типа были модифицированы, чтобы предотвратить возникновение подобных случаев, главным образом за счёт использования топлива с более низкой степенью обогащения.

Энергетические реакторы на быстрых нейтронах используют минимальное количество замедлителя, так что кинетическая энергия нейтронов остаётся высокой. Излишние нейтроны могут быть использованы для превращения материала воспроизводства в делящийся материал. Если на каждый делящийся атом образуется хотя бы один новый атом, способный к делению, то система становится размножителем (бридером). Превращая U-238 в Pu-239 бридер, теоретически, способен произвести в 50 раз больше энергии на килограмм урановой руды, чем система на тепловых нейтронах, и также практически становится самообеспечивающейся по топливу. Быстрые нейтроны могут вызывать деление всех изотопов урана и плутония, в то время как тепловые нейтроны эффективны в делении только изотопов с нечётными массовыми числами.




Поделиться с друзьями:


Дата добавления: 2014-01-07; Просмотров: 1406; Нарушение авторских прав?; Мы поможем в написании вашей работы!


Нам важно ваше мнение! Был ли полезен опубликованный материал? Да | Нет



studopedia.su - Студопедия (2013 - 2026) год. Все материалы представленные на сайте исключительно с целью ознакомления читателями и не преследуют коммерческих целей или нарушение авторских прав! Последнее добавление




Генерация страницы за: 0.012 сек.