Студопедия

КАТЕГОРИИ:


Архитектура-(3434)Астрономия-(809)Биология-(7483)Биотехнологии-(1457)Военное дело-(14632)Высокие технологии-(1363)География-(913)Геология-(1438)Государство-(451)Демография-(1065)Дом-(47672)Журналистика и СМИ-(912)Изобретательство-(14524)Иностранные языки-(4268)Информатика-(17799)Искусство-(1338)История-(13644)Компьютеры-(11121)Косметика-(55)Кулинария-(373)Культура-(8427)Лингвистика-(374)Литература-(1642)Маркетинг-(23702)Математика-(16968)Машиностроение-(1700)Медицина-(12668)Менеджмент-(24684)Механика-(15423)Науковедение-(506)Образование-(11852)Охрана труда-(3308)Педагогика-(5571)Полиграфия-(1312)Политика-(7869)Право-(5454)Приборостроение-(1369)Программирование-(2801)Производство-(97182)Промышленность-(8706)Психология-(18388)Религия-(3217)Связь-(10668)Сельское хозяйство-(299)Социология-(6455)Спорт-(42831)Строительство-(4793)Торговля-(5050)Транспорт-(2929)Туризм-(1568)Физика-(3942)Философия-(17015)Финансы-(26596)Химия-(22929)Экология-(12095)Экономика-(9961)Электроника-(8441)Электротехника-(4623)Энергетика-(12629)Юриспруденция-(1492)Ядерная техника-(1748)

Погоризонтный способ подготовки




 

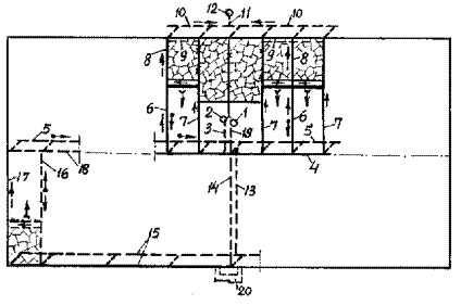
Сущность погоризонтной подготовки заключается в том, что шахтное поле делится по падению главными (магистральными) штреками на выемочные ступени (горизонты), которые в свою очередь по простиранию делятся на выемочные полосы (рис. 4.7). Отработка выемочных полос производится лавами по восстанию или падению. В каждой полосе может быть одна или две лавы и в редких случаях больше.

Само название способа "погоризонтный" не совсем точно и справедливо лишь для случаев, когда в горизонте, как части шахтного поля, находится одна выемочная ступень, обычно бремсберговая. Однако в силу привычки термин этот укоренился и теперь является общепринятым.

Порядок отработки выемочных полос в горизонте может быть прямым, обратным и комбинированным. Рекомендуется (как приведено на рис. 3.13) в бремсберговой ступени применять прямой порядок отработки для сокращения объемов проведения выработок (главных штреков), а следовательно, сроков и капитальных затрат на период пуска шахты в эксплуатацию, а в уклонной части — обратный порядок с целью использования находящихся до последнего момента времени в рабочем состоянии главных штреков и их погашения по мере отработки уклонной ступени.

 

 

Рис.4.7. Погоризонтный способ подготовки шахтного поля: 1, 2 — ствол соответственно главный и вспомогательный; 3 — капитальный транспортный квершлаг; 4, 5 — главный (магистральный) транспортный штрек соответственно пластовый и полевой; 6 — выемочный бремсберг; 7 — воздухоподающий ходок; 8 — вентиляционный ходок; 9 — разрезной просек; 10 — главный полевой вентиляционный штрек; 11 — вентиляционный квершлаг; 12 вентиляционный ствол; 13 — центральный уклон; 14 — ходок центрального уклона; 15 — главный дренажный штрек полевой и пластовый; 16 — выемочный уклон; 17 — вентиляционный ходок; 18 — главный вентиляционный штрек для проветривания уклонного поля; 19 ‑ главный вентиляционный квершлаг

 

Комбинированный порядок отработки выемочных полос в крыле ступени применяется в одних случаях для увеличения фронта очистных забоев, в других — для обеспечения возможности проведения выемочных выработок при подготовке столбов в полосе вприсечку к выработанному пространству (подробнее об этом смотри в разделе 4 "Системы разработки...").

Подготовка пласта начинается с проведения главных штреков на длину, обеспечивающую возможность подготовки первых выемочных полос. Как на транспортном, так и вентиляционном горизонтах обычно проводят по два сдвоенных штрека. Поскольку для удобства колесного транспорта штреки должны находиться на одном уровне, один из них располагается по пласту, а второй — по пустым породам в почве пласта. В случае слабых боковых пород пласта оба штрека проводятся полевыми.

Для подготовки уклонной ступени посредине ее проводятся центральный уклон с ходком и сооружается водоотливный комплекс, включающий насосную камеру, электроподстанцию и водосборники. По завершении их сооружения проводятся также сдвоенные главные дренажные штреки до границ шахтного поля. К этому времени заканчивается отработка бремсберговой ступени и осуществляется подготовка выемочных полос в уклонной ступени, которые будут отрабатываться обратным порядком, как показано на рис. 3.13.

Транспорт угля по главным штрекам производится либо в вагонетках электровозами, либо ленточными конвейерами. При больших размерах шахтного поля более предпочтителен колесный транспорт, позволяющий выполнять одновременно функции главного и вспомогательного транспорта.

Схема транспорта (по рис. 3.13):

при отработке бремсберговой ступени: лава-6-5-3-1;

при отработке уклонной ступени: лава-16-5-3-1.

Если отработка выемочных полос в уклонном поле ведется сверху вниз (при мощности пласта свыше 2,0 м), то в качестве транспортных используются один из главных дренажных штреков и центральный уклон.

Схема проветривания шахтного поля (по рис.3.13):

для бремсберговой ступени: 2-3-4[2]-7-лава-8-10-11-12 с подсвежением струи по 6;

для уклонной ступени: 2-3-5-16-лава-17-18-19-1.

В случае необходимости сонаправленного проветривания с подсвежением исходящей струи в уклонном поле в качестве вентиляционных выработок используются главный дренажный штрек и ходок центрального уклона.

Достоинства погоризонтного способа подготовки:

простота подготовки и схем транспортирования угля и проветривания;

небольшой объем подготавливающих выработок и небольшие капитальные затраты на их проведение;

более короткий период подготовки пластов;

обеспечивается постоянство длины лавы, обусловленное тем, что выемочные выработки проводятся по направлению, т.е. строго прямолинейно, и при этом обеспечивается необходимый уклон для стока воды. Стабильность длины лавы важна при применении механизированных комплексов, поскольку при изменяющейся длине приходится или удалять из забоя часть секций крепи, или, напротив, наращивать их;

прямолинейность выемочных выработок обеспечивает возможность применения конвейерного транспорта на участке;

возможность отработки пластов с любыми водопритоками при выемке по восстанию;

при выемке по падению повышается устойчивость забоя от вывалов кусков угля и снижается вероятность возникновения выбросов угля и газа.

Недостатки погоризонтного способа подготовки:

ограниченность области применения по углу падения пластов;

несколько сложнее проведение и эксплуатация наклонных выемочных выработок.

Область применения погоризонтного способа подготовки — пласты с углами падения до 10° и следующей регламентацией мощности и обводненности:

для необводненных пластов — до 2 м с выемкой лавами по восстанию и неограниченной мощностью с выемкой по падению;

для обводненных пластов — до 2 м в выемкой по восстанию[3].

Перспективы применения погоризонтного способа подготовки благоприятные. Вследствие выполаживания пластов с глубиной область применения способа возрастает. Более широкому его применению в настоящее время препятствует отсутствие эффективных средств выемки угля в очистных забоях, работающих по восстанию и падению. С созданием таких средств (а такая задача, надо полагать, будет решена) объем применения погоризонтной подготовки значительно возрастет. В связи с крупными преимуществами способа его стремятся применять сейчас и на пластах с углами падения несколько более 10°, располагая выемочные полосы (столбы) под некоторым углом к линии падения (по диагонали) таким образом, чтобы пространственный угол расположения забоя не превышал 10°.

 




Поделиться с друзьями:


Дата добавления: 2014-01-07; Просмотров: 5124; Нарушение авторских прав?; Мы поможем в написании вашей работы!


Нам важно ваше мнение! Был ли полезен опубликованный материал? Да | Нет



studopedia.su - Студопедия (2013 - 2026) год. Все материалы представленные на сайте исключительно с целью ознакомления читателями и не преследуют коммерческих целей или нарушение авторских прав! Последнее добавление




Генерация страницы за: 0.011 сек.