Студопедия

КАТЕГОРИИ:


Архитектура-(3434)Астрономия-(809)Биология-(7483)Биотехнологии-(1457)Военное дело-(14632)Высокие технологии-(1363)География-(913)Геология-(1438)Государство-(451)Демография-(1065)Дом-(47672)Журналистика и СМИ-(912)Изобретательство-(14524)Иностранные языки-(4268)Информатика-(17799)Искусство-(1338)История-(13644)Компьютеры-(11121)Косметика-(55)Кулинария-(373)Культура-(8427)Лингвистика-(374)Литература-(1642)Маркетинг-(23702)Математика-(16968)Машиностроение-(1700)Медицина-(12668)Менеджмент-(24684)Механика-(15423)Науковедение-(506)Образование-(11852)Охрана труда-(3308)Педагогика-(5571)Полиграфия-(1312)Политика-(7869)Право-(5454)Приборостроение-(1369)Программирование-(2801)Производство-(97182)Промышленность-(8706)Психология-(18388)Религия-(3217)Связь-(10668)Сельское хозяйство-(299)Социология-(6455)Спорт-(42831)Строительство-(4793)Торговля-(5050)Транспорт-(2929)Туризм-(1568)Физика-(3942)Философия-(17015)Финансы-(26596)Химия-(22929)Экология-(12095)Экономика-(9961)Электроника-(8441)Электротехника-(4623)Энергетика-(12629)Юриспруденция-(1492)Ядерная техника-(1748)

Турбобури

Для буріння нафтових і газових свердловин застосовують гідравлічні та електричні вибійні двигуни, які перетворюють відповідно гідравлічну енергію промивальної рідини або електричну енергію в механічну на вихідному валу двигуна.

Класифікація вибійних двигунів

ВИБІЙНІ ДВИГУНИ

 

Гідравлічні вибійні двигуни випускають двох типів:

1 - Гідродинамічного – турбобури;

2 - Гідростатичного – гвинтові двигуни.

Електричні вибійні двигуни одержали назву електробурів.

Турбобур – вибійний гідравлічний двигун, в якого гідравлічна енергія потоку промивальної рідини перетворюється в механічну роботу вихідного валу, до якого приєднується долото. Як гідравлічний двигун у турбобурі використовується багатоступінчаста осьова турбіна.

У практиці буріння використовують такі турбобури:

– односекційні типу Т12;

– секційні;

– шпиндельні;

– високомоментні (з похилою лінією тиску);

– колонкові (для буріння з відбором керна);

– для буріння похилих свердловин;

– редукторні;

– реактивно-турбінні бури (РТБ).

Односекційні турбобури (рисунок 4.1) застосовуються при бурінні вертикальних і похилих свердловин невеликої глибини. Для буріння похилих свердловин застосовують також укорочені турбобури.

Основні частини турбобура – турбіна, вал, корпус і гумово-металічні підшипники ковзання, які використовують як радіальні і осьові опори, що успішно працюють при змащуванні їх промивальною рідиною.

 

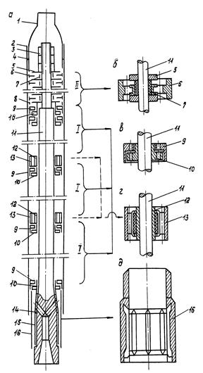
а - турбобур в зібраному вигляді;

б - одна ступінь верхньої радіально-упорної опори;

в - одна ступінь турбіни;

г - середня опора;

д - ніпель;

1 - перевідник;

2 - корпус турбобура;

3 - гайка;

4 - розпірна втулка;

5 - диск п’яти;

6 - підп’ятник;

7 - кільця п’яти;

8 - регулювальне кільце;

9 - статор;

10 - ротор;

11 - вал;

12 - втулка середньої опори;

13 - середня опора;

14 - упорне кільце;

15 - втулка нижньої опори;

16 - ніпель

 

Рисунок 4.1 – Схема односекційного турбобура

 


Турбіна турбобура багатоступенева, осьова. Кожна ступінь складається із статора, закріпленого в корпусі, і ротора, закріпленого на валі. На нижній кінець вала при бурінні нагвинчується долото, а зверху над турбобуром установлюють колону бурильних труб.

Промивальна рідина, яка протікає через турбобур до долота, спочатку омиває п’яту, що служить радіально-упорним підшипником турбобура. При цьому промивальна рідина змащує і охолоджує деталі п’яти, потім поступає в турбіну, направляється всередину вала і дальше до долота у вибій свердловини. Крім п’яти в турбобурі є декілька радіальних підшипників, причому нижній, називається ніпелем, виконує також роль сальника, направляючи рідину всередину вала.

Секційні турбобури типу ТС складаються з двох і більше секцій, які з’єднані між собою послідовно з допомогою конічних муфт.

Шпиндельні турбобури дозволяють покращити енергетичні характеристики турбобура, оскільки в них осьова опора винесена в окрему нижню секцію-шпиндель.

Високомоментні турбобури дозволяють за рахунок профілю лопаток одержати більший крутний момент при зменшенні швидкості обертання.

Колонкові турбобури. дозволяють відбирати керн і відрізняються від односекційних тим, що в них вал, до якого через перевідник приєднується бурильна головка є пустотілий. Всередині пустотілого вала розміщується зйомник керноприймач.

Редукторні турбобури типу ТР забезпечують передачу зменшеної частоти обертання і підвищеного крутного моменту.

Реактивно-турбінні бури (РТБ) використовуються для буріння свердловин великого діаметра (від 394 до 2600 мм). Вибійний агрегат для РТБ являє собою два або три (іноді і чотири) одночасно працюючих турбобури типу Т12, які розміщені паралельно і жорстко з’єднані між собою.

 

<== предыдущая лекция | следующая лекция ==>
Техніко-економічні показники роботи бурових доліт | Гвинтові вибійні двигуни
Поделиться с друзьями:


Дата добавления: 2014-01-07; Просмотров: 987; Нарушение авторских прав?; Мы поможем в написании вашей работы!


Нам важно ваше мнение! Был ли полезен опубликованный материал? Да | Нет



studopedia.su - Студопедия (2013 - 2026) год. Все материалы представленные на сайте исключительно с целью ознакомления читателями и не преследуют коммерческих целей или нарушение авторских прав! Последнее добавление




Генерация страницы за: 0.013 сек.