Студопедия

КАТЕГОРИИ:


Архитектура-(3434)Астрономия-(809)Биология-(7483)Биотехнологии-(1457)Военное дело-(14632)Высокие технологии-(1363)География-(913)Геология-(1438)Государство-(451)Демография-(1065)Дом-(47672)Журналистика и СМИ-(912)Изобретательство-(14524)Иностранные языки-(4268)Информатика-(17799)Искусство-(1338)История-(13644)Компьютеры-(11121)Косметика-(55)Кулинария-(373)Культура-(8427)Лингвистика-(374)Литература-(1642)Маркетинг-(23702)Математика-(16968)Машиностроение-(1700)Медицина-(12668)Менеджмент-(24684)Механика-(15423)Науковедение-(506)Образование-(11852)Охрана труда-(3308)Педагогика-(5571)Полиграфия-(1312)Политика-(7869)Право-(5454)Приборостроение-(1369)Программирование-(2801)Производство-(97182)Промышленность-(8706)Психология-(18388)Религия-(3217)Связь-(10668)Сельское хозяйство-(299)Социология-(6455)Спорт-(42831)Строительство-(4793)Торговля-(5050)Транспорт-(2929)Туризм-(1568)Физика-(3942)Философия-(17015)Финансы-(26596)Химия-(22929)Экология-(12095)Экономика-(9961)Электроника-(8441)Электротехника-(4623)Энергетика-(12629)Юриспруденция-(1492)Ядерная техника-(1748)

Мультивібраторы




.

.

 

Слід нагадати, що вхідний струм ОП завжди значно менший струму,

який тече колом зворотного зв’язку. Через це струм конденсатора дорівнює струму, що протікає через опір R, тому:

 

З цієї формули можна одержати рівняння, яке з’єднує вхідну Ux і вихідну Uy напруги інтегратора:

.

Як відомо, геометрично інтеграл можна інтерпретувати як площу фігури, утвореної графіком підінтегральної функції і віссю абсцис. Ця площа називається вольт-секундною, якщо підінтегральна функція є залежністю напруги від часу. Отже, вихідна напруга інтегратора пропорційна вольт- секундній площі вхідної напруги.

Якщо вхідна напруга є постійною величиною, то вихідна напруга визначається як:

або

Виходячи з цього, можна легко одержати графік перехідної характеристики інтегратора (рис.8.19.), тобто залежності його вихідної напруги від часу у випадку, якщо вхідна напруга є одиничним стрибком нескінченної тривалості

 

Рис.8.19.

Швидкість зміни вихідної напруги пропорційна амплітуді напруги Ux і обернено пропорційна до добутку RC:

 

 

 

Вихідна напруга інтегратора незмінна, тільки якщо вхідна напруга дорівнює нулеві. Ця властивість інтеграторів широко використовується в електронних системах автоматичного регулювання.

Роботу неінвертуючого інтегратора (рис. 8.20) розглянемо враховуючи, що ОП охоплений негативним зворотним зв’язком, а тому на обох входах ОП напруга дорівнює UX.

Рис.8.20.

Струм через конденсатор матиме таку залежність від вхідної та вихідної напруги:

 

IC = C .

Оскільки по резистору R та конденсатору С протікає один і той же струм (вхідним струмом ОП нехтуємо)

 

UX = IC ∙ R.

З цього витікає такий вираз:

 

UX = RC- RC

 

і тому UУ = + UX

 

Вихідна напруга неінвертуючого інтегратора пропорційна сумі вхідної напруги та інтеграла від неї.

Якщо вхідна напруга Ux є постійною величиною, то вихідна напруга Uy визначається як:

 

або

Звідки одержуємо графік перехідної характеристики неінвертуючого інтегратора (рис.8.21):

Рис.8.21.

В разі потреби повернути вихідну напругу інтегратора Uy до нульового значення необхідно розрядити конденсатор С. Для цього в інтеграторах передбачають включені паралельно конденсатору електронні ключі, відкриваючи які можна достатньо швидко розрядити конденсатор. Якщо операція обнуління Uy виконується не дуже часто, замість електронного ключа можна використовувати контактний пристрій.

Мультивібратор (від латинських слів multira — багато і vibro — коливаю) – генератор, релаксації імпульсів майже прямокутної форми, виконаний у вигляді підсилювального пристрою з ланцюгом позитивного зворотного зв'язку (ПОС). Розрізняють два види мультивібраторів автоколивальні (не володіють станом стійкої рівноваги) і чекаючі (володіють одним станом стійкої рівноваги і тому часто називаються одновибраторы).

Принцип функціонування мультивібраторів розглянемо на прикладі схеми з колекторно-базовими зв'язками. Схема автоколивального мультивібратора даного типа приведена на рис. 8.22.

Рис.8.22. Схема симетричного мультивібратора

Дана схема фактично повторює схему симетричного тригера. Відмінність полягає лише в тому, що зв'язки між схемами комутації, як пряма, так і зворотна, виконані не по постійному, а по змінному струму. Це якісно міняє властивості пристрою, оскільки на відміну від симетричного тригера у схеми немає стійких станів рівноваги, в яких вона знаходиться скільки завгодно тривалий час. Натомість існують два стани квазістійкої рівноваги, в кожному з яких схема може знаходитися строго фіксований час. Цей час залежить від перехідних процесів, що протікають в схемі. Тому в стані квазістійкої рівноваги струми і напруги елементів схеми в загальному випадку не залишаються постійними. Робота пристрою зводиться до постійної сміху цих станів, що супроводжується формуванням на виході напруги, близької формою до прямокутної напруги.

Роботу мультивібратора розглянемо з використанням часових діаграм, приведених на рис.8.23.

Припустимо, що у момент tо відбувається чергове перемикання мультивібратора, і транзистор VT1 потрапляє в режим насичення, а VT2 — у режим відсічення. З цієї миті в схемі починають протікати два самостійні процеси, пов'язані з перезарядом ємностей С1 і С2.

До моменту tо, конденсатор С2 повністю розряджений і після насичення транзистора VT1 починається заряд цього конденсатора через резистор RK2.

Оскільки конденсатор С2 через емітерний перехід насиченого транзистора VTI шунтує коллекторно-емітерні виведення транзистора VT2, то процес його заряду визначає швидкість зміни колекторної напруги транзистора VT2. Вважаючи, що процес заряду закінчується в момент Uс2=0,9 Un для тривалості фронту колекторної напруги транзистора справедливо вираз

Рис.8.23. Часові діаграми, що пояснюють роботу мультивібратора.

 

Другий процес в схемі пов'язаний з розрядом раніше зарядженого майже до напруги живлення Un конденсатора С1. Цей розряд відбувається через насичений транзистор VT1, джерело живлення Un і резистор Rб2. Оскільки VТ1 насичений, то Uбе2 = Uc1 і VT2 надійно замкнутий.

Процес розряду конденсатора С1 закінчується в мить, коли Uc1 = 0 і тривалість розряду конденсатора, а тим самим і тривалість імпульсу визначається выраженим:

Аналогічно одержуємо:

З даного виразу визначаємо тривалість періоду і, відповідно, частота повторення імпульсів на виході мультивібратора.

.

У симетричній схемі: тому одержуємо:

Частота вихідної напруги симетричного автоколивального мультивібратора не залежить від напруги живлення і повністю визначається параметрами його елементів.

Чекаючий мультивібратор.

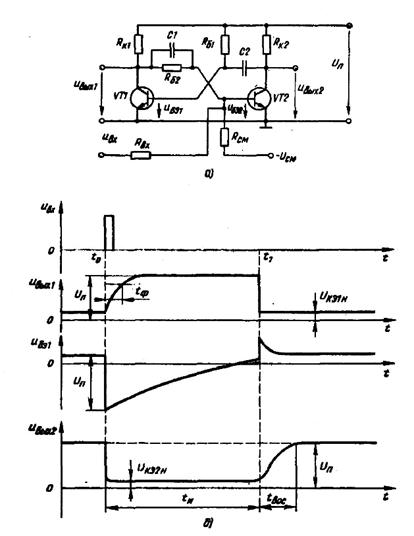
Для перекладу розглянутої схеми в режим чекаючого мультивібратора необхідно, щоб один з його квазістійких станів рівноваги став стійким. Цього можна добитися, якщо, наприклад, хоч би один зв'язок між схемами комутації по змінному струму замінити зв'язком по постійному струму. Схема такого пристрою приведена на мал. 12.2, а..

Стійким є стан, при якому транзистор VT1 насичений струмом, що протікає через резистор Rб1. При цьому конденсатор С2 заряджений практично до напруги живлення, а конденсатор С1 розряджений. Транзистор VT2 замкнутий, що забезпечується подачею на його емітерний перехід через резистор Rсм напруги зсуву (—Uсм ). Очевидно, що цей стан может.сохраняться скільки завгодно довго, оскільки при цьому струми і напруги всіх елементів схеми незмінні в часі.

Запуск чекаючого мультивібратора здійснюється подачею на емітерний перехід транзистора VT2 через резистор Rвх імпульсу позитивної полярності. Параметри цього імпульсу (амплітуда і тривалість) вибираються з умови короткочасного прочинення транзистора VT2. Новий стан схеми є квазістійким, оскільки воно підтримується лише до тих пір, поки на базі транзистора VT1 присутня замикаюча напруга, тобто поки не розрядиться конденсатор С2.

 

 


Р

Рис.8.24. Схема чекаючого мультивібратора (а) і часові діаграми, що пояснюють його роботу { б)

В результаті єтого визначається тривалість вихідного імпульсу:

Швидкість зміни напруги при замиканні VT1 визначається процесом заряду конденсатора З. Тому тривалість фронту:

Для повернення схеми в початковий стан необхідно якийсь час, зване часом відновлення tBOC. Цей час визначається процесом заряду конденсатора С2 до напруги живлення і визначається виразом:

Якщо наступний запускаючий імпульс з'явиться на вході схеми раніше, ніж закінчиться інтервал відновлення, на виході мультивібратора буде сформований імпульс тривалістю, меншою ніж tH, визначеної відповідно до виразу, показаного вище.

Проведений аналіз показує, що в чекаючому мультивібраторі конденсатор С2, як і в автогенераторній схемі, виконує роль времязадающего конденсатора, що визначає тривалість вихідного імпульсу всього пристрою. Конденсатор С1 є таким, що форсує. Він, як і конденсатори в трігері, лише прискорює процес перемикання транзисторів схеми і, тому може бути відсутнім.

 




Поделиться с друзьями:


Дата добавления: 2014-01-07; Просмотров: 1129; Нарушение авторских прав?; Мы поможем в написании вашей работы!


Нам важно ваше мнение! Был ли полезен опубликованный материал? Да | Нет



studopedia.su - Студопедия (2013 - 2026) год. Все материалы представленные на сайте исключительно с целью ознакомления читателями и не преследуют коммерческих целей или нарушение авторских прав! Последнее добавление




Генерация страницы за: 0.009 сек.