Студопедия

КАТЕГОРИИ:


Архитектура-(3434)Астрономия-(809)Биология-(7483)Биотехнологии-(1457)Военное дело-(14632)Высокие технологии-(1363)География-(913)Геология-(1438)Государство-(451)Демография-(1065)Дом-(47672)Журналистика и СМИ-(912)Изобретательство-(14524)Иностранные языки-(4268)Информатика-(17799)Искусство-(1338)История-(13644)Компьютеры-(11121)Косметика-(55)Кулинария-(373)Культура-(8427)Лингвистика-(374)Литература-(1642)Маркетинг-(23702)Математика-(16968)Машиностроение-(1700)Медицина-(12668)Менеджмент-(24684)Механика-(15423)Науковедение-(506)Образование-(11852)Охрана труда-(3308)Педагогика-(5571)Полиграфия-(1312)Политика-(7869)Право-(5454)Приборостроение-(1369)Программирование-(2801)Производство-(97182)Промышленность-(8706)Психология-(18388)Религия-(3217)Связь-(10668)Сельское хозяйство-(299)Социология-(6455)Спорт-(42831)Строительство-(4793)Торговля-(5050)Транспорт-(2929)Туризм-(1568)Физика-(3942)Философия-(17015)Финансы-(26596)Химия-(22929)Экология-(12095)Экономика-(9961)Электроника-(8441)Электротехника-(4623)Энергетика-(12629)Юриспруденция-(1492)Ядерная техника-(1748)

Індукційні вимірювальні прилади

В основі принципу роботи індукційних вимірювальних приладів лежить силова взаємодія між магнітними потоками електромагнітів та вихрових струмів, індукованих магніт-

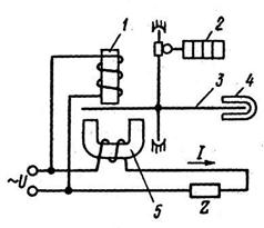
  Рис.4.10 Будова і схема ввімкнення індукційного приладу (лічильника)
ними потоками в рухомій частині вимірювального механізму, виготовленої, як правило, із легенької алюмінієвої пластини. В переважній більшості індукційних вимірювальних приладів рухома алюмінієва пластина виконується в формі диску, що має можливість вільно обертатися, і зв‘язаний з лічильником числа обертів цього диску - так побудовані відомі всім лічильники електричної енергії. Одначе, якщо рухомий елемент індукційного вимірювального механізму механічно пов’язати з пружним елементом, що створює момент протидії до

обертального індукційного моменту, то отримаємо індукційний вимірювальний прилад, подібний до звичайних, розглянутих в цьому розділі раніше, приладів.

Схематична будова індукційного вимірювального приладу (лічильника) з рухомим елементом у формі круглого диску, що вільно обертається, наведена на рис.4.10. на цьому рисунку цифрами позначено: 1 - трьохстержневий магнітопровід з обмоткою напруги; 2 - рахунковий механізм; 3 - алюмінієвий диск, закріплений на осі; 4 - постійний магніт, що створює гальмівний момент; 5 - П-подібний магнітопровід зі струмовою обмоткою.

Аналіз роботи індукційного лічильника показує, що обертальний момент, який виникає в його рухомому диску, є прямо пропорційним активній потужності змінного електричного струму, що протікає через навантаження Z (див. рис.4.10):

M = kUICosφ,

де k - деякий постійний коефіцієнт, що узгоджує розмірності виразу для обертального моменту.

На рухомий диск лічильника діє гальмівний момент, пропорційний швидкості обертання диска. Цей момент створюється як результат взаємодії магнітних полів вихрових струмів, що індукують ся в матеріалі диску під час його руху між полюсами постійного магніту 4, з магнітним полем цього ж магніту. Гальмівний момент, що індукується в рухомому диску, визначається виразом:

де k1 - постійній коефіцієнт, що узгоджує розмірності фізичних величин, що входять до складу рівняння; - кутова частота обертання диску.

Дорівнюючи обертальний та гальмівний моменти, визначимо кутову швидкість обертання диску:

Число обертів диску N за деякий час t вимірювання електричної енергії W, що пройшла через лічильник, визначиться інтегруванням по часу кутової швидкості обертання диску:

де С = k1 / k.k2 - стала лічильника; W - електрична енергія, що пройшла через лічильник протягом часу t.

Відлік енергії здійснюється за показами рахункового механізму - лічильника обертів, проградуйованого в одиницях електричної енергії. За одиницю обрахунку електричної енергії прийнято використовувати 1 кВт.год, що дорівнює роботі, яку виконує електричний струм потужністю 1 кВт протягом однієї години. Для порівняння виразимо одиницю електричної енергії через механічні та теплову одиниці: 1 кВт.год = 103 Вт.3,6.103 с = .3,6.106 Дж = 3,6 МДж = 860 ккал. Таку ж кількість теплової енергії можна отримати, якщо спалити 0,3 л нафти або 0,85 кг березових дров, або ж 90 л метану.

Як згадувалося раніше, на основі індукційного принципу вимірювання можна будувати не тільки лічильники (вимірювачі) електричної енергії, але також і ватметри (одна обмотка виконується як струмова, а друга - як обмотка напруги), і амперметри (обидві обмотки струмові, з’єднані послідовно), і вольтметри (обидві обмотки, як обмотки напруги, з’єднані паралельно). За умови, що момент протидії створюється пружними елементами (для яких виконується закон Гука) М = - kα, рівняння шкал таких приладів мають, відповідно, вигляд:

,

де СР - стала ватметра; СА - стала амперметра; СU - стала вольтметра.

Характерною особливістю індукційних вимірювальних приладів є те, що вони за своєю природою здатні вимірювати лише змінні електричні величини і принципово не реагують на дію на них постійних електричних величин. В цьому відношенні вони є мов би дзеркальними до МЕ вимірювальних приладів, особливістю яких є здатність реагувати лише на постійні електричні величини і принципово не реагувати на дію змінних електричних величин.

Серед переваг індукційних приладів можна відзначити їх надійність та невразливість збоку зовнішніх магнітних полів.

До недоліків цих приладів слід віднести залежність результатів здійснюваних за їх допомогою вимірювань від значень зовнішньої температури.

 

<== предыдущая лекция | следующая лекция ==>
Електростатичні вимірювальні прилади | Теплові вимірювальні прилади
Поделиться с друзьями:


Дата добавления: 2014-01-07; Просмотров: 5287; Нарушение авторских прав?; Мы поможем в написании вашей работы!


Нам важно ваше мнение! Был ли полезен опубликованный материал? Да | Нет



studopedia.su - Студопедия (2013 - 2025) год. Все материалы представленные на сайте исключительно с целью ознакомления читателями и не преследуют коммерческих целей или нарушение авторских прав! Последнее добавление




Генерация страницы за: 0.012 сек.