Студопедия

КАТЕГОРИИ:


Архитектура-(3434)Астрономия-(809)Биология-(7483)Биотехнологии-(1457)Военное дело-(14632)Высокие технологии-(1363)География-(913)Геология-(1438)Государство-(451)Демография-(1065)Дом-(47672)Журналистика и СМИ-(912)Изобретательство-(14524)Иностранные языки-(4268)Информатика-(17799)Искусство-(1338)История-(13644)Компьютеры-(11121)Косметика-(55)Кулинария-(373)Культура-(8427)Лингвистика-(374)Литература-(1642)Маркетинг-(23702)Математика-(16968)Машиностроение-(1700)Медицина-(12668)Менеджмент-(24684)Механика-(15423)Науковедение-(506)Образование-(11852)Охрана труда-(3308)Педагогика-(5571)Полиграфия-(1312)Политика-(7869)Право-(5454)Приборостроение-(1369)Программирование-(2801)Производство-(97182)Промышленность-(8706)Психология-(18388)Религия-(3217)Связь-(10668)Сельское хозяйство-(299)Социология-(6455)Спорт-(42831)Строительство-(4793)Торговля-(5050)Транспорт-(2929)Туризм-(1568)Физика-(3942)Философия-(17015)Финансы-(26596)Химия-(22929)Экология-(12095)Экономика-(9961)Электроника-(8441)Электротехника-(4623)Энергетика-(12629)Юриспруденция-(1492)Ядерная техника-(1748)

Нахлесточное соединение




Нахлесточное соединение выполняется с помощью угловых швов. В зависимости от формы поперечного сечения различают угловые швы: нормальные, вогнутые и выпуклые. Более распространенные нормальные швы. Выпуклый шов является причиной концентрации напряжений, вогнутый шов снижает концентрацию напряжений, но требует дополнительной механической обработки.

 
 

 


а). Нормальный шов; б). Выпуклый шов; в). Вогнутый шов

Рисунок 3 – Типы угловых швов

 

Основные геометрические характеристики углового шва – катет k и высота биссекторного сечения нормального шва h=0,7k.

В зависимости от расположения швов относительно направления действующей силы, различают швы: фланговые, лобовые, и комбинированные.

Фланговый расположен параллельно линии действия нагружающей силы, лобовой шов- перпендикулярно. Обычно применяют комбинированные соединение фланговыми и лобовыми швами одновременно.

 

Расчет фланговых швов.

 

 
 

 


Рисунок 4 - Фланговые швы

 

 

Угловые швы рассчитывают по касательным напряжениям τ. Расчетным (опасным) является биссекторное сечение. По длине шва напряжения τ распределены неравномерно; неравномерность распределения напряжений возрастает с увеличением длины шва. Рекомендуют l≤50k. Расчет таких швов выполняют по биссекторному сечению m-m и среднему напряжению τ, а условия прочности записывают в виде

τ=F/(2l·0,7k)≤[τ/].

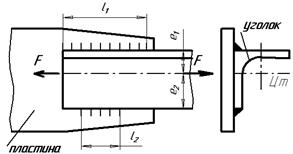
Если одна из деталей ассиметрична, то расчет прочности производят с учетом нагрузки, воспринимаемой каждым швом. Соблюдая условие равнопрочности нижнего и верхнего швов, их выполняют с различной длиной.

При этом напряжения в обоих швах

τ=F/[0,7k(l1+l2)]≤[τ/].

 

 

Рисунок 5 - Случай с ассиметричной деталью

 

 

Если соединение нагружено моментом (рис. 6), максимальные напряжения определяют по формуле.

Τ=Т/Wρ,

где Wρ – полярный момент сопротивления сечения швов в плоскости разрушения.

 

Для сравнительно коротких швов (l<b), максимальные напряжения можно определить по формуле:

τ=Т/(0,7k lb)≤[τ/].

Рисунок 6 - Соединение нагружено моментом

 

 




Поделиться с друзьями:


Дата добавления: 2014-01-07; Просмотров: 746; Нарушение авторских прав?; Мы поможем в написании вашей работы!


Нам важно ваше мнение! Был ли полезен опубликованный материал? Да | Нет



studopedia.su - Студопедия (2013 - 2026) год. Все материалы представленные на сайте исключительно с целью ознакомления читателями и не преследуют коммерческих целей или нарушение авторских прав! Последнее добавление




Генерация страницы за: 0.011 сек.