Студопедия

КАТЕГОРИИ:


Архитектура-(3434)Астрономия-(809)Биология-(7483)Биотехнологии-(1457)Военное дело-(14632)Высокие технологии-(1363)География-(913)Геология-(1438)Государство-(451)Демография-(1065)Дом-(47672)Журналистика и СМИ-(912)Изобретательство-(14524)Иностранные языки-(4268)Информатика-(17799)Искусство-(1338)История-(13644)Компьютеры-(11121)Косметика-(55)Кулинария-(373)Культура-(8427)Лингвистика-(374)Литература-(1642)Маркетинг-(23702)Математика-(16968)Машиностроение-(1700)Медицина-(12668)Менеджмент-(24684)Механика-(15423)Науковедение-(506)Образование-(11852)Охрана труда-(3308)Педагогика-(5571)Полиграфия-(1312)Политика-(7869)Право-(5454)Приборостроение-(1369)Программирование-(2801)Производство-(97182)Промышленность-(8706)Психология-(18388)Религия-(3217)Связь-(10668)Сельское хозяйство-(299)Социология-(6455)Спорт-(42831)Строительство-(4793)Торговля-(5050)Транспорт-(2929)Туризм-(1568)Физика-(3942)Философия-(17015)Финансы-(26596)Химия-(22929)Экология-(12095)Экономика-(9961)Электроника-(8441)Электротехника-(4623)Энергетика-(12629)Юриспруденция-(1492)Ядерная техника-(1748)

Чувствительность к удару

Чувствительность к удару определяют на копрах Велера и К-44-1 для ИВВ, а также К-44-2 и БК для БВВ. К-44-1 – вес груза от 200 до 500 г. ИВВ или капсюльный состав запрессовывают в колпачок от КВ. Груз сбрасывают на боек или шарик и удар передается ВВ.

К-44-2 – вес груза 10 кг. Навеска БВВ (50 или 100 мг) помещают в роликовые приборчики № 1 и № 2 без канавки и с канавкой.

Для изучения чувствительности жидких и пластичных ВВ используют прибор № 3 и № 4.

Кроме нижнего и верхнего пределов чувствительности существует устаревшая «русская проба». Это чувствительность ВВ, определенная в приборе №1. Вес груза 10 кг, высота сбрасывания груза 25 см.

Существует еще большой копер БК, который позволяет испытывать 3 грамма БВВ (сравнительно малочувствительных).

Вес груза может составлять от 2 до 50 кг, высота сбрасывания грузов до 2,5 метров.

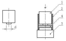
Если результаты испытания в приборе №1 и №2 противоречивы, то для оценки возможности перевозки данного ВМ существует дополнительная методика, которая учитывает возможность распространения взрыва на всю массу ВВ. Сущность метода заключается в определении минимального диаметра ударяющего бойка (d), взрыв под которым вызывает взрыв всей окружающей массы. Схема испытательного прибора приведена на рисунке 6.

Испытания проводят на К-44-2 или БК с помощью специальной сборки, позволяющей менять диаметр ударника. Чем меньше диаметр ударника позволяющего распространяться взрыву на всю массу, тем выше чувствительность ВМ.

 

<== предыдущая лекция | следующая лекция ==>
Чувствительность ИВВ и капсюльных составов исследуют для оценки, как опасности обращения, так и безотказности их действия от удара, трения, накола жалом при служебном применении | Чувствительность к трению
Поделиться с друзьями:


Дата добавления: 2014-01-07; Просмотров: 820; Нарушение авторских прав?; Мы поможем в написании вашей работы!


Нам важно ваше мнение! Был ли полезен опубликованный материал? Да | Нет



studopedia.su - Студопедия (2013 - 2025) год. Все материалы представленные на сайте исключительно с целью ознакомления читателями и не преследуют коммерческих целей или нарушение авторских прав! Последнее добавление




Генерация страницы за: 0.012 сек.