Студопедия

КАТЕГОРИИ:


Архитектура-(3434)Астрономия-(809)Биология-(7483)Биотехнологии-(1457)Военное дело-(14632)Высокие технологии-(1363)География-(913)Геология-(1438)Государство-(451)Демография-(1065)Дом-(47672)Журналистика и СМИ-(912)Изобретательство-(14524)Иностранные языки-(4268)Информатика-(17799)Искусство-(1338)История-(13644)Компьютеры-(11121)Косметика-(55)Кулинария-(373)Культура-(8427)Лингвистика-(374)Литература-(1642)Маркетинг-(23702)Математика-(16968)Машиностроение-(1700)Медицина-(12668)Менеджмент-(24684)Механика-(15423)Науковедение-(506)Образование-(11852)Охрана труда-(3308)Педагогика-(5571)Полиграфия-(1312)Политика-(7869)Право-(5454)Приборостроение-(1369)Программирование-(2801)Производство-(97182)Промышленность-(8706)Психология-(18388)Религия-(3217)Связь-(10668)Сельское хозяйство-(299)Социология-(6455)Спорт-(42831)Строительство-(4793)Торговля-(5050)Транспорт-(2929)Туризм-(1568)Физика-(3942)Философия-(17015)Финансы-(26596)Химия-(22929)Экология-(12095)Экономика-(9961)Электроника-(8441)Электротехника-(4623)Энергетика-(12629)Юриспруденция-(1492)Ядерная техника-(1748)

Токовая поперечная дифференциальная защита




Принцип действия и виды поперечных дифференциальных защит параллельных линий

 

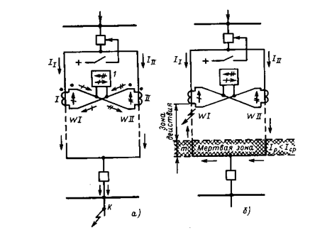
Поперечные дифференциальные РЗ применяются на параллельных ЛЭП, имеющих одинаковое сопротивление, и основаны на сравнении значений и фаз токов, протекающих по обеим ЛЭП. Благодаря равенству сопротивлений ЛЭП в нормальном режиме и при внешнем КЗ токи в них равны по значению и фазе (I I = I II) (рисунок 7.1 а) В случае КЗ на одной из ЛЭП равенство токов нарушается. На питающем конце ЛЭП А токи II и III совпадают по фазе, но различаются по значению, а на приемном В -противоположны по фазе, что следует из токораспределения, приведенного на рисунке 7.1 б. Таким образом, нарушение равенства токов в параллельных ЛЭП по значению или фазе являет­ся признаком повреждения одной из них. Поперечные дифференциальные РЗ применяются двух видов: на параллельных ЛЭП, включенных под один общий выключатель - токовая поперечная дифференциальная РЗ; на параллельных ЛЭП с самостоятельными выключателями - направленная поперечная дифференциальная РЗ.

 

Принципы действия защиты. Токовая поперечная дифференциальная РЗ предназначена для параллельных ЛЭП с общим выключателем. При одностороннем питании параллельных ЛЭП РЗ устанавливается только со стороны источника питания, а в сети с двусторонним питанием - с обеих сторон параллельных ЛЭП.

Схема РЗ для одной фазы изображена на рисунке 7.1. На одноименных фазах каждой ЛЭП устанавливаются ТТ с одинаковым коэффициентом трансформации КII = КIII = KI. Вторичные обмотки трансформаторов тока I и II соединяются разноименными зажимами по схеме с циркуляцией токов в соединительных проводах, и параллельно к ним включается обмотка токового реле 1. Из токораспределения, приведенного на рисунке 7.1,а для нормального режима, внешнего КЗ и качаний, видно, что ток в реле

Ip = I в II в II = II / KI – III / KI.

В этих режимах I I = I II, поэтому при отсутствии погрешностей ТТ Iр = 0, и РЗ не работает. Следовательно, по своему принципу действия рассматриваемая РЗ не реагирует на внешние КЗ и нагрузку. Поэтому ее выполняют без выдержки времени и не отстраивают от токов нагрузки. В действительности в реле протекает ток небаланса Iнб, вызванный погрешностью ТТ I’нб и некоторым различием первичных токов I”нб=(II– III)/KI, обусловленным неточным равенством сопротивлений ЛЭП. Ток срабатывания реле Iс.р должен быть больше максималь­ного тока небаланса:

Ic.p > (I'нб + I''нб). (7.1)

В случае повреждения одной из параллельных ЛЭП, напри­мер WI (рисунок 7.1, б), ток II в поврежденной ЛЭП становится больше тока во второй ЛЭП (II > III), и в реле появляется ток

Ip = I в II в II = (I II II) / KI (7.2)

При токе в реле Iр > Iср РЗ действует и отключает общий выключатель обеих ЛЭП.

Ip = I в II в II = (I II II) / KI (7.3)

 

 

а) режимы нагрузки и внешнего КЗ; б) режим КЗ на WI

Рисунок 7.1 Принцип действия токовой поперечной дифференциальной РЗ

Схема защиты. В сетях с малым током замыкания на землю (т. е. с изолированной нейтралью или заземленной через ДГР) РЗ выполняется на двух фазах. В сетях с глухозаземленной нейтралью РЗ устанавливается на трех фазах. В этом случае ТТ на каждой ЛЭП соединяются по схеме полной звезды с нулевым проводом. Для отключения РЗ при отключении одной из параллельных ЛЭП устанавливается отключающее устройство (SX) на рисунке 7.2. В дополнение к отключающему устройству можно предусматривать автоматическое отключение РЗ вспо­могательными контактами SQ1 и SQ2 на разъединителях.

Оценка защиты. Токовая поперечная дифференциальная РЗ относится к числу простых и надежных устройств, важным достоинством ее является быстродействие. Недостатком РЗ являются наличие мертвой зоны и необходимость отключения РЗ при отключении одной из параллельных ЛЭП. Кроме поперечной дифференциальной РЗ на параллельных ЛЭП необходимо

предусматривать дополнительную РЗ, действующую при КЗ на шинах противоположной подстанции, в мертвой зоне. А также при выводе из работы одной ЛЭП.




Поделиться с друзьями:


Дата добавления: 2014-01-07; Просмотров: 566; Нарушение авторских прав?; Мы поможем в написании вашей работы!


Нам важно ваше мнение! Был ли полезен опубликованный материал? Да | Нет



studopedia.su - Студопедия (2013 - 2026) год. Все материалы представленные на сайте исключительно с целью ознакомления читателями и не преследуют коммерческих целей или нарушение авторских прав! Последнее добавление




Генерация страницы за: 0.012 сек.