Студопедия

КАТЕГОРИИ:


Архитектура-(3434)Астрономия-(809)Биология-(7483)Биотехнологии-(1457)Военное дело-(14632)Высокие технологии-(1363)География-(913)Геология-(1438)Государство-(451)Демография-(1065)Дом-(47672)Журналистика и СМИ-(912)Изобретательство-(14524)Иностранные языки-(4268)Информатика-(17799)Искусство-(1338)История-(13644)Компьютеры-(11121)Косметика-(55)Кулинария-(373)Культура-(8427)Лингвистика-(374)Литература-(1642)Маркетинг-(23702)Математика-(16968)Машиностроение-(1700)Медицина-(12668)Менеджмент-(24684)Механика-(15423)Науковедение-(506)Образование-(11852)Охрана труда-(3308)Педагогика-(5571)Полиграфия-(1312)Политика-(7869)Право-(5454)Приборостроение-(1369)Программирование-(2801)Производство-(97182)Промышленность-(8706)Психология-(18388)Религия-(3217)Связь-(10668)Сельское хозяйство-(299)Социология-(6455)Спорт-(42831)Строительство-(4793)Торговля-(5050)Транспорт-(2929)Туризм-(1568)Физика-(3942)Философия-(17015)Финансы-(26596)Химия-(22929)Экология-(12095)Экономика-(9961)Электроника-(8441)Электротехника-(4623)Энергетика-(12629)Юриспруденция-(1492)Ядерная техника-(1748)

Серийные преобразователи




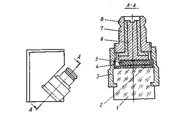
Преобразователи типа ИЦ (рис. 2.4). Эти преобра­зователи делаются разборными, пьезопластина прижи­мается к призме с помощью съемного разъема. Пьезо­пластина изготавливается из пьезокерамики ЦТС-19. Материалом для пьезопластины могут быть также кварц и титанат бария. Кварц обладает наиболее стабильными свойствами, ЦТС обеспечивает наибольшую чувствитель­ность, но подвержен влиянию температуры.

Форма пластины может быть различной: круглая, по­лукруглая, квадратная, прямоугольная. Практика по­казала, что наиболее эффективна прямоугольная или квадратная форма, так как в этом случае УЗ-колебания в пределах ближней зоны распределены более равномер­но по сечению.

Рис. 2.4. Схема наклонного совмещенного преобразователя

типа ИЦ:

1 — призма; 2 — пьезоэлемент; 3 — корпус излучателя; 4 — изоляцион­ное кольцо; 5 — демпфер; 6 — контактный штырь; 7 — изоляционная втулка; 8 — зажимная гайка.

 

Призмы преобразователей типа ИЦ выполняют из плексигласа, который, с одной стороны, обеспечивает достаточное гашение УЗ-волн в призме и, с другой сто­роны, не сильно ослабляет ультразвуковые колебания на участке от пьезоэлемента до изделия. Благодаря хо­рошей смачиваемости плексигласа преобразователи ИЦ обладают наибольшей стабильностью акустического кон­такта по сравнению с другими серийными преобразователями. Преобразователи подобного типа легко изгото­вить в производственных условиях.

Однако наряду с отмеченными преимуществами пре­образователи ИЦ имеют некоторые недостатки: малый срок службы, изменение акустического контакта между пьезоэлементом и призмой в процессе эксплуатации, не­совершенный высокочастотный разъем, относительно большую стрелу, малый температурный диапазон.

Преобразователи конструкции ИЦ, которыми комп­лектовались дефектоскопы УДМ-3, ДУК-66 и ДУК-66П, имеют углы наклона призмы 30, 40, 50 и 53°.

Преобразователь КГН-1 (см. рис. 2.1, в). Данный пре­образователь состоит из призмы, к которой приклеен пьезоэлемент прямоугольной формы. Такое конструктив­ное исполнение преобразователя обеспечивает постоянный акустический контакт между пьезоэлементом и приз­мой и постоянную чувствительность преобразователя в процессе эксплуатации.

Для повышения степени демпфирования, а следова­тельно, разрешающей способности преобразователя, демпфирующая масса выполняется на основе эпоксидной смолы с вольфрамовым наполнителем и добавкой пластификатора. Оптимальное демпфирование достигается, когда частицы вольфрама распределены по высоте демп­фера по экспоненте. Причем большая часть вольфрамо­вых включений должна прилегать к пьезопластине, так как при этом достигается сильное демпфирование пьезоэлемента, а частицы, расположенные в верхней части, обеспечивают наибольшее рассеяние УЗ-колебаний.

Поскольку с увеличением степени демпфирования наряду с положительным эффектом (сокращение мерт­вой зоны и увеличение разрешающей способности) про­исходит снижение чувствительности преобразователя, то при контроле изделий большой толщины, когда требует­ся высокая чувствительность, применяют демпфер с ма­лым акустическим сопротивлением.

Призмы преобразователей КГН-1 изготавливают из капролона, который обладает высокой износостойкостью и может эксплуатироваться в широком температурном диапазоне. Преимуществом таких преобразователей являются также небольшая стрела и удобный высокочас­тотный разъем.

Чувствительность преобразователей КГН-1 ниже чув­ствительности преобразователей ИЦ. Смачиваемость капролона значительно хуже смачиваемости плексигласа, что делает эти преобразователи чувствительными к ка­честву контролируемой поверхности.

 

Рис. 2.5. Схема наклон­ного совмещенного пре­образователя типа «Сне­жинка»:

1 — призма; 2 — пьезопластина; 3 — демпфер; 4 — кор­пус.

В комплекте преобразователей КГН-1 имеются ПЭП с углами наклона призм 30, 40, 50, 53 и 55°.

Миниатюрные преобразователи «Снежинка» (рис. 2.5). Эти преобразователи выпускаются с углами призм 30, 40 и 50° на частоту 5 МГц. Призмы преобразователей изготавливают из поликарбоната дифлок — материала с высокой теплостойкостью, морозостойкостью и низким водопоглощением. Стабильность свойств поликарбоната сохраняется в диапазоне температур от -100 до +100°С. Затухание в нем УЗ-колебаний примерно в 3—4 раза выше, чем в плексигласе, что обеспечивает уменьшение реверберационных помех. Износостойкость поликарбоната в 3 раза выше износостойкости оргстекла.

Пьезоэлементы данных преобразователей имеют пря­моугольную форму.

Демпфирующий материал в преобразователях «Сне­жинка» аналогичен материалу в КГН-1. По чувствитель­ности преобразователи этого типа также уступают преобразователям типа ИЦ. Данные преобразователи наиболее целесообразно применять для контроля качест­ва сварных швов тонкостенных конструкций с обработан­ной поверхностью, а также в труднодоступных местах.

В современных дефектоскопах используются различ­ные комплекты преобразователей: «Приз-3», «Приз-4», «Приз-5». Низкочастотные контактные прямые совмещенные преобразователи «Приз-3» предназначены для конт­роля качества неметаллических изделий, в том числе и строительных, а также для измерения их физико-меха­нических свойств. Преобразователи комплекта «Приз-4» служат для контроля качества толстостенных изделий, листового проката и изделий с грубообработанными по­верхностями. Комплект «Приз-5» предназначен для контроля качества сварных швов изделий из аустенитных сталей.

Из преобразователей, выпускающихся за рубежом, наибольшее применение нашли преобразователи фирмы «Крауткремер». Пьезоэлемент квадратной формы, изго­товленный из кварца, приклеивается к призме. Для гаше­ния шумов в преобразователе к призме в свою очередь приклеивается ловушка из звукопоглощающего мате­риала. Отличительной особенностью данных преобразо­вателей является высокая чувствительность, износостойкость и хорошая смачиваемость. В связи с тем что в наклонных преобразователях фирмы «Крауткремер» от­сутствует демпфер, они имеют большую величину мерт­вой зоны и более низкую разрешающую способность по сравнению с отечественными преобразователями. Стре­ла этих преобразователей значительно больше стрелы отечественных преобразователей, что не позволяет про­изводить контроль прямым лучом нижней части шва тонкостенных сварных изделий.

На преобразователях фирмы «Крауткремер» обозна­чаются углы ввода УЗ-колебаний по стали, которые со­ставляют 35; 45; 60; 70 и 80°.




Поделиться с друзьями:


Дата добавления: 2014-01-07; Просмотров: 290; Нарушение авторских прав?; Мы поможем в написании вашей работы!


Нам важно ваше мнение! Был ли полезен опубликованный материал? Да | Нет



studopedia.su - Студопедия (2013 - 2026) год. Все материалы представленные на сайте исключительно с целью ознакомления читателями и не преследуют коммерческих целей или нарушение авторских прав! Последнее добавление




Генерация страницы за: 0.013 сек.