Студопедия

КАТЕГОРИИ:


Архитектура-(3434)Астрономия-(809)Биология-(7483)Биотехнологии-(1457)Военное дело-(14632)Высокие технологии-(1363)География-(913)Геология-(1438)Государство-(451)Демография-(1065)Дом-(47672)Журналистика и СМИ-(912)Изобретательство-(14524)Иностранные языки-(4268)Информатика-(17799)Искусство-(1338)История-(13644)Компьютеры-(11121)Косметика-(55)Кулинария-(373)Культура-(8427)Лингвистика-(374)Литература-(1642)Маркетинг-(23702)Математика-(16968)Машиностроение-(1700)Медицина-(12668)Менеджмент-(24684)Механика-(15423)Науковедение-(506)Образование-(11852)Охрана труда-(3308)Педагогика-(5571)Полиграфия-(1312)Политика-(7869)Право-(5454)Приборостроение-(1369)Программирование-(2801)Производство-(97182)Промышленность-(8706)Психология-(18388)Религия-(3217)Связь-(10668)Сельское хозяйство-(299)Социология-(6455)Спорт-(42831)Строительство-(4793)Торговля-(5050)Транспорт-(2929)Туризм-(1568)Физика-(3942)Философия-(17015)Финансы-(26596)Химия-(22929)Экология-(12095)Экономика-(9961)Электроника-(8441)Электротехника-(4623)Энергетика-(12629)Юриспруденция-(1492)Ядерная техника-(1748)

Зам. директора по УМР

КЛАССИФИКАЦИЯ МОДЕЛЕЙ

Двери

Окна

Окна и двери

 

Окна должны обеспечивать достаточную дневную освещенность помещений, необходимая степень которой устанавливается нормами.

Как ограждающие элементы, окна должны удовлетворять теплотехническим и акустическим требованиям. Они также должны быть увязаны с архитектурно - художественным решением фасадов и интерьеров.

Заполнение оконного проема состоит из оконных переплетов, оконных коробок и оконной доски (рис. 1).

Оконными переплетами называют остекленные элементы окон: - наружный и внутренний.

Они состоят из створок и фрамуг. Створки и фрамуги бывают открывающиеся и глухие. Открываются, как правило, вовнутрь.

По материалу изделия бывают:

а) деревянные, стальные и алюминиевые;

б) металлические (магазины) - пропускают больше света;

в) железобетонные - глухие;

г) из пластмасс - экспериментальные;

д) стеклоблоки и стеклопрофили (рис. 2.-5).

 

Оконная коробка - это рама, в которую вставляются переплеты.

В коробку вводят горизонтальные и вертикальные импосты (при больших проемах). Они бывают раздельные и общие для обоих переплетов.

Подоконные доски бывают деревянные и железобетонные (рис. 1,4.).

Оконными переплетами - называют остекленные элементы окон: -наружный и внутренний.

Двери состоят из открывающихся полотен и дверной коробки однопольные, двупольные и полуторные.

По положению в здании: наружные, внутренние и шкафные. Наружные делятся на входные и балконные (рис. 1.).

Размеры дверей выбирают в зависимости от необходимой пропускной способности и габаритов мебели и оборудования.

Размеры полотен:

600, 700, 800, 900 и 1100 – однопольные;

1200, 1400 и 1800-двупольные;

h = 2000 и 2300 мм.

 

Глухие и остекленные для освещения вторым светом. Иногда вставляют в общую коробку - фрамугу. Коробка состоит из обвязки с четвертями, импост при фрамуге.

Крепление дверных коробок производится аналогично оконным.

Дверные полотна по конструкции бывают щитовые и филенчатые.

Щитовые - сплошные или пустотелые щиты с обкладками или без них. (из склеенных деревянных реек, или из других стружечных плит).

Реечные с двух сторон облицовываются шпоном, фанерой или твердыми древесноволокняными плитами (рис. 6.).

Филенчатые состоят из обвязки, и филенок. Филенки бывают дощатые или из древесноволокняных плит.

(Щитовые - гигиеничны, дешевы - поэтому они вытеснили филенчатые).

В подвалах и хозяйственных постройках применяют плотничные двери (на планках и на шпонках).

На стройплощадку двери доставляются в дверных блоках - коробка с полотном и приборами.

 

 

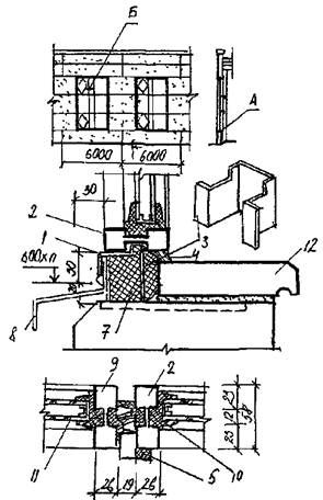
ЗАПОЛНЕНИЕ ОКОННОГО ПРОЁМА

1-оконная коробка» 2 – гидроизоляция; 3 – конопатка; 4 – ж.б. перемычка; 5 – форточка; 6 – оконный откос; 7 – подоконная доска; 8 – ниша подоконно отопительного прибора; 9 – створка подоконного переплета; 10 – ветроостанов; 11 – шпингалет; 12 – подоконный наружный слив; 13 – деревянная пробка в стене для крепления коробок; 14 – оконная четверть; 15 – штанга фрамуги; 16 – фрамуга.

А – В распашные (А-однопольная; Б-полуторная; В-двупольная); Г – вращающаяся дверь – турникет; Д – подъёмная шторная; Е – откатная; Ж – прямораздвижная; И, К – шарнирно – складывающаяся; 1 - фрамуга

Рис. 1.

ТИПЫ И ГАБАРИТНЫЕ РАЗМЕРЫ ОКОН

ОКНА БАЛКОННЫЕ ДВЕРИ
  ГАБАРИТНЫЕ РАЗМЕРЫ ДВЕРЕЙ С ДВОЙНЫМ ОСТЕКЛЕНИЕМ СЕРИИ С – СО СПАРЕННЫМ И Р – С РАЗДЕЛЬНЫМИ ПЕРЕПЛЕТАМИ ДЛЯ ЖИЛЫХ ДОМОВ    
УСТАНОВКА ОКОННЫХ БЛОКОВ
СО СПАРЕННЫМИ ПЕРЕПЛЕТАМИ С РАЗДЕЛЬНЫМИ ПЕРЕПЛЕТАМИ
1 – коробка; 2 – переплет; 3 – упругая прокладка; 4 – наплыв; 5 – замазка; 6 – деревянный штапик; 7 – прорезь для отвода воды
ДЕТАЛИ УСТАНОВКИ ОКОННЫХ БЛОКОВ
С РАЗДЕЛЬНЫМИ ПЕРЕПЛЕТАМИ СО СПАРЕННЫМИ ПЕРЕПЛЕТАМИ 1-1
Рис.2.
1 – деревянная антисептированная пробка; 2 – стальной костыль; 3 – слив из оцинкованной кровельной стали; 4 – герметик; 5 – конопатка; 6 – рубероид; 7 – штукатурка; 8 = ерш; 9 – подоконная доска; 10 – антисептированные доски при зазоре больше 35 мм
           

СВЕТОНЕПРОНИЦАЕМЫЕ СТЕНОВЫЕ ОГРАЖДЕНИЯ И ПАНЕЛИ ИЗ СТЕКОРА (ПО СЕРИИ 2.230 - 1), СТЕКЛОПАКЕТОВ И СТЕКЛОБЛОКОВ

 

СТЕКОР ШВЕЛЛЕРНОГО, ДВОЙНОГО ШВЕЛЛЕРНОГО И КОРОБЧАТОГО СЕЧЕНИЯ СТЕКЛОПАКЕТЫ СТЕКЛОБЛОКИ
УПЛОТНЕНИЕ СТЫКОВ ВО ВНУТРЕННИХ И ГЕРМЕТИЗАЦИЯ В НАРУЖНЫХ ОГРАЖДЕНИЯХ УСТАНОВКА СТЕКЛОПАКЕТА В СТАЛЬНЫЕ И ДЕРЕВЯННЫЕ ПЕРЕПЛЕТЫ
    ВАРИАНТЫ СОЕДИНЕНИЯ СТЕКОРА ШВЕЛЛЕРНОГО СЕЧЕНИЯ В НАРУЖНЫХ ОГРАЖДЕНИЯ
ПРИМЕРЫ ПРИМЕНЕНИЯ СВЕТОПРОНИЦАЕМЫХ ОГРАЖДЕНИЙ
В ПРОЁМАХ ЛЕСТНИЧНОЙ КЛЕТКИ В СТЕНАХ ЛЕСТНИЧНОЙ КЛЕТКИ В ВЫНОСНЫХ ТАМБУРАХ
В РАЗДЕЛИТЕЛЬНЫХ ЭКРАНАХ САНТЕХКАБИН И ЛОДЖИЙ
         

Рис. 3.

СВОДНАЯ НОМЕНКЛАТУРА СВЕТОПРОНИЦАЕМЫХ ОГРАЖДЕНИЙ ИЗ СТЕКОРА И СТЕКЛОБЛОКОВ

  УСТАНОВКА ПАНЕЛИ ИЗ СТЕКЛОБЛОКОВ

УСТАНОВКА СТЕКОРА ШВЕЛЛЕРНОГО И КОРОБЧАТОГО СЕЧЕНИЯ, ШТУЧНОГО И СМОНТИРОВАННОГО В ПАНЕЛИ

ДЛЯ ВОСПРИЯТИЯ МОНТАЖНЫХ НАГРУЗОК ПРИ УСТАНОВКЕ ПАНЕЛЕЙ ВЕРХНИХ И НИЖНИХ КОРОБОК ИЗ ДЕРЕВА, ЖЕЛЕЗОБЕТОНА ИЛИ СТАЛЬНОГО ПРОКАТА СКРЕПЛЯЮТСЯ ТЯЖАМИ ИЗ Ø12÷16 ЧЕРЕЗ ≤ 1000. УДАЛЯЕМЫЕ ПОСЛЕ УСТАНОВКИ ТЯЖИ МОГУТ ПРОПУСКАТЬСЯ В ГАБАРИТЕ СТЕКОРА. ПРИ ПОШТУЧНОЙ УСТАНОВКЕ БОКОВИНЫ И ИМПОСТЫ КОРОБКИ ПОДДЕРЖИВАЮТ ВЕРШНИК; ЕСЛИ ВЕРШНИК КРЕПИТСЯ К ПЕРЕМЫЧКЕ, ОНИ НЕ НУЖНЫ

В ДЕРЕВЯННОЙ КОРОБКЕ
В ЖЕЛЕЗОБЕТОННОЙ КОРОБКЕ ИЛИ ПАНЕЛИ В СТАЛЬНОЙ РАМЕ

Рис. 4.

ОКНА С АЛЮМИНИЕВЫМИ ПЕРЕПЛЕТАМИ    
1 – переплет створки; 2 – коробка; 3 – утеплитель; 4 – штукатурка; 5 – стальная пружина; 6 – нащельник; 7 – самонарезающий винт; 8 – стекло; 9 – уплотнитель; 10 – штапик; 11 – эластичная прокладка; 12 – мастика; 13 – смоляная пакля; 14 – слив; 15 – термовкладыш; 16 – комбинированный переплет; 17 - стеклопакет
  ОКНА ИЗ ГНУТОСВАРНЫХ ПРОФИЛЕЙ   1 – нащельник; 2 – глухой переплет; 3 – сухарь; 4 – мастика; 5 – резиновые профили; 6 – нащельник притвора; 7 – утеплитель; 8 – слив; 9 – переплет фрамуги; 10 – резиновые профили; 11 – стеклопакет; 12 – подоконная плита

 

Рис. 5.

номенклатура входных дверей (входные и тамбурные) Установка дверных блоков в наружных стенах  
ФАСАДЫ ДВЕРЕЙ  
ЛИСТОВОЙ КОНСТРУКЦИИ ОБВЯЗОЧНОЙ РЕШЕТЧАТО -ОСТЕКЛЕННОЙ  
1 – конопатка; 2 – толь; 3 – наличник; 4 – костыль; 5 – антисептированная   ДЕТАЛИ КОНСТРУКЦИЙ ДВЕРЕЙ   1 – упругая прокладка; 2 – бумажно – слоистый пластик УСТАНОВКА ДВЕРНЫХ БЛОКОВ ВО ВНУТРЕННИХ СТЕНАХ  
ВНУТРЕННИЕ ДЕРЕВЯННЫЕ ДВЕРИ  
 
1 – конопатка; 2 – толь; 3 – штукатурный слой; 4 – костыль; 5 – антисептированные деревянные пробки размером с кирпич  
         

Рис. 6.

Развитие принципов физико-геологического моделирования неиз­бежно ведет к увеличению числа типов моделей, которыми мож­но оперировать для количественного обоснования методики ком­плекскых геофизических исследований и разработки новых лрие-i моа интерпретации геофизических данных [18, 47, 48].

По степени учета характеристик ФГМ, включая размеры, фор-
му и петрофизическне свойства, моделирование может быть пол-
ным, неполным и приближенным. В зависимости от характера
геологических задач, предъявленных к решению геофизическими'
методами, ФГМ логично классифицировать на много- и двуаль-'
тернативные. J

Многоальтернативную ФГМ создают и используют!
на стадиях средне- и крупномасштабных геолого-геофизических
съемок широкого поискового спектра действия для параллельного
решения нескольких геологических задач одного ранга (структур-
но-тектоническое районирование, геологическое картирование,
прогнозирование и многоцелевые поиски разных видов минераль-
ного сырья и т. п.). Такие модели применяют также на стадиях
прогнозирования, общих поисков и разведки месторождений.
В последнем случае роль комплекса геофизических методов ши-
рокого спектра действия играют методы ГИС и подземной гео-;
физики, позволяющие одновременно решать довольно широкий
круг задач: выделение и корреляция рудных подсечений, выявле-
ние водонефтяного контакта, литологическое расчленение геоло-
гического разреза, определение гидрогеологических и инженерно-
геологических свойств пород, экспрессное опробование продуктив-]
ных интервалов и др. j

Двуальтернативная ФГМ обобщает информацию для! решения одной конкретной геологической задачи в рамках поис-] ковой системы узконаправленного спектра действия. При этом! сигналы от аномалнеобразующих объектов любой другой приро-| ды условно рассматриваются как помехи. Двуальтернативные ФГМ предназначены для решения задач типа «руда—неруда»| «нефтегазоперспективная — пустая структура», их используют преимущественно на подстадиях детальных специализированных поисков минерального сырья определенного вида и поисковое оценочных геофизических работ.

Степень влияния много- и двуальтернативных ФГМ на совер-
шенствование методики геофизических работ различна. Возмож;
ности многоальтернативных ФГМ для оптимизации комплекса
методов более ограничены, чем возможности альтернативны?
ФГМ, i сводятся в основном к уточнению частных методически?
вопросов (расчету оптимальных размеров сети наблюдений, точ
ности измерений поля и т. п.). Многоальтернативные ФГМ широ'
ко используются при обосновании методики комплексной интер
претации геолого-геофизических данных (при комплексном ана
лизе с использованием программ распознавания, кластер-анализ;
и т. д.). Двуальтернативные ФГМ, наоборот, помогают существен
но влиять как на состав комплекса методов, так и на методик;
полевых работ и комплексной интерпретации геофизически;
материалов. \

По отношению к полевому геофизическому эксперименту вы

деляют априорные ФГМ стадии проектирования, используе­мые для выбора и обоснования рационального комплекса и техни­ческих условий производства геофизических работ, и апостери­орные ФГМ стадии интерпретации, обобщающие итог ком­плексной интерпретации, выраженный в конкретных геолого-геофи­зических характеристиках изученного объема геологического пространства. При формировании апостериорной ФГМ опираются на априорную данного этапа исследований, а каждая апостериор­ная модель используется для уточнения, коррективов и развития представлений об априорной ФГМ последующего этапа работ и,т. д. Из характеристики априорных и апостериорных ФГМ (табл.

1) следует, что априорная модель является основой планирования геофизического эксперимента, включающего обоснование методи­ки не только полевых работ, но и комплексной интерпретации их результатов. Характерной чертой такой модели должна быть высокая степень обобщения геологических, геометрических, петро-физических параметров, допускающая возможность расчета ожи­даемых аномальных эффектов, охватывающих все основные классы их вероятных реализаций.

В отличие от априорной апостериорная ФГМ ставит в соот­ветствие каждому выделенному объекту конкретные значения его параметров, рассчитанных в результате решения обратных задач геофизики. Иными словами, апостериорная ФГМ — это резуль­тат комплексной интерпретации, выраженный в числовых геолого-геофизических характеристиках изученной части геологического пространства.

В зависимости от способов формирования и описания парамет­ров ФГМ подразделяют на детерминированные и вероятностно-статистические.

Детерминированные ФГМ получают путем расчета ожидаемых аномальных эффектов с помощью уравнений матема­тической физики при жестко ограниченных, наперед заданных значениях исходных петрофизическйх и морфологических пара­метров моделей. Этот подход традиционен. К сожалению, при всей фундаментальности и строгости он требует точного знания граничных условий и однородного распределения петрофизическйх свойств в пределах каждого СВК.

Вероятностно-статистические ФГМ в свою очередь подразделяются на статистические и стохастические (вероятност­ные).

Статистические ФГМ носят ярко выраженный эмпири­ческий характер. При их построении широко используют приемы анализа экспериментальных данных: статистическое оценивание и проверку гипотез, регрессионный и факторный анализы, способы фильтрации и распознавания и др. Статистические модели осо-. бен'но эффективны для характеристики слабоконтрастных геоло­гических объектов, незначительно отличающихся по средним зна­чениям, дисперсиям или другим статистикам физических полей от вмещающих их пород.

Стохастические ФГМ формируют путем вероятностного описания моделируемых объектов. Решение прямых задач геофи­зики при этом также имеет вероятностную трактовку и заключа­ется в расчете математических ожиданий, дисперсий или корреля­ционных функций аномальных эффектов. Это позволяет охаракте­ризовать весь возможный диапазон изменения физических полей для бесконечного в общем случае, множества состояний модели объекта. В частности, такими моделями удобно аппроксимировать геологические тела сложного строения с неравномерным распре­делением физических свойств: жильные зоны, пачки рудных тел разного качества и т. п.


С точки зрения решаемых задач, используемых моделей и спо­собов анализа данных в вероятностно-статистическом подходе на­метилось два направления.

Первое направление базируется на модели экспериментально­го материала, учитывающей случайный характер помех, обуслов­ленных неконтролируемыми флуктуациями параметров реальных источников и приемников физических полей. Неоднородности зоны малых скоростей, неглубоко залегающие источники гравитацион­ных и магнитных полей, гетерогенность излучающих и экранирую­щих радиоактивное излучение сред и другие неоднородности, не учитываемые моделью изучаемого объекта, также формируют случайное поле помех. В статистической теории интерпретации при выделении слабых аномалий на фоне помех и в количественных способах интерпретации помеху аппроксимируют некоторыми мо­делями случайных процессов. Характеристики последних (матема­тические ожидания, дисперсии, автокорреляционные функции или спектральные плотности) могут быть заданы на основе теорети­ческих соображений с учетом имеющейся априорной информации, определяться на эталонах или оцениваться совместно с парамет­рами модели изучаемого объекта f 15, 17, 31, 44].

Второе направление основывается на стохастических моделях объектов, характерная особенность которых —использование ве­роятностного описания случайных параметров самих моделей. Это направление предполагает установление, исследование и исполь­зование количественных зависимостей между вероятностным описанием источников и характеристиками генерируемых ими случайных физических полей Г14, 18, 23, 37, 48]. Способы стоха­стического моделирования являются эффективным инструментом для исследования влияния тех или иных параметров ФГМ на ожи­даемые аномальные эффекты и помогают устанавливать особен­ности проявления структуры сложных неоднородных объектов в физических полях.

Вероятностный подход к построению ФГМ природных геологи­ческих систем — достаточно общий, хотя и не всегда самый про­стой. В частности, стохастические модели на уровне математичес­ких ожиданий включают в себя детерминированные.

Учитывая широкое проявление принципа историзма в геологии, различают статические и динамические ФГМ. Статические ФГМ месторождений полезных ископаемых, рудных тел и других геологических объектов фиксируют их состояние в определенный момент времени. Динамические ФГМ отражают специфику сочетания геофизических полей и их числовых характеристик на разных стадиях геологических процессов в зависимости от глуби­ны и полноты развития рудогенеза, зон окисления и вторичного сульфидного обогащения, тектогенеза и др. Успехи в области палеомагнетизма, изучения движения лнтосферных плит, геофи­зических предвестников землетрясений, широкое внедрение гео­физического мониторинга окружающей среды, режимных наблю­дений за многолетней мерзлотой,1 естественными фильтраиионно­диффузионными и другими нестационарными электрическими по­лями, гидрогеохимическимн параметрами подземных вод опреде­ляют насущную необходимость в развитии идеи, разработке методики формирования и использовании динамических ФГМ.

А. С. Барышевым (1985 г.) предложен следующий вариант системных соотношений стадий геологоразведочных работ, отве­чающих им ФГМ объектов поисков и стандартизованных комплек­сов геофизических методов- На стадиях регионального геологичес­кого изучения и геологосъемочных работ масштаба 1:50 000 при­меняют типовые комплексы методов, создают обобщенные ФГМ, формируемые по структурно-формационным признакам и интегрально отражающие особенности геологической обстановки ■вне зависимости от ранга моделируемого объекта (рудный район, зона, узел, поле). На стадиях поисков и поисково-оценочных ра­бот используют рациональный комплекс геофизических методов, в основе разработки которого лежат типовые ФГМ, являющие­ся общими для формационного типа или генетического класса месторождений. На стадиях предварительной и детальной развед­ки разрабатывают рациональный оптимизированный комплекс и частные ФГМ, создаваемые на основе типовой модели в ка­честве ее элементов для отдельных рудных тел либо группы тел.

Рассмотренные классификации касаются методики и техноло­гия собственно геофизических исследований. В то же время поня­тие о ФГМ может быть положено в основу разработки поисковой геофизической классификации месторождений полезных ископае­мых, объективно регламентирующей разрешающую способность геофизических методов при поисках минерального сырья различ­ных генетических типов.

По характеру и степени контрастности отражения в физиче­ских полях все месторождения твердых полезных ископаемых можно подразделить на две группы. В первую группу можно включить минеральные скопления полезных ископаемых, состав и массы которых непосредственно проявляются в аномальных физических полях. Это месторождения урана, тория, калия, желе­за, титана, хрома, меди, свинца, цинка, алюминия, никеля. Объек­том геофизических поисков в этом случае является собственно месторождение. Ко второй группе относятся месторождения, ру­ды которых вследствие малых количеств полезного компонента в рудной массе или слабых отличий их физических параметров от вмещающей среды прямо не фиксируются геофизическими мето­дами. Это месторождения золота, серебра, ртути, олова, вольфра­ма, молибдена, тантала, ниобия, бериллия, слюды и т. д. Объек­том геофизических поисков при этом может служить рудовмещаю-щий структурно-вещественный комплекс.

Принятые генетические классификации минеральных место­рождений В. И. Смирнова (1976 г.), С. А. Вахромеева (1979 г.), В. М. Григорьева и А. И. Кривцова (1981 г.) построены на неод­нородных признаках. Серии месторождений в них соответствуют трем процессам породообразования (эндогенные, экзогенные, ме-


Таблица. 2


таморфогенные). Группы месторождений формируются как по процессам рудообразования (например, гидротермальные), так и ho составу руд но-петрографических сообществ (карбонат итовые, скарнавые, грейзеновые). Классы месторождений в одних случаях: учитывают механизм рудонакопления (ликвационные, иифильтра-) ционные), в других — состав рудонесущей среды (известковистые j скарны, магнезиальные скарны), в третьих — общие генетические связи {вулканогенные, вулканогеино-осадочные).

Исходя из положения, что геологические, геохимические и гео- \ физические признаки существования месторождений должны быть 1 наблюдаемы и измеряемы, на основе типологического анализа ] разработана классификация ФГМ месторождений твердых полез- 1 ных ископаемых*. В основу этой классификации положены главные ] характеристики месторождений: форма, структура и минеральный | состав. Особенностью этой классификации является выделение геофизических классов месторождений, число которых существен­но меньше, чем геологических, вследствие того, что последние частично объединены из-за сходства их проявления в физических полях (табл. 2). Каждому геофизическому классу месторождений соответствует типовая ФГМ. Например, магматические месторож-! дения железа по геологической классификации относятся к, фор- ' мациям магкетитовой малотитанистой в интрузивах габбро-пирок- ■ сенит-дунитового состава и титаномагнетит-ильменитовой в габ-, бро; месторождения титана — к ильменит-магнетитовой в габбро-анортозитах, а ванадия — к титаномагнетитовой в пироксенитах, перидотитах, оливинитах, горнблендитах и габбро, ильменит-магнетитовой и ильмёнит-титаномагнетитовой в габбро, титано­магнетитовой в анортозитах, пироксёнитах и норйтах. Согласно геофизической классификации все они объединяются в один класс — магнетитовые, титаномагнет итовые, титаномагнетитоиль-меннтовые месторождения в баэитовых интрузиях (см. табл. 2).

 

Д 2. ПЕТРОФИЗИЧЕСКИЕ МОДЕЛИ

Изучение физических свойств пород и руд всегда относилось к числу фундаментальных проблем прикладной геофизики. При решении задач планирования геофизического эксперимента и комплексной интерпретации данных на основе физико-геологиче-ских моделей способы получения и анализа петрофизической ин­формации приобретают особое значение.

 

2.1. НАПРАВЛЕНИЯ ПЕТРОФИЗИЧЕСКЙХ ИССЛЕДОВАНИИ

Классическим направлением петрофизическйх иследований яв­ляется изучение зависимостей физических свойств пород и руд от их минерального состава, структурно-текстурных особенностей, степени метаморфизма, термодинамических условий их формиро­илния и ряда других факторов физической и геологической при­роды. По существу это направление дополняет применяемые в геологии методы исследования вещества, а выполняемые петро-фнзические обобщения носят фактографический характер, т. е. отображают информацию в виде различных таблиц, петрофизи­ческйх карт, разрезов, блок-диаграмм [39]. На основе этих мате­риалов получают выводы, содержательные как в геологическом отношении, так и в отношении физико-геологических предпосылок Применения тех или иных геофизических методов. Кроме того, пстрофизические данные используют для расшифровки природы геофизических аномалий, изучения петрофизической зональности месторождений полезных ископаемых [33].

На наш взгляд, ^петрофизическое направление в разведочной геофизике имеет существенные резервы перспективного развития. "Актуальным, в частности, является расширение числа исследуемых физических свойств, включая упругие, ядерно-физические, электро­магнитные, теплофизические, частотные, пьезоэлектрические, рео­логические свойства, термоЭДС и др. Соответствующее метроло­гическое обеспечение возможно лишь при выпуске современной Серийной аппаратуры для измерения физических свойств горных Пород.

>азцах эталонных выборок; 2) анализ данных и выделение

При решении методических и интерпретационных задач разве­дочной геофизики первичные сведения о физических свойствах, Представленные фактографическими моделями, как правило, Нуждаются в дополнительном анализе и обобщении с целью по-Строения петрофизической модели, являющейся основой ФГМ Изучаемого объекта. По существу петрофизические модели слу­жит связующим звеном между собственно петрофизическими и Геофизическими исследованиями. Формирование петрофизическйх Поделен предусматривает последовательное решени^е^,рядаизадач:

К, расчеты их обобщенных физических характеристик; 3) по­лучение массовой петрофизической информации по данным ГИС И выделение СВК в геологическом разрезе; 4) построение объем­ной петрофизической модели по результатам корреляции выде-деыных СВК между скважинами.

Как правило, в результате анализа петрофизической информа-М устанавливают доминантное физическое свойство, наиболее нтрастно выделяющее заданный класс геологических объектов, бычнр это количественная характеристика (магнитная воспри­имчивость магнетитовых, радиоактивность урановых, плотность Лошных колчеданных руд и т. п.), но не исключена и качествен­на природа доминанты. Например, природа радиоактивного ■Чйла рудных зон в карбонатнтах позволяет прогнозировать тип кометалькой минерализации: для танталового оруденения ти-чна урановая, для ниобиевого — торневая, а для редкоземель-о — смешанная радиоактивность. Роль доминантного может рить и комплексный петрофизический параметр.


Построение петрофизическйх моделей открывает возможност решения многих сложных геологических задач прииципиальног характера. Вот некоторые из них: формирование ФГМ изучаемы геологических объектов; объемное геологическое картировани рудных полей, поиски скрытого оруденения на основе выявлени осевой, продольной и поперечной зональности в распределенй петрофизическйх характеристик; установление статистическог сходства либр различия горных пород, руд и других геологически образований, петрофизическйх портретов и ад руд ной и подрудно зон месторождений полезных ископаемых; увязка геологически разрезов в межвыработочном пространстве на основе формирова ния корреляционных петрофизическйх моделей типа «рудны прослой», «безрудный маркер», «чередование интербалов промыш ленных и забалансовых руд»; выявление благоприятных и запр щенных диагностических петрофизическйх ассоциаций разны типов месторождений, рудных тел и несущих оруденение сред.

На принципиальную возможность практического решен и перечисленных задач средствами петрофизики до сих пор обра щается слишком мало внимания.

Как правило, обобщение и интерпретация результатов петро физических измерений проводятся для выяснения физико-геологи ческих особенностей строения того или иного объема земной кор на данный момент, т. е. для изучения статических закономерностей Во многих случаях с помощью петрофизическйх данных можн расшифровывать и динамику формирования любого геологическо го объекта, включая месторождения полезных ископаемых. Вслед1 ствие казуального характера тренда любого петрофизическог параметра последний всегда несет "информацию о временны изменениях л.итологических, структурно-текстурных, тектониче ских особенностей геологической среды, степени ее подготовлен ности к рудоотложенйю и процентном содержании полезных ком по нентов. Некоторые иллюстрации использования петрофизнческо информации для изучения динамики геологических процессо рассмотрены в разд. 6.

Обсуждаемые аспекты анализа и использования летрофнзнче ской информации достаточно обширны и составляют предме специальных исследований. Поэтому в следующих разделах рас смотрены только методические вопросы, непосредственно связан ные с формированием собственно петрофизическйх моделей ка основы ФГМ.

 

2± ВЫДЕЛЕНИЕ СТРУКТУРНО-ВЕЩЕСТВЕННЫХ КОМПЛЕКСОВ

При изучении физических свойств основой объединения образцов1 в группы являются существующие геологические классификации: по петрографическим (антологическим) признакам, стратиграфи­ческой принадлежности, степени метаморфизма и другим призна­кам. Естественная эквивалентность различных групп пород по; одному или нескольким физическим свойствам приводит к иеоб­




 

<== предыдущая лекция | следующая лекция ==>
ЛЕКЦИЯ №11 | Материаловедение. План лекций и практических занятий по органической химии
Поделиться с друзьями:


Дата добавления: 2014-01-07; Просмотров: 574; Нарушение авторских прав?; Мы поможем в написании вашей работы!


Нам важно ваше мнение! Был ли полезен опубликованный материал? Да | Нет



studopedia.su - Студопедия (2013 - 2026) год. Все материалы представленные на сайте исключительно с целью ознакомления читателями и не преследуют коммерческих целей или нарушение авторских прав! Последнее добавление




Генерация страницы за: 0.014 сек.