Студопедия

КАТЕГОРИИ:


Архитектура-(3434)Астрономия-(809)Биология-(7483)Биотехнологии-(1457)Военное дело-(14632)Высокие технологии-(1363)География-(913)Геология-(1438)Государство-(451)Демография-(1065)Дом-(47672)Журналистика и СМИ-(912)Изобретательство-(14524)Иностранные языки-(4268)Информатика-(17799)Искусство-(1338)История-(13644)Компьютеры-(11121)Косметика-(55)Кулинария-(373)Культура-(8427)Лингвистика-(374)Литература-(1642)Маркетинг-(23702)Математика-(16968)Машиностроение-(1700)Медицина-(12668)Менеджмент-(24684)Механика-(15423)Науковедение-(506)Образование-(11852)Охрана труда-(3308)Педагогика-(5571)Полиграфия-(1312)Политика-(7869)Право-(5454)Приборостроение-(1369)Программирование-(2801)Производство-(97182)Промышленность-(8706)Психология-(18388)Религия-(3217)Связь-(10668)Сельское хозяйство-(299)Социология-(6455)Спорт-(42831)Строительство-(4793)Торговля-(5050)Транспорт-(2929)Туризм-(1568)Физика-(3942)Философия-(17015)Финансы-(26596)Химия-(22929)Экология-(12095)Экономика-(9961)Электроника-(8441)Электротехника-(4623)Энергетика-(12629)Юриспруденция-(1492)Ядерная техника-(1748)

Соединения деталей с помощью болтов, винтов и шпилек

Резьбовые соединения

 

Резьбовые соединения широко распространены в машиностроении и приборостроении. В большинстве современных машин свыше 60% всех деталей имеют резьбу.

Как было отмечено ранее (гл. 4) по эксплуатационному назначению различают резьбы общего назначения и специальные. К резьбам общего назначения относятся крепежные, применяемые для разъемного соединения деталей машин; главное требование к ним – обеспечить прочность соединения и сохранить плотность стыка в процессе длительной эксплуатации.

Резьбовые соединения относятся к разъемным соединениям, удовлетворяющим следующим требованиям:

• возможность многократной сборки и разборки изделий без их повреждения;

• неизменность форм и размеров деталей после многократной сборки и разборки;

• сохранение при повторных сборках и разборках точного и определенного взаимного расположения деталей и их поверхностей в пределах требований к конструкции;

• сохранение взаимного расположения деталей после их соединения при работе в жестких условиях, таких как вибрация и сотрясения.

 

 

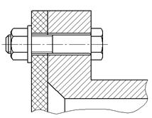
При соединении деталей болтом, соединяемые детали имеют гладкие сквозные отверстия под болт (рис. 6.1).

       
 
   
Деталь
 


Болт

Рис. 6.1 Резьбовое соединение, в котором применены болт, гайка и шайба

При соединении деталей винтами и шпильками гладкое сквозное отверстие выполняется в притягиваемой детали 1. В сопряженной с ней детали, участвующей в данном соединении, может быть резьбовое отверстие (рис.6.2) или не резьбовое отверстие с соответствующим конструктивным исполнением, например, с отверстием под головку винта (рис. 6.3). Эти конструктивные элементы называют опорными поверхностями.

 

а б

Рис. 6.2 Резьбовое соединение с применением: а) винта;

б) шпильки, гайки и шайбы

Таблица 6.1

Сквозные отверстия под крепежные детали, в мм (ограничение ГОСТ 11284-75*)

Диаметры стержней крепежных деталей Отверстия сквозные Диаметры стержней крепежных деталей Отверстия сквозные
1-й ряд 2-й ряд 3-й ряд 1-й ряд 2-й ряд 3-й ряд
1,0 1,2 1,4 1,6 2,0 2,5 3,0 4,0 5,0 6,0 1,2 1,4 1,6 1,8 2,2 2,7 3,2 4,3 5,3 6,4 1,3 1,5 1,7 1,9 2,4 2,9 3,4 4,5 5,5 6,6 - - - - 2,6 3,1 3,6 4,8 5,8 7,0 8,0 10,0   8,4 10,5 12,5 14,5 16,5 18,5   9,0 11,0 13,0 15,0 17,0 19,5 22,0 24,0 26,0   10,0 12,0 15,0 17,0 19,0 21,0 24,0 26,0 28,0  

Рис. 6.3 Разъемное соединение с применением винта

 

Таблица 6.2

Рекомендация по выбору рядов сквозных отверстий для крепежных деталей (приложение ГОСТ 11284-75*)

 

Число отверстий и их расположение Способ образования отверстий Тип соединения Рекомендуемый ряд сквозных отверстий (см. табл. 1)
I II
два сквоз-ных отверстия без резьбы одно отверстие сквозное без резьбы, второе – с резьбой
Любое число отверстий и любое их расположение Обработка отверстий по кондукторам I и II 1-й
Отверстия расположены в один ряд и координированы относительно оси отверстия ил базовой плоскости Пробивка отверстий шпампами повышенной точности, литье под давлением и по выплавляемым моделям повышенной точности I
II 2-й
Отверстия (числом до 4) расположены в два ряда и координированы относительно их осей Обработка отверстий по разметке, пробивка штампами обычной точности, литье нормальной точности I
II 3-й
Отверстия расположены в два и более ряда и координированы относительно осей отверстий или базовых плоскостей Пробивка отверстий штампами повышенной точности, литье под давлением и литье по выплавляемым моделям повышенной точности I и II 2-й
Отверстия расположены по окружности Обработка отверстий по разметке, пробивка штампами обычной точности, литье нормальной точности I 3-й

Диаметры гладких отверстий больше диаметра стержня крепежной детали, что позволяет ей свободно пройти через отверстие. Диаметры проходных (сквозных) отверстий под болты, винты, шпильки приведены в таблице 6.1, а рекомендации по выбору – в таблице 6.2ГОСТ 12876-70* регламентирует запас нарезки, глубина сверления и другие параметры резьбовых деталей и соединений.

Некоторые рекомендации ГОСТа 12876-70* приведены в таблицах 6.3, 6.6.

В случае, когда по условиям конструкции узла номинальные размеры диаметра отверстия и диаметра стержня болта равны, т.е. в соединении без зазора, необходимо устранить контакт кромки отверстия с галтелью под головкой болта или винта, как это показано на рис. 6.4. Размеры такого соединения регламентированы ГОСТ 24670-81. Размеры сквозных квадратных и продолговатых отверстий регламентированы ГОСТ 16030-70*.

При конструировании разъемных резьбовых соединений встречаются случаи, когда сквозное отверстие в притягиваемой детали необходимо выполнить квадратным или продолговатым (рис. 6.5).

Рис. 6.4 Соединение без зазора   Рис. 6.5 Разъемное соединение с квадратным отверстием в детали

 

Размеры фасок, сбегов, недорезов и проточек для метрической резьбы регламентируются ГОСТом 10549-80*, а также ГОСТом 27.148-86 «Изделия крепежные. Выход резьбы. Сбеги, недорезы и проточки. Размеры». Сокращенные варианты ГОСТа 10549-80* приведены в таблицах 6.5, 6.7.

Таблица 6.3

Глубина нарезки под винты, шпильки, в мм

Материал детали Глубина ввинчивания Н, нарезки Н1 и сверления Н2 Номинальный диаметр резьбы d
  1,2 1,4 1,6   2,5              
Сталь, чугун, бронза, латунь Н     1,5   2,5                
Н1 2,5 2,5   3,5 4,5 5,5 5,5           20,5
Н2     3,5                    
Легкие металлы и пластмассы Н - - - -               - -
Н1 - - - -               - -
Н2 - - - - 6,5             - -

В сборочных чертежах соединения крепежными деталями обычно изображают упрощенными или условными (если диаметр резьбы на чертеже менее 2 мм). Такие изображения регламентированы ГОСТом 2.315-68*.

Опорные поверхности под головки винта могут быть различного конструктивного решения, и они регламентируются ГОСТом 12876-70*, приведенным в таблице 6.4.

 

Таблица 6.4

Опорные поверхностипо ГОСТ 12876-70* (сокращенный вариант)

Эскиз Назначение Номинальный диаметр резьбы
  1,2 1,4 1,6   2,5                
Под болты с шестигранной головкой, под шайбы пружинные, стопорные с наружными зубьями, стопорные с внутренними зубьями D - - -                      
D1 - - -                      
Под шайбы D - - -                      
D1 - - -                      
Под винты с цилиндрической головкой и шестигранным углублением «под ключ», с полукруглой и цилиндрической головкой     D 1 ряд 2,3 2,9 2,9 3,3                    
2й ряд
H1   - - - - - - -              
H2 0,7 0,8   1,2 1,4 1,7   2,8 3,5          
D1 - - - - - - -              
Под винты с потайной и полупотайной головкой и шурупы D1 2,5 2,8 3,2 3,8 4,6 5,6 6,5 8,3 10,3 12,3        
Под шайбы стопорные с зубьями (для винтов с потайной и полупотайной головкой под углом 90о) D - - - - - -     11,5 14,5       -

 

Примечание. Размер h устанавливается конструктор.

 

Таблица 6.5

Сбеги, недорезы, проточки и фаски для внутренней метрической резьбы(ГОСТ 10549-80*)

b1
45 o
b2
t3
C x 45 o
t4
45 o
R2
R1
R

 

Шаг резьбы Сбег резьбы Недорез Проточка
f3 f4 нормальная узкая d1 C
нормаль ный умень-шенный нормаль-ный умень-шенный b1 R R1 b2 R2
0,2 0,5 0,3 1,2 1,0             0,2
0,25 0,6 0,4 1,5 1,2
0,3 0,7 0,5
0,35 0,8 2,0 1,8 0,3
0,4 0,9 0,6
0,45 1,1 0,7
0,5 1,2 0,8 3,5 3,0 2,0 0,5 0,3 1,0 0,3 d+0,3 0,5
0,6 1,5 1,0            
0,7 1,8 1,2
0,75 1,9 1,3 4,0 3,2 3,0 1,0 0,5 1,6 0,5 d+0,4 1,0
0,8 2,1 1,4            
  2,7 1,8 5,0 3,8 4,0 1,0 0,5 2,0 0,5 d+0,5
1,25 3,3 2,2 5,0 1,5 3,0 1,0 1,5
1,5 4,0 2,7 6,0 4,5 6,0 1,0 d+0,7
1,75 4,7 3,2 7,0 5,2 7,0 4,0
  5,5 3,7 8,0 6,0 8,0 2,0 d+1,0  

 

Таблица 6.6

a
Запас резьбы, мм

Диаметр d                 14-16 18-20
Выход а из гайки 0,3-1 0,5-1,6 1-2 1-2 1,5-2,5 1,5-2,5 2-3 2-3 2,5-4 2,5-4

Таблица 6.7

Сбеги, недорезы, проточки и фаски для наружной метрической резьбы. (ГОСТ 10549-80*)

R3
45 o
b1
b1
b
45 o
R1
t2
C x 45 o
t1
R
R = d

Шаг резьбы Сбег резьбы Недорез d1 Проточка С
t1 t2
При угле заборной части инструмента нормальная уменьшенная Тип I (нормальная) Тип II  
20о 30о 40о b R R1 b1 R2
0,2 0,4 0,3 0,2 0,5 0,4 - - - -     0,2
0,25 0,5 0,6 0,5
0,3 0,4 0,7
0,35 0,6 0,3 0,8 0,6 d-0,6 0,3
0,4 0,7 0,5 1,0 0,8 1,0 0,3 0,2
0,45 0,8 d-0,7
0,5 1,0 0,6 0,4 1,6 1,0 d-0,8 1,6 0,5 0,3 0,5
0,6 1,2 0,7 d-0,9
0,7 1,3 0,8 0,5 2,0 1,6 d-1,0 2,0
0,75 1,5 d-1,2 1,0
0,8 0,9 0,6 3,0 3,0 1,0 0,5
  1,8 1,2 0,7 2,0 d-1,5 3,6 2,0
1,25 2,2 1,5 0,9 4,0 2,5 d-1,8 4,0 4,4 2,5 1,5
1,5 2,8 1,6 1,0 d-2,2 4,6
1,75 3,2 2,0 1,2 d-2,5 5,4 3,0
  3,5 2,2 1,4 5,0 3,0 d-3,0 5,0 1,5 5,6 2,0

 

 

<== предыдущая лекция | следующая лекция ==>
Фитинги | Основные требования. Изображения упрощенные и условные крепежных деталей
Поделиться с друзьями:


Дата добавления: 2014-01-07; Просмотров: 545; Нарушение авторских прав?; Мы поможем в написании вашей работы!


Нам важно ваше мнение! Был ли полезен опубликованный материал? Да | Нет



studopedia.su - Студопедия (2013 - 2026) год. Все материалы представленные на сайте исключительно с целью ознакомления читателями и не преследуют коммерческих целей или нарушение авторских прав! Последнее добавление




Генерация страницы за: 0.01 сек.