Студопедия

КАТЕГОРИИ:


Архитектура-(3434)Астрономия-(809)Биология-(7483)Биотехнологии-(1457)Военное дело-(14632)Высокие технологии-(1363)География-(913)Геология-(1438)Государство-(451)Демография-(1065)Дом-(47672)Журналистика и СМИ-(912)Изобретательство-(14524)Иностранные языки-(4268)Информатика-(17799)Искусство-(1338)История-(13644)Компьютеры-(11121)Косметика-(55)Кулинария-(373)Культура-(8427)Лингвистика-(374)Литература-(1642)Маркетинг-(23702)Математика-(16968)Машиностроение-(1700)Медицина-(12668)Менеджмент-(24684)Механика-(15423)Науковедение-(506)Образование-(11852)Охрана труда-(3308)Педагогика-(5571)Полиграфия-(1312)Политика-(7869)Право-(5454)Приборостроение-(1369)Программирование-(2801)Производство-(97182)Промышленность-(8706)Психология-(18388)Религия-(3217)Связь-(10668)Сельское хозяйство-(299)Социология-(6455)Спорт-(42831)Строительство-(4793)Торговля-(5050)Транспорт-(2929)Туризм-(1568)Физика-(3942)Философия-(17015)Финансы-(26596)Химия-(22929)Экология-(12095)Экономика-(9961)Электроника-(8441)Электротехника-(4623)Энергетика-(12629)Юриспруденция-(1492)Ядерная техника-(1748)

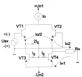
Современный входной дифференциальный каскад

 

Схема показана на рис. 79. VT1 и VT2 с источником тока I0 повторяют первую схему. Добавлены VT3 и VT4, образующие повторитель тока эмиттера транзистора VT1. Ток 2Iб при больших коэффициентах усиления»0. Схема на транзисторах VT3 и VT4 называется “токовое зеркало”.

Рис. 79 Современный входной дифференциальный каскад

 

При Uвх=0: IVT1=I0/2, IVT2=I0/2, IVT4=IVT1=I0/2. Т.к. IVT2=IVT4 , то Iн=0. При Uвх>>0: VT1-открыт, VT2 -закрыт, IVT1=IVT4=I0, IVT2=0, поэтому Iн=Iн1=I0.

При Uвх<<0: VT1 -закрыт, VT2 -открыт, IVT1=IVT4=0, IVT2=I0, поэтому Iн=Iн2= -I0.

Существуют и другие варианты подобных каскадов. Для получения большого коэффициента усиления операционные усилители обычно дела-

ются трехкаскадными. Следующий второй каскад называется промежуточным каскадом.

 

<== предыдущая лекция | следующая лекция ==>
Входной дифференциальный каскад | Инвертирующее включение
Поделиться с друзьями:


Дата добавления: 2014-01-07; Просмотров: 315; Нарушение авторских прав?; Мы поможем в написании вашей работы!


Нам важно ваше мнение! Был ли полезен опубликованный материал? Да | Нет



studopedia.su - Студопедия (2013 - 2026) год. Все материалы представленные на сайте исключительно с целью ознакомления читателями и не преследуют коммерческих целей или нарушение авторских прав! Последнее добавление




Генерация страницы за: 0.01 сек.