Студопедия

КАТЕГОРИИ:


Архитектура-(3434)Астрономия-(809)Биология-(7483)Биотехнологии-(1457)Военное дело-(14632)Высокие технологии-(1363)География-(913)Геология-(1438)Государство-(451)Демография-(1065)Дом-(47672)Журналистика и СМИ-(912)Изобретательство-(14524)Иностранные языки-(4268)Информатика-(17799)Искусство-(1338)История-(13644)Компьютеры-(11121)Косметика-(55)Кулинария-(373)Культура-(8427)Лингвистика-(374)Литература-(1642)Маркетинг-(23702)Математика-(16968)Машиностроение-(1700)Медицина-(12668)Менеджмент-(24684)Механика-(15423)Науковедение-(506)Образование-(11852)Охрана труда-(3308)Педагогика-(5571)Полиграфия-(1312)Политика-(7869)Право-(5454)Приборостроение-(1369)Программирование-(2801)Производство-(97182)Промышленность-(8706)Психология-(18388)Религия-(3217)Связь-(10668)Сельское хозяйство-(299)Социология-(6455)Спорт-(42831)Строительство-(4793)Торговля-(5050)Транспорт-(2929)Туризм-(1568)Физика-(3942)Философия-(17015)Финансы-(26596)Химия-(22929)Экология-(12095)Экономика-(9961)Электроника-(8441)Электротехника-(4623)Энергетика-(12629)Юриспруденция-(1492)Ядерная техника-(1748)

Тема: конструирование и расчет прибылей




ЛЕКЦИЯ 26.

 

План лекции

1. Определение формы и размеров прибылей.

2. Определение формы и размеров питающих бобышек.


Определение размеров и геометрической формы прибыли.

Метод П.Ф. Василевского. На размеры прибыли существенно влияет способ заливки, место подачи металла и его температура и т.д.

Выбор места установки прибылей и определение их размеров следует начинать с выделения отдельных узлов отливки. Узлы отливки можно при- вести к двум типовым схемам питания (рис. 171, 172).

 

 

 

 

Рис. 171. Питание отливок по первой типовой схеме

 

 

На основе практических данных и положений, разработанных П.Ф. Ва- силевским, основные размеры прибылей применительно к каждой схеме пи- тания определяются по табл. 66, 67.

 

 


 

Ориентировочные соотношения основных параметров отливки δо

δо, мм Дп/δо при отношении Нп/Дп Прибыли Доливка прибыли через каналы дополнительной литниковой системы
    1,2-1,25   1,5
50-120 2,4-2,6 2,3-2,5 2,2-2,3 закрытые -
  120-200   2,2-2,5   2,1-2,4   2,0-2,3 закрытые открытые - необходимо
200-500 2,1-2,3 2,0-2,3 1,9-2,2 открытые необходимо

 

и прибыли Дп по первой типовой схеме питания [2]


Таблица 66


 

 

Примечание. Нижние и промежуточные значения Дп/δо относятся к случаям приме-

нения прибылей с отношением размеров L п/Дп≥2, а также, если прибыли доливаются свер-

ху. При шаровой форме прибыли применяется Нп/Дп=1.

 

 

Отливку условно делят на самостоятельные узлы питания, определяют поперечный размер питаемой стенки δо или диаметр окружности, вписанный в питаемый узел, а по второй схеме питания подсчитывают также соотноше- ние Н о/δо. На основании этих данных выбирают по табл. 67 для близких зна- чений δо и Н о/δо соответствующие отношения До/δо и Н п/Дп, а также относи-


тельную протяженность прибыли В = (1-2)Дп. В зависимости от протяженно- сти термических узлов и конструкции отливки определяется количество при- былей, необходимое для ее питания.

 

 

 

Рис. 172. Питание отливок по второй типовой схеме

 

 

После этого отношения переводят в конкретные размеры, строят контур прибыли и определяют технологический выход годного, т.е. отношение мас- сы отливки к расходу жидкого металла на отливку, выраженное в процентах (табл. 68).

Метод Уралмашзавода. Простейший метод расчета прибылей для раз- ностенных отливок и отливок, имеющих отношение преобладающих толщин стенок (максимальной к минимальной) в пределах 1,5-2,5, разработан и при- меняется на Уралмашзаводе. Формула расчета имеет вид

 

 


Дш.п


(0,4


0,45)3 V ж.м


Т, (4)


 

где Дш.п – диаметр шаровой прибыли, дм; V ж.м – объем жидкого металла, не-

обходимого для изготовления отливки вместе с прибылями, дм3; Т – толщина стенки тела отливки, дм.


 

 

Ориентировочные соотношения основных параметров отливки δо

δо, мм Но/δо Дп/δо Нп/Дп а, мм b не менее, мм l, мм h 1, не более, мм
испол- нение I испол- нение II испол- нение I испол- нение II
    1,3-1,8 1,4-1,9 1,5-2,0 1,6-2,1 1,7-2,2 1,8-2,3 1,2-1,3 1,2-1,4 1,2-1,5 1,1-1,2 1,1-1,3 1,2-1,5     Но-6δо Но-50 Но-50 6δо
    1,2-1,6 1,3-1,7 1,4-1,8 1,5-2,0 1,6-2,1 1,8-2,3 1,2-1,3 1,2-1,4 1,2-1,5 1,1-1,2 1,1-1,3 1,2-1,5     Но-6δо Но-60 Но-60 6δо
    1,2-1,4 1,3-1,4 1,3-1,5 1,4-1,9 1,5-2,0 - 1,1-1,3 1,2-1,5 - 1,0-1,2 1,1-1,4 - - - - Но-60 Но-60 6δо
    1,2-1,4 1,2-1,5 1,2-1,5 1,4-1,8 - - 1,2-1,4 - - 1,1-1,5 - - - -   - - Но-60 Но-60 6δо

 

и прибыли Дп по второй типовой схеме питания [2]


Таблица 67


 

Примечание. Нижние пределы отношений Дп/δо относятся к случаям доливок ме-

талла в прибыль после окончания заливки формы. Приливы а, b предназначены для ком-

пенсации возможных утонений тела в подприбыльной части и выполняются сверх формо-

вочного уклона (рис. 172).

 

 


 

Ориентировочный технологический выход годного для отливок,

изготовленных из углеродистых и низколегированных сталей [2]


Таблица 68


Группы Отливки Масса от- ливки, кг Преобладающая толщина стенок отливки, мм Технологический выход годного, %
прибыли открытые прибыли закрытые
    Мелкие отливки: ответственного назначения   особо ответствен- ного назначения   до 100   до 100   до 20 20-50 свыше 50 до 20 20-50 свыше 50   54-62 53-60 52-58 52-58 51-57 50-56   59-67 58-65 57-63 57-63 56-62 55-61
    Средние отливки: ответственного назначения   особо ответствен- ного назначения   100-500   100-500   до 30 30-60 свыше 60 до 30 30-60 свыше 60   56-64 54-62 52-60 54-62 53-60 50-58   61-69 59-67 57-65 59-67 58-65 55-63
  Крупные отливки: ответственного назначения   особо ответствен-   500-5000   500-5000   до 50 50-100 свыше 100 до 50   57-65 55-63 53-61 55-63   62-70 60-68 56-66 60-68

 

  ного назначения   50-100 свыше 100 53-61 51-59 58-66 56-64
  Очень крупные отливки: ответственного назначения   особо ответствен- ного назначения   свыше   свыше   до 50 50-100 свыше 100 до 50 50-100 свыше 100   58-66 56-64 54-62 57-65 55-63 53-61   62-70 60-68 58-66 61-69 59-67 57-65
    Зубчатые колеса до 100 100-500 свыше 500 - - - - 54-58 55-59 55-60 58-62 59-63
    Зубчатые венцы до 1000 свыше -   - 56-60   58-62 59-63   61-65
  Цилиндры, плун- жеры с механиче- ски обрабатывае- мыми наружными или внутренними поверхностями   свыше   -   61-67   -

 

Примечание. Расход металла на литники принят 3-6 % от общей массы жидкого ме-

талла, в том числе около 6 % при массе отливок до 500-600 кг.

 

 

По результатам расчета можно построить схему (рис. 173).

Для определения диаметра шаровой прибыли приняты следующие зна-

чения:

- объем усадочной раковины равен (0,03-0,04) V ж.м и выражен как π d 3/6,

где d – диаметр шара, равный объему усадочной раковины;

- для компенсации влияния различных факторов на объем усадочной раковины введен коэффициент запаса 1,25;

- удельный вес жидкого металла γ=7,0 кг/дм3;

- скорость кристаллизации металла в отливке и в прибыли равны: если отливка с толщиной тела Т затвердевает, то в прибыли с каждой стороны об- разуется слой твердого металла, равный Т/2 (рис. 173);

- для определения количества жидкого металла, необходимого для изго-

товления отливки, выход годного ориентировочно принимается 60-80 %.

Для примера возьмем выход годного, равного 70 %. Тогда, зная массу отливки q, можно определить массу жидкого металла, кг:

 

 


Р q

0,7


 

. (5)


 

Объем жидкого металла, дм3:


 

V ж.м


Р. (6)


 

 

Рис. 173. Схема построения шаровой прибыли

 

 

Если на отливку требуется установить несколько прибылей, то для оп- ределения их размеров принимается объем жидкой части отливки, на кото- рую будет установлена прибыль.

Для отливок, имеющих массивный узел, диаметр прибыли вычисляют по методу Нехендзи и Оболенцева:

 

 


Д п d


(0,1


0,2)3


Q, (7)


 

где Дп – диаметр прибыли, дм; d – диаметр окружности, вписанной в узел, дм;

Q – вес питаемого узла, кг; 0,1 – коэффициент, принятый для концентриро-

ванного узла; 0,2 – коэффициент для разветвленного узла.

Высота прибыли принимается (1,0-1,5)Дп, относительная протяжен- ность прибылей – 30-50 % и более в зависимости от конфигурации отливки, длины детали или питаемого узла.

Метод Пржибыла. Расчет прибылей по методу И. Пржибыла применим для многих литейных сплавов. Более надежные результаты он дает в случае

образования концентрированных усадочных раковин, например, при изготов- лении отливок из стали, высокопрочного чугуна и т.д. Объем прибыли V п оп- ределяется по уравнению

 

 

V п V V у, (8)

1 V

 

 

где β – отношение объема прибыли к объему усадочной раковины (V п/ V р); ε V

часть объемной усадки сплава, принимающая участие в формировании уса-

дочной раковины; V у – объем питаемого узла отливки, м3.

Для определения V п по данному уравнению необходимо выделить в от-


ливке узлы питания и рассчитать объем V у каждого из них.

Величина ε V зависит от типа сплава: для алюминиевых ε V =0,043-0,055;

для магниевых ε V =0,040-0,045; для цинковых ε V =0,045-0,050; для латуней

ε V =0,061-0,065; для безоловянных бронз ε V =0,08, для оловянных бронз

ε V =0,045-0,050, для сталей и высокопрочного чугуна ε V =0,045.

Коэффициент β выбирается из условия работы прибыли: для прибылей,

где рабочее давление ниже атмосферного β=11-12; для прибылей с атмосфер- ным давлением в усадочной раковине β=9-10; для теплоизолированных при- былей β=8-9; для обогреваемых прибылей β=6-7.

Из найденного объема V п рассчитываются размеры прибыли. При этом отношение высоты прибыли к ее диаметру Н п: D п на отливках ориентировочно должно быть равно 1,25-1,50 для закрытых и 1,50-1,90 для открытых прибы- лей. Расчетные формулы для определения конструктивных параметров при- былей различных конфигураций приведены в табл. 69 [12].

 

 


Вид прибыли Характеристика Расчетная формула
    Шаровая прибыль   D 1,243 V п
      Закрытая куполо- образная цилинд- рическая прибыль     H V п 2 r r 2 3 Н+r не менее высоты питаемого узла
    Закрытая куполо- образная прибыль с компактной фор- мой горизонталь- ного сечения     V 0,45 r 2 b H п F Н+r не менее высоты питаемого узла

 

Определение высоты типовых конструкций прибылей


Таблица 69


 

      Открытая цилинд- рическая или ко- ническая прибыль     H 4 V п D 2
      Открытая прибыль с компактной фор- мой горизонталь- ного сечения   H V п 0,95 F

 

 

После определения конструктивных размеров прибыли прогнозируется

эффективность работы прибылей и определяется технологический выход годного. Для этого рассчитывается R п и сравнивается с R y (R – приведенная толщина прибыли или теплового узла, равная отношению объема к поверхно- сти охлаждения: R = V / F). Для сплавов, заливаемых без перегрева, R п/ R y должно быть не менее 1,03.

Приближенный технологический выход годного (ТВГ) определяется по формуле

 

 


 

ТВГ


V о

V о V п


 

V р (1


V о

V) (V о


 

 

V п)


 


 

% (9)


 

где V o – объем отливки, м3; V p – объем усадочной раковины, м3.

Полученный ТВГ сравнивается с нормируемым для подобных отливок.

В большинстве случаев при литье цветных сплавов в песчано-глинистые формы эта величина составляет 45-70 %. При заниженных значениях ТВГ принимается решение об использовании какого-либо способа повышения эф- фективности работы прибылей.

Метод расчета прибылей для зубчатых колес и венцов. Расчет прибы- лей ведут по второй типовой схеме питания (рис. 174) [7]. Величину подпри- быльного пополнения рассчитывают в зависимости от диаметра окружности Д, вписанной в питаемый узел, и толщины обода А.

Пополнение а, необходимое для определения размера Д, принимается равным 0,2 А.

Ширина основания прибыли определяется суммой размера диаметра Д


и К, где К составляет 0,3 Н. Величину Н находят в результате построения.

По внутреннему диаметру ступицы подприбыльное пополнение опре- деляют по методу вписанных окружностей, основанному на правиле управ- ляемого направленного затвердевания. При малом внутреннем диаметре сту- пицы иногда бывает целесообразно отверстие в ступице не выполнять. Под- вод металла производится под прибыль сифоном в ступицу и обод в деталях с наружным диаметром более 1200 мм или только в обод при диаметре колеса менее 1200 мм.

 

 

 

Рис. 174. Эскиз конструирования прибыли на зубчатом колесе:

1 – контур закрытой прибыли; 2 – контур открытой прибыли; 3 – грязесборник

 

 

Упрощенный метод расчета прибыли (рис. 175) на ободе зубчатых ко-

лес разработан и применяется на Уралмашзаводе (табл. 70).

 

 

Метод расчета фланцевых прибылей. Технологические пополнения на- значают по толщине и внешнему контуру механически необрабатываемой поверхности фланцев. Эти пополнения не тождественны припуску на меха- ническую обработку. Расчет фланцевых прибылей (рис. 176) на детали типа тройников, патрубков, колен производится согласно табл. 71.

Метод расчета прибылей для отливок из цветных сплавов. Для расчета площади поперечного сечения прибыли предлагается упрощенный метод рас- чета по отношению диаметра прибыли Дп к диаметру окружности, вписанной в питаемый узел отливки Ду (метод Б.Б. Гуляева):

для компактных узлов

 

 


Дп 1,05

Д у l


1,15; (10)


 

для узлов со среднеразвитой поверхностью


Д п 1,15

Д у


1,50; (11)

l


 

 

Рис. 175. Эскизы прибылей на ободе зубчатых колес:

а – диск, выполненный под углом; б – однодисковое колесо;

в – двухдисковое колесо; г – трехдисковое колесо

 

для узлов с очень развитыми поверхностями

 

 

Д п 1,50; (12)

Д у l


где Дп – диаметр прибыли; Ду – диаметр питаемого узла.

 

 


 

Размеры, необходимые для построения прибылей

на ободе зубчатого колеса, по данным Уралмашзавода


Таблица 70


Тип зубчатого колеса Размер, мм Выход годного, %
в В Н п R относительная протяженность прибылей, %
Диск, выпол- ненный под углом (рис. 175, а)     1,4Д     (1,8-2,0)Д     (0,90-1,10)А     1,15Д     35-42     60-67
Однодисковое колесо (рис. 175, б)   1,3Д   (1,6-1,8)Д   (0,90-1,10)А   1,15Д   35-42   60-67
Двухдисковое колесо (рис. 175, в)   -   (2,5-3,3)δ   (0,70-0,85)А   -   38-42   61-69
Трехдисковое колесо (рис. 175, г)   (1,6-1,8)Д   (2,0-2,8)Д   (0,60-0,75)А   -   38-42   61-69

 

Примечание. Построение прибылей производится с учетом следующих условий: для

однодисковых зубчатых колес с тонким ободом (Д≤60 мм) высотой до 100 мм и диаметром до 600 мм принимается Н п=(1,4-1,5) А; L =22-50 % (при отсутствии ребер жесткости диска ставится только одна прибыль, принимая L =22-30%); для двух-трехдисковых зубчатых ко- лес с толщиной обода δ>70 мм и высотой примерно 200 мм принимают Н п= А. Необходимо проверить, чтобы отъемная часть закрытой прибыли вместе с хвостовиком свободно из- влекалась из формы.

 

 


 

Размеры для построения фланцевых прибылей


Таблица 71


Наименование основных разме- ров Значение основных величин при отношениях
Н / b <1,3 Н / b≥ 1,3
Напуск на фланец исключается δ=0,05Д
Охват фланца (по хорде) L =0,8Д L =(0,6-0,65)Д
Высота прибыли Н п=0,4Д Н п=0,5Д
Угол перехода шейки прибыли α=60о α=60о
Боковой конус прибыли α1= Н п/10 α1= Н п/10
  Приращение толщины прибыли   С =0,4в С =0,4в С 1=0,05Д+0,4в

 

 

Отношения берутся тем больше, чем больше отношение длины питае-

мого узла к его толщине.

Высота прибыли Н п=(1,0-1,5)Дп. Форма прибылей аналогична прибы-

лям для стальных отливок. Применяется прибыль прямого и бокового дейст-


вия. Наиболее эффективны прибыли прямого действия. В отливках с явно выраженными тепловыми узлами прибыли располагают над ними.

 

 

Рис. 176. Эскизы фланцевых прибылей

 

 

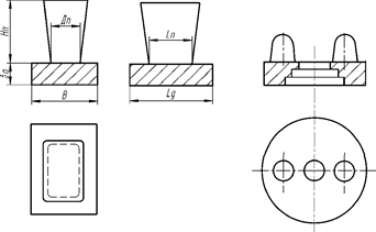
Метод расчета питающих бобышек. Питающие бобышки применяют- ся для питания чугунных отливок, имеющих местные узлы диаметром впи- санной окружности более 30 мм.

Конструкция питающей бобышки и подвод металла показаны на

рис. 177.

При расчете питающей бобышки определяют ее диаметр Дбоб и высоту

Н (рис. 177): Дбоб≥1,2 Дузла; Н =(1,2-1,4)Дбоб.

Сечение шлакоуловителя находят по соотношению

 

 


F шл


1,8 F пит. (13)


 

Размеры в и h подбираются в зависимости от величины F шл.

При питании от одной бобышки нескольких отливок сечение бобышки

следует увеличить на 25-40 %. Размеры питающих бобышек приведены в табл. 72.

В зависимости от расположения отливки в форме шлакоуловитель мо-


жет быть выполнен в нижней или в верхней полуформе (рис. 178).

 

 

 

Рис. 177. Эскиз питающей бобышки и подвод металла:

1 – шлаковик; 2 – стояк; 3 – питатель; 4 – питающая бобышка;

5 – шлакоуловитель бобышки; 6 – узел, нуждающийся в питании; 7 – отливка

 

 


Дузла Исполнение Дбоб Н d d 1 h h 1 К L
  35-45 I II         - - 30,0    
  46-55 I II         - - 37,5    
  56-70 I II         - - 45,0    
  71-85 I II         - - 55,0    
  86-100 I II         - - 65,0    
  101-115 I II         - - 75,0    
  116-130 I II         - - 90,0    
  131-150 I II         - -    

 

Размеры питающих бобышек, мм


Таблица 72


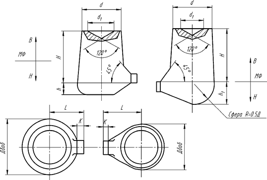
Метод расчета выпоров простых и бутылочных. В конструкции про- стые выпоры делятся на отводные и установленные непосредственно на тело отливки (рис. 179, 180).

 

 

 

Рис. 178. Конструкция питающих бобышек

 

 

 

Рис. 179. Выпор отводной конструкции Рис. 180. Выпор щелевой конструкции

 

 

Выпоры, установленные непосредственно на тело отливки, могут быть круглого и прямоугольного сечения (щелевые). Последние чаще применяются при изготовлении тонкостенных отливок.

Площадь суммарного сечения всех поставленных на отливку выпоров определяют по формуле

 

 


F вып


1,3


F ст, (14)


где Σ F вып – площадь суммарного сечения выпоров; Σ F ст – площадь суммарно-

го сечения стояков.

Площадь сечения отвода для выпора должны быть не менее площади сечения выпора.

Рекомендуемые размеры простых выпоров приведены в табл. 73.

 

 


 

Рекомендуемые размеры простых выпоров


Таблица 73


 

 

Площадь сечения вы- пора, мм2 Размеры выпора круглого и прямоугольного сечения, мм Сечение отвода, мм Масса выпора, кг Примечание
d a×b H К
    10×50     25×19 1,3  
    13×55   30×24 2,3
    15×65   35×27 3,6
    17×75     40×32 4,4
    20×100   50×39 6,6
    25×115   60×47 8,6
    30×130     70×54 14,3
    35×145   80×63 18,4

 

Уклон на мо-

дели выпора принимать

1:20

 

 

Контрольные вопросы.

 

 

1. Как определяется формы и размеры прибыли?

2. Условия получения отливки без усадочных раковин.

3. Какие виды усадки знаете?

4. Как компенсируют усадку?

5. Что такое легкоотделяемая прибыль?

6. Опишите конструкцию прибылей с экзотермическими вставками.

7. Какова роль прибылей в формировании отливки?

8. Прибыль установлена сверху. Как влияет на возможность появления усадочных раковин продолжительность заливки при подводе металла снизу и сверху (под прибыль)?

9. Какие дефекты образуются при отсутствии прибыли?

10.Как влияет внешнее давление на формирование отливок без раковин,

усадочных пор?

 




Поделиться с друзьями:


Дата добавления: 2014-01-07; Просмотров: 4532; Нарушение авторских прав?; Мы поможем в написании вашей работы!


Нам важно ваше мнение! Был ли полезен опубликованный материал? Да | Нет



studopedia.su - Студопедия (2013 - 2026) год. Все материалы представленные на сайте исключительно с целью ознакомления читателями и не преследуют коммерческих целей или нарушение авторских прав! Последнее добавление




Генерация страницы за: 0.011 сек.