Студопедия

КАТЕГОРИИ:


Архитектура-(3434)Астрономия-(809)Биология-(7483)Биотехнологии-(1457)Военное дело-(14632)Высокие технологии-(1363)География-(913)Геология-(1438)Государство-(451)Демография-(1065)Дом-(47672)Журналистика и СМИ-(912)Изобретательство-(14524)Иностранные языки-(4268)Информатика-(17799)Искусство-(1338)История-(13644)Компьютеры-(11121)Косметика-(55)Кулинария-(373)Культура-(8427)Лингвистика-(374)Литература-(1642)Маркетинг-(23702)Математика-(16968)Машиностроение-(1700)Медицина-(12668)Менеджмент-(24684)Механика-(15423)Науковедение-(506)Образование-(11852)Охрана труда-(3308)Педагогика-(5571)Полиграфия-(1312)Политика-(7869)Право-(5454)Приборостроение-(1369)Программирование-(2801)Производство-(97182)Промышленность-(8706)Психология-(18388)Религия-(3217)Связь-(10668)Сельское хозяйство-(299)Социология-(6455)Спорт-(42831)Строительство-(4793)Торговля-(5050)Транспорт-(2929)Туризм-(1568)Физика-(3942)Философия-(17015)Финансы-(26596)Химия-(22929)Экология-(12095)Экономика-(9961)Электроника-(8441)Электротехника-(4623)Энергетика-(12629)Юриспруденция-(1492)Ядерная техника-(1748)

Анализ различных исторических и археологических материалов

В середине 50-х г. в США выпустили двухкамерные холодильники с двумя, последовательно соединенными испарителями, широко применяемые до настоящего времени. В 1957 г. появились холодильники с принудительной циркуляцией воздуха, позволившие значительно расширить функциональные возможности.

План

Список литературы

Контрольные вопросы

Заключение

Побег

Дать общие понятия об назначении, задачах, классификации и основных параметрах усилителей промежуточной частоты

Модель механістичної конструкції організації. Вона сформувалася на базі школи наукового менеджменту. Засновник цього напряму Ф. Тейлор розглядав ефективність з погляду факторів часу й руху. Обов'язковою умовою функціонування високоефективної організації він вважав раціональний розподіл праці між виконавцями з наступним групуванням робіт у єдине ціле, причому кожен елемент роботи має бути оптимально спроектованим. Ще далі пішов у цьому напрямі М. Вебер, який запропонував у ролі найефективнішої форми організації раціональну бюрократію. Він розглядав підприємство як механізм, складений із комбінації основних виробничих чинників: засобів виробництва, робочої сили, матеріалів.

Метою підприємства є максимізація прибутку й рентабельності. Для досягнення цього необхідно оптимально використовувати всі види ресурсів. Тому менеджмент організації має орієнтуватися передусім на оперативне управління, за допомогою якого оптимізується структура виробничих факторів і всього процесу виробництва. Відповідно до цього оцінка ефективності функціонування організації здійснюється за економічним показником (відношення обсягу випущеної продукції до використаних ресурсів).

Механістична модель організації дає змогу встановити техніко-економічні зв'язки й залежність різних чинників виробництва, і це є її сильною стороною. Водночас у ній недостатньо враховуються роль і значення людського фактора в ефективній роботі організації, а базою вважаються такі положення школи наукового менеджменту, які критично оцінюються сучасною наукою і практикою. Це, наприклад, пріоритетна орієнтація на великі організації; завоювання позицій на ринку головним чином за рахунок зниження витрат, а не зростання прибутків; широке використання аналітичних методів, результати яких нерідко важко й навіть неможливо використовувати на практиці; прагнення до збереження стабільності (консерватизм); загальний контроль і нагляд за якістю й виконанням планових завдань; уявлення про вищих керівників як про людей, що "мудріші, ніж ринок". Такий вузький погляд на управління й ефективність, оцінювану тільки за економічними результатами, обмежує використання механістичної моделі організації.

Модель організації як колективу, сформованого за принципом поділу праці. В основу її покладені теорії людських стосунків і поведінкових наук (Е. Мейо, Д. Макґрегор, Ч. Барнард та ін.). Ця модель передбачає, що найважливіший чинник продуктивності на підприємстві — людина. Тому елементами моделі є такі складові, як увага до працівників, їхня мотивація, комунікації, лояльність, участь у прийнятті рішень. Іншими словами, моделюється система підтримки людських стосунків усередині організації. При цьому особлива увага приділяється стилю керування і його впливу на показники продуктивності й задоволеності працівників своєю роботою. Перевага віддається демократичному стилю, шо забезпечує найповніше розкриття здібностей членів організації за рахунок залучення їх не лише до виконання, а й до розроблення управлінських рішень.

Основні завдання менеджерів за цих умов полягають в організації і керуванні персоналом, що в результаті має забезпечити досягнення мети підприємства. При цьому організація забезпечує відповідні структури, регулює відносини між працівниками й координує процеси, необхідні для виконання поставлених завдань; керування ж означає особистий і конкретний вплив на співробітників, необхідний для своєчасного прийняття рішень і успішної реалізації намічених планів. Якщо всі внутрішні процеси, пов'язані з персоналом, скеровуються належним чином, в організації не виникає проблем з досягненням завдань щодо випуску продукції, прибутку тощо. За критерій успішності роботи в даній моделі приймається підвищення ефективності організації за рахунок удосконалювання її людських ресурсів. Такий підхід вимагає розроблення спеціальних методів, що дають змогу оцінювати якість праці й виявляти внутрішні процеси, які потребують вживання заходів з метою підвищення її продуктивності.

Недоліком цієї моделі є те, що в ході пошуку резервів підвищення ефективності організації обмежуються лише одним внутрішнім чинником — людським ресурсом і йому підпорядковують усі інші фактори виробництва. Як і в механістичній моделі, керівна система тут зорієнтована на аналіз внутрішніх факторів організації і не враховує умов зовнішнього середовища.

Отже, і перша, і друга моделі розглядали організацію як "закриту систему", на ефективність функціонування якої не впливає зовнішнє середовище. Мабуть, саме ці обмеження спричинили необхідність розробки нових моделей організацій, для яких характерна їхня "відкритість", тобто врахування того, що внутрішня динаміка організації формується під впливом зовнішніх подій.

Модель організації як складної відкритої ієрархічної системи. В її основу покладено загальну теорію систем (А. Чандлером, П. Лоуренсом, Дж. Лоршем); головна ідея полягає у визнанні взаємозв'язків і взаємозалежностей елементів, підсистем і всієї системи в цілому з зовнішнім середовищем. Відповідно до цих теоретичних положень організацію розглядають в єдності ЇЇ складових частин, що нерозривно пов'язані із зовнішнім світом. Ключові фактори її успіху перебувають у двох сферах: зовнішній (з якої вона одержує всі види ресурсів, вбираючи інформацію) і внутрішній (сильні і слабкі сторони якої створюють ті чи інші передумови для перетворення ресурсів у продукцію й послуги).

У цій моделі головним напрямом діяльності менеджерів стає стратегічне управління, оскільки поведінка організації в умовах, коли всі взаємопов'язані підприємства діють за власним сценарієм, не може бути об'єктом точного прогнозування і планування. Ефективність організації при цьому оцінюється як системна доцільність, яка враховує її здатність до саморегулювання, самоорганізації і досягнення цілей при зміні зовнішніх умов. У центрі уваги під час оцінки ефективності опиняються так звані "входи" в систему, тобто ресурси, одержувані з навколишнього середовища. При цьому не береться до уваги ситуація, за якої підтримка безперервного потоку ресурсів в організації може призводити до погіршення ступеня досягнення її цілей.

Оцінюючи досконалість цієї моделі, необхідно враховувати, що, попри велике значення зовнішнього середовища, воно лише встановлює правила гри. Реально визначає рівень системної ефективності будь-якої організації її внутрішнє середовище, яке формується під впливом управлінських рішень, що приймаються керівництвом.

Модель організації, що реалізує концепцію заінтересованих груп. Ця модель (вона формується з 1980-х років) грунтується на теоретичній концепції заінтересованих груп, відповідно до якої організації повинні враховувати різні інтереси партнерів, коло яких може бути досить широким. Підприємства розглядаються як суспільні утворення, у діяльності яких заінтересовані різні групи (як усередині, так і поза ними). Взаємозв'язок підприємств полягає в тому, що вони для колективного, заснованого на розподілі праці, виробництва товарів і послуг використовують ресурси, надані постачальниками, інтереси яких своєю чергою задовольняються продукцією підприємств. Таким чином, цілі підприємств тлумачаться не стільки в плані виробництва і збуту якихось продуктів і одержання прибутку, скільки з позицій задоволення різних запитів пов'язаних з ними груп: споживачів, постачальників, конкурентів, інвесторів, суспільства в цілому. Межі їхніх інтересів встановлюються там, де перевищення вартості послуг, що здобуваються організацією, врівноважується її ресурсними витратами. Такий підхід практично означає прийняття за основу стратегії обмеженої оптимізації, завдяки якій досягнення однієї мети організації лімітується вимогою досягти й інші цілі на прийнятному рівні. Це приводить до необхідності дотримання тривалого балансу між різними за значенням цілями (наприклад, обсяг продажу, прибуток, доходи, інтереси персоналу й місцевих органів влади, захист навколишнього середовища тощо).

Суспільне значення підприємства підсилює роль і вплив на його роботу соціальних норм і цінностей, культурних і моральних установок як усередині системи, так і в стосунках із зовнішнім середовищем. У зв'язку з цим головними функціями менеджменту стають: досягнення високої продуктивності й ефективності шляхом зміцнення духу співробітництва й залучення працівників до справ організації, а також постійного балансування інтересів основних груп зацікавлених осіб, необхідного для зміцнення позицій підприємства в суспільстві.

Визначення ефективності в цих умовах базується на виборі цінностей і визначенні політичної орієнтації організації. Тому поряд з використанням критеріїв соціально-економічної ефективності робота організації оцінюється й за такими напрямами, як політика поєднання власних інтересів з інтересами партнерів по бізнесу, а також відповідність соціально-культурної політики нормам і цінностям колективу й суспільства в цілому.

Характерні риси розглянутих моделей організацій представлені в табл. 2.1 Аналіз показує, що в реальній дійсності немає організацій, які функціонували б цілком відповідно до якоїсь однієї моделі. Найчастіше в них спостерігається процес еволюційного переходу від одних пріоритетів до інших, наприклад від моделі закритого типу з орієнтацією на оптимальне використання ресурсів до моделі, що являє собою відкриту систему, результати діяльності якої визначаються за системним ефектом. У такому разі організація оцінюватиме ефективність за критеріями, рекомендованими обома моделями. В діяльності багатьох організацій (особливо великих) можна відзначити наявність елементів усіх чотирьох базисних концепцій, кожна з яких використовується там і тією мірою, де й наскільки це диктується ситуаційними умовами, що враховують вплив сукупності зовнішніх і внутрішніх факторів.

 

Таблиця 2.1- Характеристика моделей організацій

Назва моделі Механістична організація Організація як колектив, побудований на поділі праці Складна ієрархіч-на систе-ма Організація, що реалізує концепцію заінтересованих груп
Тип моделі Закрита система Закрита система Відкрита система Відкрита система
Теоретична база Школа наукового менеджменту Школи людських стосунків і поведінкових груп Загальна теорія систем Теорія балансу інтересів заінтересо-ваних груп  
Основний вид діяль- ності менед-жменту Оперативне керування виробниц-твом Організація і керування працею Стратегічне керу-вання Забезпечення співробітництва й переговорного про-цесу з партнерами
Критерії ефектив-ності Відношення результатів до витрат Економічна ефективність з урахуванням факторів управління працею Системна доціль-ність Соціально-еконо-мічна й політична орієнтація (баланс інтересів)

 

2.3 Організація як система

 

Сучасна управлінська парадигма формувалася під впливом різних підходів до моделі організації як об'єкта управління. На її основні положення вплинули й суттєві зміни у світовому суспільному й економічному розвиткові, які сталися в останні десятиліття. У другій половині XX ст. країни-лідери вступили в постіндустріальну епоху, якій притаманні нові риси й закономірності. Прискорення науково-технічного прогресу й концентрація наукового та виробничого потенціалу стали головними факторами цих змін. З'явилися нові можливості для зростання бізнесу, особливо в галузях, що орієнтувалися на задоволення безпосередніх потреб людей. Середовище господарювання ускладнилося, стало динамічнішим внаслідок появи значної кількості малих і середніх фірм, що працювали у вузьких ринкових нішах. Великого значення в цих умовах набули такі властивості бізнесу, як гнучкість, динамічність, адаптивність. Виникла потреба в появі нових методів управління, які б враховували сучасні реалії. Відповідно до вимог часу в 60 — 70-ті роки стали домінувати підходи до управління організаціями, названі системними та ситуаційними.

Системний підхід грунтується на понятті системи.

Система (від грец. σηστημα — утворення, складання) — це організована множина взаємопов'язаних компонентів та елементів, що взаємодіють між собою й зовнішнім середовищем у процесі досягнення поставленої мети.

Найскладніші системи — цілеспрямовані, поведінка яких підпорядковується досягненню певної мети, і ті, що здатні до самоорганізації, тобто здатні в процесі свого функціонування вдосконалюватися, реагуючи на зміни в оточенні.

Системний підхід дав змогу зрозуміти, що ефективність будь-якої організації забезпечується не якимось одним її елементом, а є результатом, що залежить від багатьох факторів. У будь-якій системі важлива робота цілого — як результат досягнутої динамічної рівноваги. Системний підхід об'єднав внески різних управлінських шкіл, які в той чи інший час домінували в теорії та практиці управління.

Будь-яка організація розглядається як відкрита система, що постійно взаємодіє із зовнішнім середовищем. Вона складається із взаємозалежних підсистем, які перебувають одна з одною в організаційних відносинах. Приклади організацій як систем наведені в табл. 2.2.

 

Таблиця 2.2 - Види організацій як систем

Система Елементи системи Головна мета
Підприємство Робітники, машини, будівлі, продукція, матеріали, інформація Задоволення попиту на певну продукцію
Автоінспекція Особовий склад, обладнання, машини, засоби зв'язку Попередження ДТП
ЕОМ Фізичні компоненти, засоби зв'язку, програмне забезпечення Обробка, накопичення і зберігання інформації
Органи місцевого самоврядування Держслужбовці, будівлі, засоби зв'язку, оргтехніка Економічний і соціальний розвиток регіону

 

Модель існування організації як відкритої системи може бути представлена такою схемою (рис. 2.2).

 

Рисунок 2.2 - Організація як система

 

Як видно зі схеми, підприємство, орієнтуючись на інформацію щодо стану ринку, на якому воно діє, ринкової кон'юнктури, умов господарювання тощо, відбирає із зовнішнього середовища ті ресурси, які найбільше відповідають вимогам щодо придатності для виготовлення певного продукту, який знайде попит у зовнішньому середовищі. Далі відібрані ресурси поєднуються тим чи іншим способом у виробничому процесі, по завершенні якого підприємство отримує готовий продукт. Цей продукт може бути позитивно або не зовсім добре сприйнятий зовнішнім середовищем, від чого залежатимуть доходи фірми, її фінансове становище і, врешті-решт, спроможність існувати у вигляді даної системи. Зовнішнє середовище може змінювати свої вимоги щодо продукту, який випускає підприємство. Реагуючи на нові вимоги, підприємство модифікує продукт чи, в разі неможливості зробити це, змінює технологію. Під час впровадження нової технології може змінитися не лише сам технологічний процес виготовлення продукції, а й система забезпечення його матеріалами, система управління запасами, система збуту, система підготовки і управління персоналом, система обслуговування споживачів. Якщо ж нова технологія підвищить конкурентоспроможність підприємства, це поліпшить і його діловий імідж, що, у свою чергу, може вплинути на систему фінансового забезпечення діяльності через зміну способу залучення капіталу (охочіше надаватимуться кредити, можливе залучення нових інвесторів, зокрема збільшення числа акціонерів).

 

2.4 Виробничий профіль (місія) організації

Оскільки системний підхід розглядає організацію як цілеспрямовану систему, стає зрозумілим, чому надзвичайно важливим для будь-якої фірми є визначення основної мети її діяльності. Цю основну мету, яка формулюється з огляду на сферу діяльності підприємства, його позицій на ринку, запитів і вимог споживачів, інтересів власників та інших членів організації, а також суспільства в цілому, у західному менеджменті називають місією. Значення місії неможливо переоцінити. Визначені на її основі цілі слугують орієнтиром для прийняття всіх управлінських рішень. Найчастіше місія розглядається з погляду визначення основних потреб споживачів і їх ефективного задоволення. Г. Форд, зокрема, визначив місію власної компанії як "надання людям дешевого транспорту". Таке формулювання місії було гранично зрозумілим персоналові фірми, що дало змогу спрямувати зусилля всіх працівників у потрібному напрямі.

Але при визначенні місії не варто обмежуватися лише врахуванням інтересів споживачів. Вже сама назва головної мети організації — "місія" — свідчить про те, що кожна організація створюється задля того, щоб бути корисною суспільству, яке складається не лише зі споживачів продукції чи послуг підприємства, а й із місцевого населення, яке перебуває в зоні його функціонування, зрештою — всіх жителів країни. Реалізація місії підприємства повинна тим чи іншим чином сприяти розвитку суспільства — завдяки насиченню ринку необхідними товарами, сплаті податків до бюджету, вирішенню соціальних проблем як своїх працівників, так і незахищених верств населення тощо. Один із провідних японських менеджерів, К. Татеїсі, зазначав: "Мета підприємства має бути шляхетнішою, ніж отримання прибутку". Це важливо усвідомлювати керівникам підприємств. Якщо, визначаючи сферу й напрями діяльності підприємства, його виробничий профіль (які знаходять своє відображення в місії), зважатимуть лише на інтереси власників — забезпечення найвищої прибутковості — то такий бізнес матиме більшою мірою спекулятивний характер, і, якщо вирішуватиме якісь проблеми, то лише частково, якщо й досягатиме певних цілей, то лише впродовж короткострокового відрізку часу. Підхід до формулювання місії як до сенсу дієвості організації, її соціально-економічного призначення має стати правилом, а не винятком в українському бізнесі.

Отже, завдання місії полягає в тому, щоб виражати загальні цінності і програму організації; великою мірою впливати на результати діяльності організації; діставати підтримку від усіх, хто організовує діяльність і відповідає за неї; спрямовувати процес прийняття рішень і роботу організації; формулюватися так, щоб можна було оцінити міру її реалізації.

Прикладом місії, яка повною мірою відповідає зазначеним вимогам і дає достатньо інформації для того, щоб зрозуміти сенс діяльності організації і правила, за якими вона діє, є місія одного з провідних американських банків. Місія компанії "Сан Бенкс" полягає у сприянні економічному розвитку й добробуту співтовариств, які обслуговує компанія, шляхом надання громадянам і підприємствам якісних банківських послуг таким чином і в такому обсязі, який відповідає високим професійним і етичним стандартам, забезпеченню справедливого й належного прибутку акціонерам компанії і справедливого ставлення до її співробітників.

Аналізуючи формування даної місії, можна зрозуміти правила, за яким здійснюється діяльність банку, тобто його внутрішньо-фірмову політику. Вона базується на:

правилах, що дають змогу оцінювати результати діяльності фірми (орієнтиром є справедливий прибуток, тобто отримання його не суперечить правовим і етичним нормам);

правилах, за якими фірма налагоджує взаємовідносини із зовнішнім середовищем і які визначають:

• конкретні послуги, що надаються (банківські);

• споживачів (громадян і підприємств);

• засоби, завдяки яким фірма досягатиме конкурентних переваг (якісне обслуговування за високими професійними й етичними стандартами, що забезпечує економічний розвиток і добробут співтовариств, які обслуговує компанія);

правилах, за якими формуються стосунки в колективі (справедливе ставлення до співробітників компанії).

Беручи до уваги, що в наведеному прикладі на першому місці зазначено "сприяння економічному розвиткові й добробуту співтовариств, що обслуговуються компанією", можна зрозуміти пріоритетність цієї мети для компанії. Досягнення її забезпечуватиме реалізацію решти цілей.

Прикладом лаконічнішого формулювання є місія української компанії КСИКОМ СОФТ, яка розробляє програмне забезпечення для управління підприємствами і впроваджує "під ключ" автоматизовані системи управління: "Ми робимо бізнес прозорим і керованим, наші рішення відкривають нові можливості для розвитку".

 

Контрольні запитання й завдання:

 

1. Як здійснюється зв'язок зовнішнього середовища з процесами всередині організації, що функціонує? Проілюструйте вплив факторів зовнішнього середовища на діяльність якої-небудь організації (за власним вибором). Проранжируйте їх за вагомістю.

 

2. Подумайте, як традиції і менталітет народу впливають на вибір людьми способу бізнесової діяльності.

 

3. Які фактори спонукають компанії виходити на ринок інших країн (тих, що розвиваються; високорозвинених)? Які перспективи українських компаній у цій сфері?

 

3. Які типи моделей організацій як об'єктів керування вам відомі?

 

4. Завдяки яким рисам і властивостям поєднують першу і другу, третю й четверту моделі організацій?

 

5. Чи може бути застосована теоретична концепція заінтересованих груп до моделювання роботи вітчизняних підприємств і організацій?

 

6. Чи змінюється зміст основних видів діяльності менеджерів під час переходу від однієї моделі організації до іншої?

 

7. Які параметри характеризують організацію як відкриту систему?

 

8. Що таке місія організації" і яким чином вона визначається? Сформулюйте місію для інвестиційної компанії; органів місцевого самоврядування; товариства захисту прав споживачів; університету; фірми, що Здійснює посередницьку діяльність; туристична фірми; кав'ярні; трикотажної фабрики; житлово-експлуатаційної контори.

 

Рекомендована література

 

1. Стратегическое управление / Сокр. пер. с англ. М., 1993.

2. Ансофф И. Большаков А. С, Михайлов В. И. Современный менеджмент: теория и практика. СПб., 2000.

3. Виханский О. С, Наумов А. И. Менеджмент. 3-е изд. М., 1998. Глухое В. В. Основы менеджмента. СПб., 1995.

4. Гріфін Р., Япура В. Основи менеджменту / Наук. ред. В. Яцура, Д. Олесневич. Львів, 2001.

5. Дафт Р. Л. Менеджмент. СПб., 2000.

6. Карлоф Б. Деловая стратегия / Пер. с англ.; Науч. ред. и авт. послесл. В. А. Приписное. М., 1991.

7. Менар К. Экономика организаций / Пер. с франц.; Под ред. А. Д. Худокормова. М., 1996.

8. Мескон М. X, Альберт М., Хедоури Д. Основы менеджмента / Пер. с англ. М., 1992.

9. Мильнер Б. 3. Теория организаций. М., 1999.

10. Молл Е. Г. Менеджмент: организационное поведение. М., 1998.

11. Покропивний С. Ф., Колот В. М. Підприємництво: стратегія, організація, ефективність. К., 1998.

12. Тарнавська Н. П., Пушкар Р. М. Менеджмент: теорія та практика: Підручник для вузів. Тернопіль, 1997.

13. Управление организацией: Учебник / Под ред. А. Г. Поршнева, 3. П. Румянцевой, Н. А. Саломатина. 2-е изд., перераб. и доп. М., 2000.

 

 

Вопросы занятия:

 

1. Назначение, задачи, классификация и основные параметры усилителей промежуточной частоты

2. Принципиальные схемы УПЧ, выполненные с одним или двумя контурами.

 

Литература:

1. Р.В. Уваров, В.И. Хиленко, «Радиоприемные устройства», Москва, «Радио и связь», 1989, с.79-86.

 

Вопрос 1. Назначение, задачи, классификация и основные параметры усилителей промежуточной частоты

Усилителями промежуточной частоты (УПЧ) называют каскады супергетеродинного радиоприемника, которые усиливают прини­маемый сигнал на постоянной промежуточной частоте. В струк­турной схеме супергетеродинного приемника они размещаются после преобразователя частоты перед детектором.

Усилитель про­межуточной частоты должен выполнять следующие функции:

1. обе­спечивать основное усиление принимаемого сигнала для нормаль­ной работы детектора;

2. обе­спечивать основную избирательность приемника по соседнему каналу.

Для этого УПЧ должен иметь большой коэф­фициент усиления (порядка сотен тысяч раз). Обычно УПЧ со­стоит из двух-трех и больше каскадов.

Отличительной особенностью УПЧ является то, что частота усиливаемого сигнала постоянна. Она не изменяется при измене­нии частоты принимаемого сигнала, если приемник перестраива­емся на другую станцию. Это дает возможность применить в УПЧ сложные избирательные цепи, обеспечивающие частотные харак­теристики, близкие к прямоугольным.

В радиовещательных приемниках АМ-сигналов промежуточ­ная частота обычно выбирается порядка 465 кГц, при приеме ЧМ-сигналов - 10,7 МГц.

Полоса пропускания частот УПЧ связных приемников с 4… 6 кГц, радиовещательных 9... 13 кГц, а при ЧМ -250 кГц.

Классифицировать УПЧ можно по следующим признакам:

· по типу усилительного прибора — транзисторные, ламповые
и др.;

· по относительной ширине полосы пропускания —

узкополос­ные с П/fпр<0,05

широкополосные с П/fпр >0,05;

· по типу избирательной системы —

одноконтурные,

с двухконтурным полосовым фильтром,

с фильтрами сосредоточенной селекции (ФСС), (электромеханическими, пьезоэлектрическими и другими фильтрами.)

Узкополосные УПЧ применяют в связных и радиовещательных приемниках АМ-сигналов в диапазонах длинных, средних и ко­ротких волн. Фильтры в этих приемниках в основном двухконтурные или с сосредоточенной селекцией. Широкополосные УПЧ применяют в приемниках радиорелейной, тропосферной, космичес­кой связи и др.

Избирательные системы в них одноконтурные с расстроенными двойками или тройками контуров, двухконтурные и комбинированные.

По виду выполняемых каскадами функций различают два ти­па УПЧ: с совмещением избирательности и усиления в одном и том же каскаде, с разделением усиления и избирательности в разных каскадах.

В УПЧ первого типа каждый каскад обеспечивает часть за­данного усиления и часть избирательности. В УПЧ второго типа форма частотной характеристики и избирательность обеспечива­ются фильтрами сосредоточенной селекции, включаемыми или перед УПЧ, или в первых его каскадах. Основное усиление сигна­ла осуществляется в широкополосных или апериодических кас­кадах. Обеспечение избирательности до усиления, т. е. при малых амплитудах сигнала, позволяет избежать нелинейных искажений, вызываемых нелинейностью характеристик усилительных прибо­ров. Это создает преимущества для построения каскадов УПЧ на интегральных микросхемах.

Усилители промежуточной частоты характеризуются следую­щими основными параметрами.

Коэффициент усиления Куо = Кпо,

где Ко — коэффициент уси­ления одного каскада;

п — число каскадов.

Если контуры отдель­ных каскадов взаимно расстроены, то коэффициент усиления Куо определяется на средней частоте полосы пропускания.

Полоса пропускания — полоса частот вблизи промежуточной частоты, в пределах которой коэффициент усиления УПЧ уменьшается не более заданного значения (обычно равного 0,707) относительно мак­симального. Полоса пропускания УПЧ определяется частотной характеристикой, которая оценивается коэффи­циентом прямоугольности, представ­ляющим собой отношение полосы частот, определенной выбранным уровнем (на­пример, 0,1; 0,01), к полосе частот на уро­вне 0,7:

Сп=По,10,7.

 


Рис. 1.1. Частотная характеристика УПЧ

Рис. 1.2. Структурная схема каскада УПЧ

Избирательность супергетеродинного приемника по соседнему- каналу, обеспе­чиваемой избирательными цепями УПЧ.

принцип построения схемы УПЧ, усилительные приборы и принцип работы такие же, как и УРЧ. Структурная схема УПЧ приведена на рис. 1.2.

 

 

. Вопрос 2. Принципиальные схемы УПЧ, выполненные с одним или двумя контурами.

 

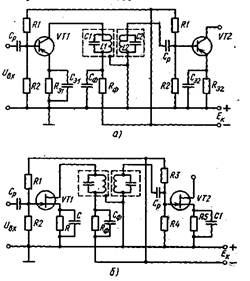
2.1. Одноконтурный усилитель промежуточной частоты.

 

Принципиальная схема одноконтурного УПЧ приведена на

рис. 2.1.

 

рис. 2.1. Одноконтурный УПЧ

Транзисторы в таких системах включаются чаще всего по схеме с общим эмиттером, обеспечивающей достаточно боль­шое усиление сигнала и имеющей большое входное сопротивле­ние. Эти достоинства особенно важны при построении многокас­кадных усилителей, так как большое, входное сопротивление сле­дующего каскада не шунтирует выход предыдущего. Но при большом коэффициенте усиления каскад с общим эмиттером из-за внутренней обратной связи может не обеспечить устойчивую работу. В таких случаях применяют каскодную схему с общим эмиттером и общей базой. Отличие схемы УПЧ от схемы УРЧ со­стоит только в том, что колебательный контур его LKCK настроен на постоянную промежуточную частоту, которая в процессе пере­стройки приемника не изменяется. Для этого конденсатор конту­ра в УПЧ должен иметь постоянную емкость. В выходную цепь транзистора контур LK CK включен частично по автотрансформа­торной схеме с коэффициентом включения m1, во входную цепь следующего каскада также частично с коэффициентом включения т2 с помощью емкостного делителя CK1CK2.

Все полученные формулы для УРЧ на рис. 2.1 справедливы и для УПЧ. Только вместо частоты сигнала fс нужно подставлять промежуточную fпр

Анализ показывает, что избирательность одноконтурного УПЧ низка, что обусловлено сравнительно небольшим коэффициентом прямоугольности.

Ширина полосы пропускания также небольшая. Это ограничивает применение УПЧ с одиночными настроенными на одну частоту контурами в узкополосных радиоприемниках.

 

2.2 Двухконтурный усилитель промежуточной частоты.

 

Применение в УПЧ двухконтурных фильтров позволяет улуч­шить параметры усилителя, особенно избирательность. Поэтому двухконтур'ные фильтры так широко используются в радиоприем­ных устройствах. Связь между контурами полосового фильтра может быть индуктивной, внешнеемкостной, внутриемкостной и комбинированной (рис, 2.2,а, г).

С усилительным прибором и следующим каскадом двухконтурый фильтр может иметь непосредственную, трансформаторную, автотрансформаторную и емкостную связи. Чаще применяется частичное включение одного или двух контуров, обеспечивающее ослабление влия­ния усилительных приборов на их параметры, что повы­шает устойчивость работы усилителя, хотя и.снижает коэф­фициент усиления каскада. Кроме того, конструкция таких це­пей немного сложнее.

Анализ работы двухконтурного усилителя проводится по той же методике, что и одноконтурных усилителей.


 

Рис.2.2. Схемы связи между контурами.

 

 

Определим коэффициент усиления по напряжению полосового УПЧ.

 

К=m1 m2SρKф

 

Известно, что коэффициент передачи полосового фильтра при резонансе Кф =β/(1+ β2),

где β=Qэк Ксв .

Ксв -коэффициент связи между контурами. Ксв

Qэк – эквивалентная добротность контура.

Из формулы видно, что коэффициент усиления каскада с двухконтурным полосовым фильтром отличается от коэффициен­та усиления каскада с одиночным контуром множителем β/(1+ β2).

Коэффициент усиления двухконтурного полосового УПЧ зависит от фактора связи β.

Возможны три случая связи:

β <1— слабая связь,

β =1—критическая связь,

β >1—сильная связь.

Наибольшее значение коэффициент Кф =β/(1+ β2),

принимает при критической связи (при β =1, Kф = 0,5) и коэффициент уси­ления становиться максимальным..

Рис.2.3. Двухконтурный УПЧ

 

Следовательно, в случае одинаковых усилительных приборов и контуров коэффициент усиления каскада усилителя с двухкон­турным полосовым фильтром равен половине коэффициента уси­ления каскада с одиночным контуром. Это является следствием потери энергии в первом контуре при передаче ее от усилитель­ного прибора к второму контуру. Однако сравнивать коэффициен­ты усиления каскадов необходимо при одинаковых полосах про­пускания. Анализ показывает, что усиление одного каскада с оди­ночным контуром больше, чем усиление каскада с полосовым фильтром не в 2 раза, а в 1,4 раза. В четырехкаскадном полосо­вом усилителе при одинаковой полосе пропускания и одинаковых усилительных приборах коэффициент усиления оказывается боль­ше, чем в таком же усилителе с одиночными контурами, пример­но на 35%.

Избирательность двухконтурного полосового усилителя опре­деляется частотной характеристикой эквивалентного полосового фильтра. Вид частотной характеристики зависит от фактора свя­зи β. При β<1 характеристики имеют один максимум (рис. 2.4 ,а). При увеличении коэффициент усиления возрастает, до­стигая максимума при β=1 (критическая связь). При β>1 ха­рактеристика получается двугорбой и максимальное значение коэффициента усиления УПЧ при определенных расстройках ока­зывается больше, чем на частоте резонанса.

Коэффициент прямоугольности частотной характеристики по­лосового фильтра также лучше, чем коэффициент прямоугольно­сти частотной характеристики одиночного контура.

 

 

Рис.2.4 Частотные характеристики УПЧ.

П обег – это стебель с листьями и почками. Основная часть побега это стебель, на котором расположены листья. Побег может находиться в лиственном и безлиственном состоянии.

Функции: 1) фотосинтез; 2) опора

Узел – это участок стебля, от которого отходит лист. Междоузлие – это участок стебля между двумя листьями. Пазуха листа – это угол образованный листом и вышерасположенным участком стебля.

М етамер – структурное повторение участков побега. Метамер – это междоузлие с отходящим от него листом.

П очка – это зачаточный побег (неразвившийся побег)

Классификация почек: 1)

2)

3)

Э лементарный побег – побег, формирующийся за один период роста. Главный побег формируется из зародыша.

Классификация побега.

В данной работе рассмотрены методы и преобразователи для измерения концентраций веществ, которые необходимы для регулирования сложных технологических процессов (ТП). Обычно в таких ТП требуются быстродействующие и точные средства измерений, которые в составе автоматизирован­ных систем управления технологическими процессами обеспечи­вали бы измерения параметров, непосредственно определяющих состав и свойства вырабатываемых материалов.

Каждый метод применяется в той сфере, где он рационален и дает наиболее точные результаты измерений для их последующей обработки и использовании как раз в тех самых ТП. К примеру, при измерениях электрохимическими методами используются относительно простые средства измерений, выходным сигналом которых является электрический ток или напряжение. В ряде случаев не требуется внешнего источника питания, по­скольку сам электрохимический преобразователь является источ­ником выходного электрического сигнала, используемого в качестве сигнала измерительной информации. Эти методы особенно пригодны для автоматического анализа веществ, для которых другие методы не обеспечивают нужной чувствительности или требуют более сложных и дорогостоящих средств измерений.

Преобразователи, основанные на том или ином методе, имеют свой диапазон измерений, рабочие условия, степень надежности др. не менее важные характеристики. Например, гигрометры точки росы имеют возможность измерения влажности воздуха и различных газов при низ­ких температурах (–160 °С) и высоких давлениях (Па). А чувствительность оптико-акустиче­ских анализаторов дает возможность применять их для иссле­дования широкого класса веществ с коэффициентами поглощения 10–10 – 10–5 см–1, находящимися в различных агрегатных состояниях в диапазоне температур 2—1000 К. То же самое можно сказать и о чувствительности преобразователей.

Поэтому при выборе метода и преобразователя необходимо исходить из того какой нужен диапазон измерений, какая точность, условия работы, динамические качества и т. д.

 

1. Как работает кондуктометрический газоанализатор?

2. Какой принцип измерения концентрации лежит в основе теплового метода?

3. Какие разновидности ионизационных методов вы знаете? Чем они отличаются?

4. Какую роль играет микрофон, используемый в приборе, изображенном на рис. 10?

5. Как изменяется точность с применением комбинированных методов измерения?

 

 

1. Спектор С.А. Электрические измерения физических величин: Методы измерений: Учеб. пособие для вузов. Л.: Энергоатомиздат. Ленинградское отделение, 1987. – 320 с.: ил.

2. Электрические измерения неэлектрических величин/А. М. Туричин, П. В. Новицкий, Е. С. Левшина и др.;Под общ. ред. П. В. Новицкого. Л.: Энергия, 1966

Итоги развития национальной экономики

Приоритетные направления развития национальной экономики.

 

Относительно сильные стороны республики:

· Выгодное экономико-географическое и геополитическое положение страны;

· Развитые системы транспортных коммуникаций и производственной инфраструктуры;

· Значительные земельные, водные, лесные ресурсы, наличие ряда важных полезных ископаемых (калийные и каменные соли, сырье для производства строительных материалов);

· Достаточно мощная строительная база;

· Достаточно развитый научно-технический потенциал;

· Многоотраслевой промышленный комплекс;

· Высокий образовательный уровень населения и сложившаяся система подготовки персонала;

· Многовекторные внешнеэкономические связи, способствующие расширению внешних рынков;

Слабые стороны:

· Недостаточная обеспеченность природными, прежде всего природными ресурсами;

· Незавершенность и несбалансированность законодательной нормативной базы, стимулирующей развитие хозяйственной деятельности;

· Жесткие методы государственного регулирования;

· Медленные темпы осуществления экономических реформ и неразвитость рыночной инфраструктуры;

· Отсутствие благоприятного инвестиционного климата и недостаточный уровень развития инновационной деятельности;

· Недостаточные темпы структурной перестройки и модернизации производства.

 

1. Рост ВВП составил в 2011 г. составил 103,1% (промышленность- 107,2%)

2. Инвестиции в основной капитал – 79 %

3. Экспорт услуг – 136, 5 %

4. Доходы бюджета – 58,8 трл.руб., расходы 54,9 трл.руб.

5. Основные партнеры по экспортно-импортным операциям: РФ (49,3%, Нидерланды – 9,4%, Украина – 7,1%, Германия -4,6%, Польша – 3,6%, Великобритания – 2,9%, Китай -2%,

6. Количество предприятий и организаций РБ – 126,9 тыс., из них -17,78 тыс. (14 %) –государственной собственности, (82,2 % - частной и 4,8 тыс. (3,8%) иностранной. Ликвидировано – 3576 предприятий.

7. 98 тыс. субъектов МБ и 227 тыс. –ИП. (Необходимо увеличение МБ до 30 %).

8. Инфляция – 110,5 % (в месяц 101,7 %)

9. Безработица – 0,6 % (не более 1 %)

10. Средняя з/п в в июне 2012 г.составила 3262,6 тыс.руб., (макс.-7096,4 – н/п, мин. – 2319 – с/х).

11. Средний размер пенсий -1415,2 тыс.руб.

12. Рентабельность для промышленных предприятий – 12,5

 

Приоритеты предстоящего пятилетия:

1. Всестороннее гармоничное развитие человека на основе повышения реальных денежных доходов населения, качественного совершенствования систем образования, здравоохранения, жилищного строительства и других отраслей сферы услуг.

2. Поэтапное создание в стране наукоемкого, высокопроизводительного сектора

3. Инновационный путь развития экономики, энерго- и ресурсосбережение.

4. Наращивание экспортного потенциала страны.

5. Широкое развитие предпринимательства в рамках государственно-частного партнерства

6. Повышение эффективности в государственном секторе путем реструктуризации

7. Развитие малых и средних городов.

8. Жилищное строительство.

9. Формирование действенного ЕЭП.

 

 

2.1 Основные термины и определения

Бытовая холодильная машина – машина, которая за счет затраты внешней энергии осуществляет перенос теплоты с целью отвода тепла от охлаждаемого объекта.

Бытовая компрессионная холодильная машина – холодильная машина, в которой холодильный цикл осуществляется с помощью герметичного хладонового компрессора.

Бытовая паровая компрессионная машина – холодильная машина, в которой холодильный агент изменяет свое агрегатное состояние.

Бытовые абсорбционные холодильные машины – холодильные машины, в которых цикл осуществляется за счет подвода теплоты с применением абсорбции и десорбции.

Бытовые термоэлектрические холодильные машины – холодильные машины, в которых цикл осуществляется за счет непосредственного использования электрической энергии.

Холодильный агент – вещество или смесь веществ, используемых в холодильных машинах в качестве рабочего тела для осуществления термодинамического цикла отвода теплоты от объекта охлаждения при температуре ниже температуры окружающей среды.

Бытовой компрессионный холодильник – устройство с одной или несколькими камерами для хранения объектов охлаждения при регламентируемой температуре ниже температуры окружающей среды.

Холодильная камера – камера, искусственно охлаждаемая с помощью холодильной машины, для кратковременного хранения продуктов при температуре не ниже 0°С.

Низкотемпературная камера (н.т.к.) – для длительного хранения замороженных продуктов при температуре -18°С.

Морозильная камера – для замораживания и длительного хранения продуктов.

Классификация бытовых холодильников.

1) по конструкторскому исполнению:

КШ – холодильник компрессионный однокамерный в виде шкафа

КС – холодильник компрессионный однокамерный в виде стола

КШД – холодильник компрессионный двухкамерный в виде шкафа

КШТ – холодильник компрессионный трехкамерный в виде шкафа

МКШ – морозильник компрессионный в виде шкафа

МКС – морозильник компрессионный в виде стола

МШМХ – холодильник-морозильник компрессионный в виде шкафа

2) по способу осуществления холодильного цикла:

К – компрессионные

А – абсорбционные

Т – термоэлектрические

3) по климатическому исполнению:

УХП – для районов с умеренным и холодным климатом при температуре окружающей среды 16 – 32°С

Т – для районов с тропическим климатом при температуре окружающей среды 18 – 43°С

4) по функциональному назначению:

для хранения свежих продуктов

для замораживания продуктов

для замораживания и хранения продуктов

* – -6°С

** – -12°С

*** – -18°С

* *** – ≤-18°С

2.2. Тенденции развития бытовой холодильной техники.

В настоящее время более 60 государств мира выпускает бытовые холодильники и морозильники. Мировое производство бытовых холодильников за последние 25 лет увеличилось с 10 до 38 млн. в год. В западной Европе оно выросло вдвое, в развитых неевропейских странах – в 2,5 раза, в восточной Европе – в 13 раз, в так называемых развивающихся странах – в 20 раз.

В последние годы рост производства бытовых холодильников в ряде стран замедлился, а в Италии, ФРГ, Испании и других – даже снизился, что объясняется насыщением рынка этой продукцией.

Аналогичная тенденция наблюдается и в производстве бытовых морозильников. За период с 1970 по 1983 г. их выпуск в мире вырос вдвое, а с 1984 г. стабилизировался.

Несмотря на обеспеченность населения многих государств бытовой холодильной техникой, ее сбыт продолжает увеличиваться в результате замены устаревших моделей современными, более комфортными и экономичными.

В многообразии направлений развития бытовой холодильной техники можно выделить следующее:

· совершенствование функциональных параметров холодильников, в частности: в двухкамерных моделях – увеличивают емкость морозильного отделения до 50% общего объема, снижение в нем температуры до -27 – -30°С в режиме замораживания и до -18°С в режиме длительного хранения, для однокамерных моделей – снижение температуры в низкотемпературном отделении (НТО) до -18°С.

· уменьшение удельного энергопотребления путем усиления теплоизоляции холодильного шкафа (применяют более эффективные теплоизоляционные материалы), улучшение герметизации дверного проема шкафов холодильников и морозильников, совершенствование конструкции холодильного агрегата и его элементов, применение электронных систем управления.

· повышение комфортности, эстетических и эргономических показателей, расширение цветовой гаммы внутренней и внешней отделки

Все ведущие зарубежные страны расширяют производство холодильников большой емкости с различными температурными зонами – двухкамерных и многокамерных, комбинированных холодильников-морозильников. Растет выпуск холодильных шкафов без НТО, которые комбинируют с морозильниками.

Западноевропейские фирмы увеличивают производство встроенных моделей холодильников и морозильников. Сейчас они составляют соответственно 40 и 22%.

Большинство стран, в том числе и Япония, изготавливают холодильники двух типов: с охлаждением внутреннего объема путем естественной конвекции воздуха системы непосредственного охлаждения, и с охлаждением путем принудительной циркуляции воздуха в охлаждаемом объеме.

Первый тип холодильников выполняется, как правило, с верхним расположением морозильного отделения.

Холодильники с принудительной циркуляцией воздуха имеют необмерзающий испаритель и встроенный конденсатор, обдуваемый дополнительным вентилятором. В таких холодильниках, как правило, три камеры с различными температурными зонами для хранения продуктов.

Конструкции систем охлаждения и автоматического регулирования температур постоянно совершенствуется. Так, например фирмой «Дженерал Электрик» (США) запатентовано устройство для автоматического оттаивания снеговой шубы с поверхности испарителя, обеспечивающей необходимый интервал между включениями компрессора. В состав устройства входит микроЭВМ, управляющая работой таймера. В него поступает информация о продолжительности работы компрессора в течение цикла между оттаиваниями с учетом продолжительности его отключения основным термостатом. МикроЭВМ получает информацию через специальные датчики о количестве и длительности открываний дверцы холодильника. В результате суммирования информации выдается команда на включение приборов оттаивания.

Этой же фирмой запатентовано устройство для размораживания продуктов, хранящихся в бытовом холодильнике, с помощью токов высокой частоты. Продукты укладывают в выдвижной ящик и помещают внутрь размораживающего устройства. Высокочастотное электромагнитное поле, обеспечивающее размораживание продуктов, создается между двумя плоскими электродами.

Важнейшим направлением технического совершенствования бытовых холодильников является создание высокоэкономических моделей со сниженным расходом электроэнергии. Показатель расхода электроэнергии приобрел решающее значение при создании конкурентоспособных образцов. За последние 15 лет потребление электроэнергии снизилось холодильниками на 25%, морозильниками – на 40%.

В холодильниках это достигается совершенствованием теплоизоляционных материалов, исключением или уменьшением количества электронагревателей для оттаивания снеговой шубы и обогрева дверного проема, уменьшением теплоэнергетических характеристик компрессоров, совершенствованием конструкции теплообменных аппаратов. В морозильниках – утолщением до 80 – 100 мм теплоизоляционных стенок шкафа, улучшением герметизации дверного проема, применением аккумуляторов холода, совершенствованием всех элементов морозильного агрегата, применением электронной системы управления.

Фирмой AEG (ФРГ) выпускаются холодильники, в которых испарители холодильного отделения встроены в теплоизоляцию, как и испарители НТО, что позволяет увеличить полезный объем камер, улучшает условия эксплуатации.

Ведущие зарубежные фирмы уделяют большое внимание совершенствованию холодильного агрегата. Улучшение температурно-энергетических характеристик способствует применению в холодильных агрегатах ротационных компрессоров вместо поршневых. В Японии уже изготовили свыше11 млн. холодильников и морозильников с ротационным компрессором. В Европе выпуском ротационных компрессоров занимается с 1989 г. фирма «Занусси»

В новом американском холодильнике «Астронаутис Корпорэйшн» компрессор заменен магнитным теплообменником, т.е. используется магнитотепловой эффект. Магнитный материал – в данном случае гадолиний – нагревается в магнитном поле. Полученное тепло отводится циркуляционной системой наружу. Вне магнитного поля гадолиний теряет свою магнитотепловую энергию, его температура снижается и он служит для охлаждения холодильного отделения. Цикл повторяется каждую секунду. Предположительная эффективность таких холодильников в широком диапазоне температур. Они на 30 – 40% легче и эффективнее компрессионных холодильников. Серийный выпуск намечен в середине 90-х г.

Совершенствуются конструктивные решения теплообменников: в частности конденсаторов, путем применения в некоторых случаях водяного охлаждения, крепления к конденсатору тепловых аккумуляторов, заполняемых жидкостями с разной теплотой фазовых превращений, использование теплоты конденсации хладагента для подогрева воды, расходуемой на бытовые нужды и другое.

Применение микроэлектроники во многих зарубежных моделях позволяет на ряду со снижением электропотребления, решаются и другие задачи. Так, фирма «Whirlpool» (США) выпустила холодильник с электронным управлением, системой самодиагностики и размораживания снеговой шубы «по требованию». В таких холодильниках предусматривается раздельное регулирование температур в холодильной и морозильной камерах. Дисплеи и звуковые сигнализаторы сообщают потребителю о нарушениях в подаче электроэнергии, открытии дверцы холодильника или повышении температуры в холодильной камере. Применение холодильников с самодиагностической системой позволяет потребителю самому устранять мелкие неполадки в работе системы, что снижает затраты на сервисное обслуживание.

В целях расширения функциональных возможностей и повышения комфортности за рубежом выпускают модели холодильников с автоматическим ледогенератором, наружными устройствами выдачи кубиков льда, охлаждения соков и воды, со встроенным воздухоочистителем, камерой с кондиционированием воздуха для мяса и салатов, камеру с регулируемой температурой для масла, отделение с регулируемой влажностью для хранения свежих продуктов и другое.

Перечисленные тенденции характерны и для нашей страны. Производством бытовых холодильников и морозильников заняты 24 предприятия, выпускается свыше 70 моделей холодильников (60 – компрессионных, 8 – абсорбционных, 3 модели – термоэлектрических).

Увеличивается выпуск холодильников большого объема с повышенной комфортностью, двухкамерных холодильников, морозильников.

Современные двухкамерные модели – КШД 300/60 «Минск 126», КШД 270/80 «Снайге 117», КШД 260/60 «Бирюса 18», КШД 280/45 «Чинар-7М».

Трехкамерные – КШД 300/115 «Минск 128», КШТ 300/60/60 «Минск 132».

С принудительной циркуляцией воздуха – трехкамерные «ЗИЛ - 65», «ЗИЛ - 67»

Повышение технического уровня отечественных бытовых холодильников связана с решением следующих задач:

· снижение энергопотребления на 10 – 12%. массы на 12 – 18%, корректировка уровня звуковой мощности до 43 – 45 дБа, повышение надежности;

· расширение функциональных возможностей в результате использования камер с близкриоскопической температурой, аккумуляторов холода, холодильников без осаждения инея, с магнитным теплообменником;

· модернизация серийно выпускаемых компрессоров и разработка новых, более совершенных конструкций;

· применение высокоэффективной теплоизоляции ППУ-321;

· включение в конструкцию холодильника электромагнитного клапана для регулирования подачи холодильного агента в испарители;

· проведение научно-исследовательских работ (НИР) для создания и внедрения экологически безопасных хладагентов вместо фреонов, новых теплоизоляционных материалов, не содержащих фреонов.

<== предыдущая лекция | следующая лекция ==>
Конденсатор кожухозмеевиковый | 
Поделиться с друзьями:


Дата добавления: 2014-01-07; Просмотров: 854; Нарушение авторских прав?; Мы поможем в написании вашей работы!


Нам важно ваше мнение! Был ли полезен опубликованный материал? Да | Нет



studopedia.su - Студопедия (2013 - 2025) год. Все материалы представленные на сайте исключительно с целью ознакомления читателями и не преследуют коммерческих целей или нарушение авторских прав! Последнее добавление




Генерация страницы за: 0.011 сек.