Студопедия

КАТЕГОРИИ:


Архитектура-(3434)Астрономия-(809)Биология-(7483)Биотехнологии-(1457)Военное дело-(14632)Высокие технологии-(1363)География-(913)Геология-(1438)Государство-(451)Демография-(1065)Дом-(47672)Журналистика и СМИ-(912)Изобретательство-(14524)Иностранные языки-(4268)Информатика-(17799)Искусство-(1338)История-(13644)Компьютеры-(11121)Косметика-(55)Кулинария-(373)Культура-(8427)Лингвистика-(374)Литература-(1642)Маркетинг-(23702)Математика-(16968)Машиностроение-(1700)Медицина-(12668)Менеджмент-(24684)Механика-(15423)Науковедение-(506)Образование-(11852)Охрана труда-(3308)Педагогика-(5571)Полиграфия-(1312)Политика-(7869)Право-(5454)Приборостроение-(1369)Программирование-(2801)Производство-(97182)Промышленность-(8706)Психология-(18388)Религия-(3217)Связь-(10668)Сельское хозяйство-(299)Социология-(6455)Спорт-(42831)Строительство-(4793)Торговля-(5050)Транспорт-(2929)Туризм-(1568)Физика-(3942)Философия-(17015)Финансы-(26596)Химия-(22929)Экология-(12095)Экономика-(9961)Электроника-(8441)Электротехника-(4623)Энергетика-(12629)Юриспруденция-(1492)Ядерная техника-(1748)

Топочные камеры и горелки для сжигания твердых топлив

На организацию топочного процесса при сжигании пылевидного топлива большое влияние оказывают образование и поведение золы и шлака в топочной камере.

Топочная камера может работать с удалением шлаков в твердом состоянии (топка с твердым шлакоудалением) либо выводом шлаков из топки в жидком состоянии (топка с жидким шлакоудалением). В любом случае золовые фракции уносятся с потоком газов из топки в отвердевшем состоянии. В ядре факела, где развиваются высокие температуры, шлаковые и золовые частицы находятся в размягченном состоянии и обладают способностью налипать на стены или экранные поверхности, если в таком состоянии они в каком-то месте их коснутся. Этот процесс может привести к нарастанию слоя затвердевающих частиц золы и шлаков на относительно холодной поверхности экранов, т.е. к локальному шлакованию отдельных стен топки.

Поскольку при сжигании топлива зола находится в тестообразном состоянии, то для предотвращения шлакования стен топки процесс сжигания должен быть так организован, чтобы зола в размягченном состоянии не достигала стен топки.

Организация твердого шлакоудаления

Распределение температуры в топочной камере при удалении шлака в твердом состоянии характеризуется изотермами, показанными на (рис. 5.4).

Наивысшая температура устанавливается в ядре факела в центральной части топки, располагающемся примерно на уровне горелок. В результате отдачи теплоты топочным экранам около них располагается изотерма с относительно низкой температурой.

Рис. 5.4. Топка с твердым шлакоудалением: 1 - холодная воронка; 2 - шлаковая ванна с водой; 3 - канал гидрозолоудаления; 4 - горелка; 5 - настенные экраны; 6 - ядро факела; 7 - шнековый шлакоудаляющий механизм; в - электродвигатель
По мере перемещения расплавленной в ядре факела золы к периферии и попадания в область сравнительно низкой температуры золовые частицы охлаждаются и затвердевают. Таким образом, частицы золы при нагреве в ядре факела и охлаждении затем около топочных экранов дважды проходят все стадии изменения физического состояния от твердого до жидкого (или размягченного) и обратно. На пути движения вверх частицы золы также охлаждаются вместе с газами и должны выноситься из топки в гранулированном (отвердевшем) состоянии. Топочные камеры, работающие с твердым шлакоудалением, по конструкции выполняются открытыми, т.е. без изменения сечения топки по высоте.

 

Отличительной особенностью этих топок является наличие в нижней части топки холодной воронки, образованной путем сближения фронтового и заднего экранов с большим уклоном (50…60°) до расстояния b' = 1,0…1,2 м. За счет этого быстро снижается температура газов в нижней части топки, и выпадающие из ядра факела расплавленные шлаковые частицы, попадая в эту зону, отвердевают (гранулируются) снаружи и по крутым скатам воронки ссыпаются в шлакоприемную ванну. Количество шлака, уловленного таким способом через холодную воронку, невелико и составляет 5…10% общего золосодержания топлива, т.е. а ШЛ = 0,05…0,10. Гранулированные шлаковые частицы непрерывно удаляются из ванны специальным механизмом. Водяная ванна выполняет одновременно роль гидрозатвора, препятствующего проникновению снизу в топку холодного воздуха.

Аэродинамика топочного объема должна быть так организована, чтобы вблизи настенных экранов температура газов была не выше характерной температуры золы tA (см. § 3.3), начиная с которой золовые частицы становятся липкими и создают опасность шлакования стен.

На рис. 5.5 показано, как влияет тепловое напряжение сечения топки qf на распределение температур по сечению. При высоких тепловых напряжениях увеличивается температура газов вблизи стен, что создает опасность их шлакования.

Поэтому средние тепловые напряжения сечения топочной камеры при твердом шлакоудалении, как правило, должны иметь невысокие значения (qf = 3…4 МВт/м2). Это неизбежно приводит к увеличению размеров сечения топочных камер.

Для прочного удержания футеровки вначале на трубы экранов со стороны топочного объема обычно приваривают шипы (диаметром 10 мм и длиной 15…18 мм) и затем наносят слой изоляции (рис. 5.6).

Рис. 5.6. Топочная камера с жидким шлакоудалением: а - общий вид топки; б - вид футерованного экрана; 1 - камера сгорания; 2 - под топки; 3 - шлаковая летка; 4 - камера охлаждения; 5 - труба; 6 - шипы до их покрытия обмазкой; 7 - огнеупорная обмазка труб (футеровка) по шипам.

 

Подовая часть топки выполняется горизонтальной или слабонаклонной к центру топки. Здесь на трубы пода накладывают 2…3 слоя огнеупорного кирпича на огнеупорной связке. В центре пода оставляется одно или два футерованных отверстия для слива шлака (летка) размером примерно 500…800 мм. Расплавленный шлак переливается через край и тонкими струями стекает в шлаковую ванну, где при контакте с водой отвердевает.

Повышению уровня температуры в этой зоне способствует двусторонний пережим топки, который уменьшает теплоотдачу радиацией в верхнюю часть топки, где открытые экраны имеют более низкую температуру. При жидком шлакоудалении через шлаковую летку удаляется до 20…30% минеральной массы топлива в виде расплавленного шлака.

Камера охлаждения полностью экранирована открытыми трубами. Здесь завершается сжигание недогоревшей части топлива и охлаждение продуктов сгорания до необходимой температуры на выходе, при которой должна гранулироваться вся зола в объеме уходящих из топки газов. По конструкции топочные камеры с жидким шлакоудалением выполняются однокамерными открытыми и полуоткрытыми (с пережимом) по типу рис. 5.1, б, а также двухкамерными по типу рис.5.1, в.

В топочных устройствах с пережимом за счет покрытия футеровкой настенных экранов в зоне горения достигается достаточно высокая температура газов 1600…1800°С, которая на 150…200°С выше температуры tН.Ж. Объемное тепловое напряжение в камере горения выше среднего по топке в целом в 4…5 раз и составляет qК.Гv = 500…800 кВт/м3.

В циклонных камерах горения за счет тангенциального ввода горячего воздуха (горизонтальные циклоны) или угловой установки горелок с тангенциальным направлением струй (вертикальные предтопки) создается интенсивное вихревое движение горящего факела. В циклоне уровень температур более высокий – 1700…1900°С, а тепловые напряжения объема достигают 2…4 МВт/м3.

Однако за счет более низких тепловых напряжений значительной по размерам камеры (зоны) охлаждения газов среднее значение qv для топочного устройства только на 20…30% выше, чем в топках с твердым удалением шлаков. Доля удаления шлаков в жидком виде составляет а ШЛ = 0,6…0,7.

В топках с жидким шлакоудалением благодаря более высокой температуре горения улучшается сгорание топлива и несколько снижаются потери с недожогом. Вместе с тем из-за увеличения количества удаляемого через летку шлака и более высокой его температуры возрастают потери с физической теплотой шлака.

Более высокий процент улавливания золы позволяет по условиям износа металла поверхностей повысить скорость продуктов сгорания в конвективных газоходах, что интенсифицирует теплообмен и уменьшает габариты и затрату металла поверхностей нагрева. Основной недостаток топок с жидким шлакоудалением - опасность застывания шлака при пониженной нагрузке котла, отсюда известные ограничения DМИН.

Топки с жидким шлакоудалением применяются в основном при сжигании слабореакционных топлив (при VгЛ < 15%) с умеренными значениями температуры плавления золы (tС ≈ 1300…1350°С).

Увеличение температуры горения приводит к росту образования вредных составляющих газов, в частности оксидов азота.

Горелочные устройства

Необходимая интенсивность горения топливной пыли достигается подготовкой горючей смеси (смесеобразованием) в горелочном устройстве, называемом в дальнейшем горелкой.

Полученная в процессе размола и сушки топливная пыль при температуре 70…130°С потоком первичного воздуха, доля которого составляет от 15 до 40%, вдувается в топочную камеру через горелки. В горелки подается также вторичный воздух при температуре 250…420°С. Горелки выдают в топку два раздельных потока - пылевоздушную смесь и вторичный воздух, которые перемешиваются и образуют горючую смесь в топочной камере.

Горелки являются важным элементом топочного устройства, от их работы и размещения в топке зависит характер смесеобразования, что в сочетании с аэродинамикой топочной камеры определяет интенсивность воспламенения, скорость и полноту сгорания, а следовательно, и тепловую мощность и эффективность топки.

Различают вихревые и прямоточные пылевые горелки.

Вихревые горелки выполняются следующих видов:

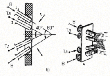
двухулиточные с закручиванием аэропыли и вторичного воздуха в улиточном аппарате (рис. 5.7, а),

улиточно-лопаточные с улиточным закручиванием потока аэропыли и аксиальным лопаточным закручивателем вторичного воздуха (рис. 5.7, б);

прямоточно-улиточные, в которых аэропыль подается по прямоточному каналу и раздается в стороны за счет рассекателя, а вторичный воздух закручивается в улиточном аппарате (рис. 5.7, в);

двухлопаточные, в которых закручивание потоков вторичного воздуха и аэропыли обеспечивается аксиальным и тангенциальным лопаточным аппаратом (рис. 5.7, г).

Вихревые горелки имеют тепловую мощность от 25 до 100 МВт. Наиболее распространены двухулиточные и улиточнолопаточные горелки, последние обеспечивают большую тепловую мощность (75…100 МВт).

Вихревые горелки отличаются повышенной эжекцией горячих топочных газов в поступающую пылевоздушную смесь (см. рис. 4.10), что обеспечивает ее быстрый прогрев до температуры воспламенения. Лопаточный завихривающий аппарат может быть выполнен поворотным, что позволяет производить оптимальную настройку аэродинамики горелки.

Рис. 5.7. Виды вихревых пылеугольных горелок: а - двухулиточная горелка; б - улиточно-лопаточная горелка; 1 - улитка пылевоздушной смеси; 2 - улитка вторичного воздуха; 3 - кольцевой канал для выхода пылевоздушной смеси в топку; 4 - то же для вторичного воздуха; 5 - основная мазутная форсунка; 6 - рассекатель на выходе пылевоздушной смеси; 7 - завихривающие лопатки для вторичного воздуха; 8 - подвод центрального (третичного) воздуха; 9 - управление положением рассекателя; 10 - завихритель осевого потока воздуха; 11 - обмуровка топки; П - подсос топочных газов в корню факела; Л - завихривающие лопатки; В - подвод воздуха к горелкам; Тл - подвод топливно-воздушной смеси; У - завихривающая улитка, Dа – диаметр амбразуры горелки

На полноту сгорания топлива сильное влияние оказывают скорости вдувания в топку аэропыли и вторичного воздуха. Повышение скорости усиливает турбулентное перемешивание потоков, однако при слишком большой скорости происходит отрыв факела от горелки. Для лучшего перемешивания угольной пыли с горячим воздухом необходимо сохранять различие в скоростях этих потоков. Так, скорость аэропыли на выходе из горелки поддерживают на уровне w1 = 14…25 м/с, а скорость вторичного воздуха должна быть w2= (1,2…1,4)w1.

Вихревые горелки универсальны и применимы для любого твердого топлива, но наибольшее распространение получили при сжигании топлив с малым выходом летучих веществ.

Горелки повышенной тепловой мощности выполняются с двумя регулируемыми коаксиальными каналами по вторичному воздуху, что обеспечивает сохранение необходимых скоростей воздуха при работе на пониженных нагрузках. При нагрузках ниже 70% номинальной периферийный канал воздуха перекрыт и тем обеспечивается поддержание скорости воздуха.

Вихревые горелки создают более короткий факел по длине и широкий угол его раскрытия, обеспечивают интенсивное перемешивание потоков и глубокое выгорание топлива (до 90…95%) на относительно короткой длине факела. В этом отношении вихревые горелки являются горелками индивидуального действия, каждая горелка обеспечивает качественное сжигание топлива в своей части топочного объема.

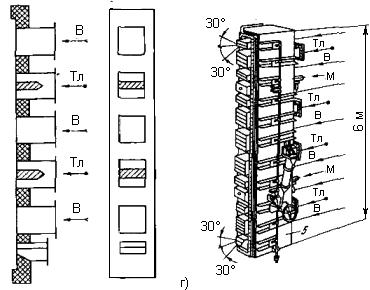
Определяющим конструктивным параметром вихревых горелок является диаметр амбразуры Da. Горелки размещаются на достаточном расстоянии друг от друга - L1 = (2,2…2,3)Da и от боковых стен L2 = (1,6…2,0)Da, чтобы исключить раннее взаимодействие факелов и наброс факела на стены. При однофронтальном расположении горелок в 1…2 яруса экран задней стены получает повышенное тепловосприятие (на 10…20% выше среднего), и для исключения шлакования стены при твердом шлакоудалении глубина топки должна быть не менее bТ = (6…7)Da. Встречное (двухфронтальное) расположение горелок (см. рис. 5.1 a, б, в) характерно для мощных паровых котлов, когда необходимое число горелок невозможно разместить на одной стене. При встречном расположении выравнивается теплонапряжение экранов топки, повышается уровень температур в центре топки.

Прямоточные горелки из-за более низкой турбулизации потока создают дальнобойные струи с малым углом расширения и вялым перемешиванием первичного и вторичного потоков. Поэтому успешное сжигание топлива достигается взаимодействием струй разных горелок в объеме топочной камеры. Для этого применяются встречное расположение горелок с двух противоположных стен топки или угловое с тангенциальным направлением струй в объеме топки (рис. 5.8).

Прямоточные горелки могут быть прямоугольной формы (плоские) или круглые (рис. 5.9).

Рис. 5.8. Расположение прямоточных горелок на стенках топки: а - встречное; б - тангенциальное; dу - условный внутренний диаметр вращения факела

Горелки прямоугольной формы, особенно вытянутые по высоте, обладают высокой эжекцией окружающей газовой среды с боковых сторон струи. Поэтому такие горелки при внешней подаче аэропыли (рис. 5.9, а) имеют преимущества по условиям воспламенения.

Круглые горелки обычно выполняются с отдельной подачей аэропыли и горячего воздуха (рис. 5.9, б). Встречный наклон двух блоков горелок улучшает перемешивание и сгорание. Такие горелки получили название плоскофакельных.

Рис. 5.9a. Прямоточная пылеугольная горелка прямоугольной формы с центральным каналом горячего воздуха: 1 - канал горячего воздуха; 2 - канал аэропыли; 3 - подсос топочных газов к струе аэропыли; В - подвод воздуха; Тл - подвод топливно-воздушной смеси.

Горелки с внутренней подачей пыли и рассекателем (рис. 5.9, в) имеют лучшие условия перемешивания с воздухом, но прогрев топлива происходит медленнее, поэтому такая горелка более приемлема для качественного каменного угля с высоким выходом летучих веществ.

При угловом расположении горелок и тангенциальном движении факела в сечении топки чаще всего применяют блоки щелевых горелок (рис. 5.9, г).

Рис. 5.9б. Прямоточная пылеугольная плоскофакельная горелка с круглыми соплами: 1 - канал горячего воздуха; 2 - канал аэропыли; 3 - подсос топочных газов к струе аэропыли; 4 - поворотная головка; В - подвод воздуха; Тл - подвод топливно-воздушной смеси.

Прямоточные горелки применяются в основном для сжигания высокореакционных топлив: бурых углей, торфа, сланцев и каменных углей с высоким выходом летучих веществ. Скорость пылевоздушной смеси на выходе из горелок принимается w1 = 20…28 м/с, оптимальная скорость вторичного воздуха w2 = (1,5…1,7)w1.

Горелки для высококонцентрированной пыли получают все более широкое применение. Подача пыли из бункера к горелке происходит в этом случае не первичным потоком воздуха, а с помощью небольшого количества (0,1…0,3% всего расхода) сжатого воздуха, который обеспечивает хорошую текучесть аэропыли по пылепроводу малого диаметра 60…90 мм (рис. 5.10, а).

Рис. 5.9в. Прямоточная пылеугольная горелка прямоугольной формы с поворотной головкой и внутренней подачей аэропыли: 1 - канал горячего воздуха; 2 - канал аэропыли; 3 - подсос топочных газов к струе аэропыли; 4 - поворотная головка; В - подвод воздуха; Тл - подвод топливно-воздушной смеси.

Рис. 5.9г. Прямоточная пылеугольная щелевая блочная горелка: 1 - канал горячего воздуха; 2 - канал аэропыли; 3 - подсос топочных газов к струе аэропыли; 4 - поворотная головка; В - подвод воздуха; Тл - подвод топливно-воздушной смеси; М - подвод мазута

Перемешивание подаваемой в котел пыли обеспечивается непосредственно на выходе в горелку при смешении пыли с первичным потоком воздуха (рис. 5.10, б, в). При этом ликвидируется громоздкая система пылепроводов диаметром 300…500 мм от бункеров пыли к горелкам котла, обеспечивается равномерность раздачи пыли по всем горелкам, резко снижается удельный расход энергии на пневмотранспорт и создается возможность регулирования расхода первичного воздуха в зависимости от нагрузки, что ранее было невозможно по условиям транспорта пыли.

Рис. 5.10. Горелки с подачей высококонцентрированной пыли: а - смеситель пыли с воздухом; б - прямоточная горелка; в - двухулиточная вихревая горелка; 1 - обмуровка топки; 2 - амбразура горелки; 3 - распылитель; I - первичный воздух; II - вторичный воздух

Аэродинамическое сопротивление горелки по вторичному воздуху, Па, определяется по формуле

5.10

где , ρВ - аксиальная скорость, м/с, и плотность воздуха, кг/м3, при его температуре в горелке; ξГОР - коэффициент сопротивления горелки, который для прямоточных горелок

составляет 1,5…2,0 и для вихревых 2,5…3,5.

 

 

<== предыдущая лекция | следующая лекция ==>
Введение. В энергетике при большой тепловой мощности паровых котлов, как показано в гл | Газомазутные топки и горелки
Поделиться с друзьями:


Дата добавления: 2014-01-07; Просмотров: 909; Нарушение авторских прав?; Мы поможем в написании вашей работы!


Нам важно ваше мнение! Был ли полезен опубликованный материал? Да | Нет



studopedia.su - Студопедия (2013 - 2026) год. Все материалы представленные на сайте исключительно с целью ознакомления читателями и не преследуют коммерческих целей или нарушение авторских прав! Последнее добавление




Генерация страницы за: 0.016 сек.