Студопедия

КАТЕГОРИИ:


Архитектура-(3434)Астрономия-(809)Биология-(7483)Биотехнологии-(1457)Военное дело-(14632)Высокие технологии-(1363)География-(913)Геология-(1438)Государство-(451)Демография-(1065)Дом-(47672)Журналистика и СМИ-(912)Изобретательство-(14524)Иностранные языки-(4268)Информатика-(17799)Искусство-(1338)История-(13644)Компьютеры-(11121)Косметика-(55)Кулинария-(373)Культура-(8427)Лингвистика-(374)Литература-(1642)Маркетинг-(23702)Математика-(16968)Машиностроение-(1700)Медицина-(12668)Менеджмент-(24684)Механика-(15423)Науковедение-(506)Образование-(11852)Охрана труда-(3308)Педагогика-(5571)Полиграфия-(1312)Политика-(7869)Право-(5454)Приборостроение-(1369)Программирование-(2801)Производство-(97182)Промышленность-(8706)Психология-(18388)Религия-(3217)Связь-(10668)Сельское хозяйство-(299)Социология-(6455)Спорт-(42831)Строительство-(4793)Торговля-(5050)Транспорт-(2929)Туризм-(1568)Физика-(3942)Философия-(17015)Финансы-(26596)Химия-(22929)Экология-(12095)Экономика-(9961)Электроника-(8441)Электротехника-(4623)Энергетика-(12629)Юриспруденция-(1492)Ядерная техника-(1748)

Методы парового регулирования температуры пара

Регулирование температуры пара.

Регулирование температуры пара высокого давления основано на понижении температуры по мере перегрева пара при ее превышении заданного значения в регулируемой точке. Поэтому размер поверхности пароперегревателя устанавливают такой, чтобы при нагрузке 0,5DНОМ без каких-либо воздействий обеспечить номинальный перегрев пара. При нагрузках выше 0,5DНОМ излишний перегрев пара снимается в пароохладителях. В прямоточных котлах при более низких нагрузках поддержание номинальной температуры обеспечивается изменением соотношения BК/GП.В.

Регулирование промежуточного перегрева пара обеспечивается путем догрева пара при нагрузках ниже номинальной. Для этих целей применяются как паровые, так и газовые методы регулирования (см. рис. 7.9).

Для поддержания установленной температуры пара высокого давления почти исключительно применяются впрыскивающие пароохладители путем ввода (впрыска) в поток частично перегретого пара питательной воды или конденсата, имеющих температуру на 200…300°С ниже охлаждаемого пара.

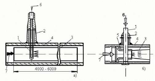
Впрыскивающий пароохладитель (рис. 7.10) устанавливается на прямом участке паропровода или в коллекторе длиной 6…7 м, охлаждающая вода или конденсат вводится в поток пара через форсунку-распылитель с несколькими отверстиями диаметром 3…6 мм. Во избежание попадания относительно холодных струй воды на горячие стенки корпуса (коллектора) внутри него установлена разгруженная от давления защитная рубашка цилиндрической формы или в виде сопла Вентури, ее длина (3…5 м) определяется расчетной длиной участка испарения капель влаги.

Рис. 7.9. Классификация методов регулирования температуры пара высокого давления и промежуточного перегрева

Снижение температуры перегретого пара впрыскивающим пароохладителем достигается на некотором расстоянии от места ввода воды, так как на испарение капель конденсата и последующий перегрев образовавшегося из них пара требуется некоторый промежуток времени, а скорость потока пара в пароохладителе более 40 м/с. Уменьшения этого расстояния достигают более тонким распылением воды за счет малого диаметра отверстий форсунки и увеличения перепада давления между впрыскиваемой водой и паром и по возможности увеличением разности температур пара и конденсата.

Рис. 7.10. Впрыскивающий пароохладитель: a - с цилиндрической защитной рубашкой; б - с соплом Вентури; 1 - водяная форсунка; 2 - штуцер; 3 - защитная рубашка; 4 - корпус пароохладителя; 5 - сопло Вентури; 6 - вход охлаждающей воды; 7 - вход пара.

 

Тепловой баланс пароохладителя можно записать в форме двух уравнений:

уравнение теплосъема в потоке пара

7.12

уравнение тепловосприятия впрыскиваемой воды

7.13

где D'П, GВПР - расход пара перед пароохладителем и воды на впрыск, кг/с; h'ПО, h"ПО - энтальпии пара на входе и выходе из пароохладителя, кДж/кг; Δhв, ΔhП - энтальпия догрева воды до насыщения и перегрева насыщенного пара до окончательной температуры t"ПО, кДж/кг; r - теплота парообразования, кДж/кг.

В результате осуществления впрыска воды в пар расход пара после пароохладителя возрастает на GВПР = DВПР. Разность ΔhПО = h'ПО - h"ПО - называют удельным теплосъемом в пароохладителе, обычно составляет (в целом на весь пароперегреватель) ΔhПО = 60…85 кДж/кг или в пересчете на изменение температуры ΔtПО = 30…45°С.

Расход воды на впрыск в пределах пароохладителя можно определить, составив тепловой и материальный баланс пароохладителя

7.14

Здесь дополнительно hВПР - энтальпия воды, поступающей на впрыск, кДж/кг.

Уравнение (7.14) позволяет определить необходимый расход воды на впрыск, если задан удельный теплосъем в пароохладителе ΔhПО

7.15

Пароохладитель можно устанавливать за пароперегревателем, в рассечку между ступенями пароперегревателя либо на стороне насыщенного пара (рис. 7.11).

Рис. 7.11. Изменение температуры перегретого пара при различном размещении пароохладителя в тракте пара: а - общая схема; б - изменение температуры пара; 1 - 3 - места установки пароохладителей и изменение температуры пара в тракте пароперегревателя l пе; 4 – предельно допустимая температура металла поверхности; РП - радиационный перегреватель; КП - конвективный перегреватель; tн.п, tп.п - температура насыщенного и перегретого пара

При установке пароохладителя на выходе из пароперегревателя обеспечивается надежное поддержание заданной температуры пара перед турбиной, но металл пароперегревателя в его выходной части остается не защищенным от высокой температуры пара и потому такой метод применять нельзя.

Установка пароохладителя по остальным вариантам защищает металл пароперегревателя. Однако по мере удаления впрыскивающего устройства от выхода из перегревателя возрастает инерционность регулирования и снижается точность поддержания температуры.

Обычно для регулирования температуры пара используются не один, а два-три пароохладителя, установленные между отдельными пакетами перегревателя. Один из них устанавливается чаще всего перед ширмовым перегревателем ШП (или в рассечку его) для обеспечения надежной работы металла этой сильно теплонапряженной поверхности. Этот впрыск является наибольшим по воздействию, Δh" = (0,5…0,6)ΔhПО, его дополнительная задача состоит в стабилизации энтальпии пара на выходе из радиационных поверхностей с учетом неравномерности тепловыделения по стенам топки. Второй рекомендуется устанавливать перед конвективными пакетами перегревателя - для стабилизации температуры пара после ширм (рис. 7.12).

На барабанных котлах обычно второй пароохладитель отсутствует, а на прямоточных при его установке теплосъем принимают ΔhII = (0,3…0,4)ΔhПО. Последний пароохладитель является подрегулирующим и устанавливается перед выходным пакетом перегревателя, имеющим небольшое тепловосприятие по пару (120…200 кДж/кг). Задача пароохладителя - окончательно стабилизировать температуру перегретого пара на выходе из котла. Расчетное количество впрыскиваемой воды составляет GВПР = (0,05…0,07)DНОМ на прямоточных котлах и до 0,1DНОМ на барабанных.

Рис. 7.12. Схема расположения впрыскивающих пароохладителей в тракте прямоточного парового котла: ВПР - впрыскивающий пароохладитель; РПК - регулирующий питательный клапан. Впрыскивающие пароохладители требовательны к качеству воды, используемой для впрыска. Прямоточные паровые котлы питаются в основном очищенным конденсатом и обессоленной добавочной водой, в связи с чем их оборудуют впрыскивающими пароохладителями, использующими питательную воду.

В барабанных паровых котлах при сильно минерализованной питательной воде конденсат для впрыска получается в самом котле за счет конденсации части насыщенного пара, отбираемого из барабана котла. Такой способ получения качественной воды для впрыска называется схемой впрыска собственного конденсата (рис. 7.13).

Конденсация насыщенного пара происходит за счет отвода теплоты к питательной воде, поступающей затем в экономайзер. В нижней части конденсатора установлен конденсатосборник, из которого конденсат поступает в пароохладители, а избыток его через линию перелива возвращается в барабан.

Рис. 7.13. Схема регулирования перегрева пара впрыском собственного конденсата: 1 - барабан; 2 - линия перелива; 3 - конденсатор; 4 - сборник конденсата; 5 - впрыскивающий пароохладитель; 6 - экономайзер; 7 - регулятор

Для увеличения перепада давления на впрыскивающем устройстве в этом случае рекомендуется защитную рубашку выполнять в форме сопла Вентури, обеспечивающей в узком сечении снижение статического давления пара (рис. 7.10, б).

Для регулирования температуры промежуточного перегрева пара чаще всего применяются паропаровые теплообменники (ППТО), в которых часть теплоты пара высокого давления передается пару, поступающему на вторичный перегрев.

Первая часть пароперегревателя высокого давления, находящаяся до ППТО, обладает в основном радиационной характеристикой, а промежуточный перегреватель является конвективным (рис. 7.14).

Рис. 7.14. Схема включения ППТО в тракте котла СКД.

При снижении нагрузки на котле температура пара высокого давления после прохождения радиационной части перегревателя перед ППТО будет несколько возрастать, а в конвективном промежуточном перегревателе - снижаться. Изменение тепловосприятия ППТО обеспечивается пропуском части вторично перегреваемого пара помимо ППТО через байпасную линию с регулирующим клапаном. Если уменьшить расход пара через байпасную линию (увеличить через ППТО), то температура пара в точке смешения за ППТО (или, что то же самое, - перед конвективной поверхностью перегревателя) повысится, компенсируя снижение тепловосприятия конвективной поверхности при пониженной нагрузке.

Секция паропарового теплообменника состоит из системы трубок диаметром 25…35 мм, помещенных в коллектор диаметром 160…200 мм (рис. 7.15). Для лучшей компенсации температурных удлинений трубной системы и компактности устройства теплообменнику придают U-образную форму. Внутри трубок движется пар высокого давления, а в объеме коллектора, между ними - пар промежуточного перегрева.

В мощных паровых котлах число параллельно включенных секций ППТО достигает нескольких десятков. Диапазон регулирования температуры пара в ППТО составляет 30…40°С.

Паропаровые теплообменники можно рассматривать как часть поверхности нагрева промежуточного пароперегревателя, так как через них всегда проходит небольшой поток пара. По тракту вторично перегреваемого пара теплообменники устанавливают перед входом в конвективную поверхность.

Рис. 7.15. Типовая секция ППТО: 1 - корпус секции; 2 - регулирующий клапан; 3 - байпасная линия; 4 - дистанционирующее крепление; 5 - камера свежего пара высокого давления; 6 - трубная доска; 7 - штуцер отвода вторично перегретого пара; 8 - теплообменные трубки

 

 

<== предыдущая лекция | следующая лекция ==>
Переходные процессы в котле при изменении нагрузки | Методы газового регулирования
Поделиться с друзьями:


Дата добавления: 2014-01-07; Просмотров: 1837; Нарушение авторских прав?; Мы поможем в написании вашей работы!


Нам важно ваше мнение! Был ли полезен опубликованный материал? Да | Нет



studopedia.su - Студопедия (2013 - 2025) год. Все материалы представленные на сайте исключительно с целью ознакомления читателями и не преследуют коммерческих целей или нарушение авторских прав! Последнее добавление




Генерация страницы за: 0.01 сек.