Студопедия

КАТЕГОРИИ:


Архитектура-(3434)Астрономия-(809)Биология-(7483)Биотехнологии-(1457)Военное дело-(14632)Высокие технологии-(1363)География-(913)Геология-(1438)Государство-(451)Демография-(1065)Дом-(47672)Журналистика и СМИ-(912)Изобретательство-(14524)Иностранные языки-(4268)Информатика-(17799)Искусство-(1338)История-(13644)Компьютеры-(11121)Косметика-(55)Кулинария-(373)Культура-(8427)Лингвистика-(374)Литература-(1642)Маркетинг-(23702)Математика-(16968)Машиностроение-(1700)Медицина-(12668)Менеджмент-(24684)Механика-(15423)Науковедение-(506)Образование-(11852)Охрана труда-(3308)Педагогика-(5571)Полиграфия-(1312)Политика-(7869)Право-(5454)Приборостроение-(1369)Программирование-(2801)Производство-(97182)Промышленность-(8706)Психология-(18388)Религия-(3217)Связь-(10668)Сельское хозяйство-(299)Социология-(6455)Спорт-(42831)Строительство-(4793)Торговля-(5050)Транспорт-(2929)Туризм-(1568)Физика-(3942)Философия-(17015)Финансы-(26596)Химия-(22929)Экология-(12095)Экономика-(9961)Электроника-(8441)Электротехника-(4623)Энергетика-(12629)Юриспруденция-(1492)Ядерная техника-(1748)

Разработка грунта землеройно-транспортными машинами




Разработка грунта скреперами

Прицепные тракторные скреперы применяют с емкостью ковша 2.25-25м3. С емкостью ковша до 5м3 перемещают грунт на расстояние до 300м; до 10м3 – 750 м; до 15м3 – до 1000м; боле до 5 км.

Не рекомендуется разрабатывать мокрые глинистые и сухие песчаные грунты. Рабочий цикл состоит и срезки и забора грунта в ковш, транспортировки к месту укладки с переведенным в транспортное положение ковшом, разгрузки (отсыпки) грунта.

Применяют для вертикальной планировки площадок, разработки широких не глубоких котлованов, отсыпки дамб, авто- и железных дорог. Скрепер разрабатывает грунт путем срезки, стружки толщиной от 9- 35 см и шириной 1,5-2,5 м. Толщина стружки зависит от вида грунта и мощности скрепера.

Слой грунта разрабатывают также:

- по клиновидной схеме;

- по клиновидной схеме с тремя зарезами (клевками);

Применяют 3 основные схемы разработки грунта скреперами:

1 схема: если длина пути набора ковша скрепера L < длины срезки грунта В на площадке, то применяется схема движения скрепера по эллипсу при вертикальной планировке площадки L<B

2 схема: если длина пути набора ковша скрепера Lбольше длины срезки В, то скрепер движется по спирали; L>B

Длину пути набора ковша скрепера L определяют по формуле:

L=q*kн./ вк*h*kр , м

где q – емкость ковша скрепера, м3;

kн – коефициент наполнения ковша 0,8-0,9;

вк – ширина ковша скрепера, м;

h – толщина стружки срезанного грунта, м;

kр - коефициент разрыхления грунта;

Указанные 2 схемы разработки грунта имеют существенный недостаток – это односторонний износ узлов оснастки и механизмов скрепера.

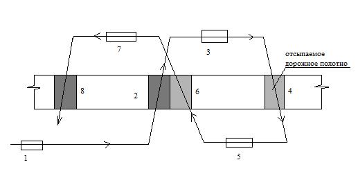
3 схема: схема движения скрепера по «восьмерке» устраняет односторонний износ узлов. Она применяется при разработке грунта и отсыпке на линейно-протяженных объектах (дороги, каналы).

 

 

1, 3, 5, 7 – участок набора грунта в ковш скрепера;

2, 4, 6, 8 – участок отсыпки грунта;

Разработка грунта бульдозерами

Используют для обратной засыпки пазух котлована и траншей вертикальной планировки площадок, редко для разработки неглубоких широких котлованов, т.к. необходимо устраивать въезд с уклоном 300 и большой длины. Применяется при перемещении грунта на расстояние 200м (в зависимости от мощности бульдозера), наиболее эффективная длина перемещения 500м.

Разрабатывают грунт по группам в зависимости от трудности разработки:

1группа – растительный слой;

2 группа – легкие суглинки;

3 группа – тяжелые суглинки и мягкие глины;

Если группа грунта выше, то его предварительно рыхлят.

Рабочий цикл состоит из резанья, перемещения и разгрузки грунта и обратного хода бульдозера к месту разработки.

Грунт обычно разрабатывают прямоугольной стружкой постоянной толщины 10-15 см и длиной до 10 м. Лучше клиновидная схема или клиновидная с 3 зарезами толщиной 20, 15, 10 см.

Работу организовывают на местности под уклон, при этом повышается производительность в 1,4-1,8 раза при уклоне 100 и в 1,8-2,5 раза при уклоне 200.Никогда не организовывают работу вверх, т.к. резко падает производительность.

Грунт разрабатывают 2 основными схемами:

1. Траншейная (гребенчатая): при разработке по траншейной схеме эффективно применение синхронной (спаренной) работы двух бульдозеров.

номер 1 разрабатывает на первой проходке, номер 2 – на второй проходке. Стенки траншеи (гребни) нужны для того, чтобы предотвратить потери грунта при перемещении к месту отсыпки.

2.Послойно-челночная схема: как и в траншейной схеме грунт разрабатывают послойно. При разработке и отсыпке грунта бульдозер перемещается прямым ходом, а назад к границе зоны выемки возвращается обратным ходом. При больших расстояниях перемещения грунта устраивают промежуточные грунтовые валы.




Поделиться с друзьями:


Дата добавления: 2014-01-07; Просмотров: 800; Нарушение авторских прав?; Мы поможем в написании вашей работы!


Нам важно ваше мнение! Был ли полезен опубликованный материал? Да | Нет



studopedia.su - Студопедия (2013 - 2026) год. Все материалы представленные на сайте исключительно с целью ознакомления читателями и не преследуют коммерческих целей или нарушение авторских прав! Последнее добавление




Генерация страницы за: 0.009 сек.