Студопедия

КАТЕГОРИИ:


Архитектура-(3434)Астрономия-(809)Биология-(7483)Биотехнологии-(1457)Военное дело-(14632)Высокие технологии-(1363)География-(913)Геология-(1438)Государство-(451)Демография-(1065)Дом-(47672)Журналистика и СМИ-(912)Изобретательство-(14524)Иностранные языки-(4268)Информатика-(17799)Искусство-(1338)История-(13644)Компьютеры-(11121)Косметика-(55)Кулинария-(373)Культура-(8427)Лингвистика-(374)Литература-(1642)Маркетинг-(23702)Математика-(16968)Машиностроение-(1700)Медицина-(12668)Менеджмент-(24684)Механика-(15423)Науковедение-(506)Образование-(11852)Охрана труда-(3308)Педагогика-(5571)Полиграфия-(1312)Политика-(7869)Право-(5454)Приборостроение-(1369)Программирование-(2801)Производство-(97182)Промышленность-(8706)Психология-(18388)Религия-(3217)Связь-(10668)Сельское хозяйство-(299)Социология-(6455)Спорт-(42831)Строительство-(4793)Торговля-(5050)Транспорт-(2929)Туризм-(1568)Физика-(3942)Философия-(17015)Финансы-(26596)Химия-(22929)Экология-(12095)Экономика-(9961)Электроника-(8441)Электротехника-(4623)Энергетика-(12629)Юриспруденция-(1492)Ядерная техника-(1748)

Палі та способи їх занурення




Залежно від розмірів мосту і його прольотів, конструкції опор, гідрогеологічних умов, а також виробничих можливостей застосовують при спорудженні фундаментів палі дерев'яні, залізобетонні та сталеві.

Для невеликих мостів з бетонними опорами на низьких ростверках, а також для спорудження тимчасових і постійних дерев'яних мостів застосовують забивні дерев'яні палі з одиночних колод діаметром від 18 та 28 см, довжиною до 8,5 м і рідше до 12 м, а також у вигляді пакетів довжиною до 20-25 м з трьох або згуртованих колод чи прямокутних брусів. Палі виготовляють з лісу хвойних порід. Колоди для паль повинні бути прямими та рівними, одностороння кривизна не повинна перевищувати 1% довжини, а двостороння кривизна не допускається. Колоди, відібрані по довжині і діаметру, очищають, обробляють головки і вістря.

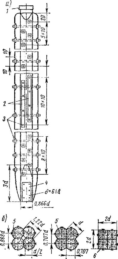
Щоб уникнути відхилення палі при забиванні слід звернути особливу увагу на правильність форми загострення, виконаного у вигляді чотиригранної або тригранної піраміди з вершиною на осі палі (рис. 5.1, а). Довжину загострення дають з урахуванням щільності грунту. При зануренні паль у важко прохідних грунтах або в грунтах з твердими кам'янистими включеннями на вістрі надягають сталеві башмаки, закріплюючи їх цвяхами-йоржами або шурупами великого діаметра (рис. 5.1, б). Голови паль обрізають строго перпендикулярно до їх осі і зміцнюють металевими бугерами або запобіжними дисками (товщиною 30-40 мм).

У разі відсутності колод необхідної довжини їх нарощують, слідкуючи за тим, щоб по довжині палі було не більше одного стику. З’єднюють колоди впритул на стиках з перекриттям стику не менше, ніж чотирма сталевими смуговими або кутниковими накладками (рис. 5.1, в). Більш надійний стик - з'єднання за допомогою відрізка труби довжиною не менше п'яти діаметрів колод (рис. 5.1, г). Трубу щільно насаджують на стикуюючі кінці колод і закріплюють металевими цвяхами-йоржами.

Для дерев'яних паль великої довжини використовують пакетні конструкції з колод, а краще з брусів розмірами від 16х16 до 22х22 см (рис. 5.1,б), з'єднаних між собою болтами діаметром 19-25 мм. У головки і вістря пакетної палі болти ставлять частіше, ніж по середині. На вістрі суцільної палі прикріплюють стальний загальний башмак, а на головку - бугель (рис. 5.1, а) або диск. Стики колод або брусів по довжині пакета розміщують із зсувом з відстанню між стиками не менше 1,5 м. Кінці брусів або колод ретельно приторцьовують і перекривають в стиках сталевими плоскими накладками на цвяхах-йоржах або шурупах.

Рис. 5.1. Боковой вид і переріз пакетної палі: 1 – бугель; 2 - сти­кові накладки; 3 - стяжні болти; 4 – башмак; 5 - колода; 6 - брус

 

 

Рис. 5.1. Деталі дерев'яної палі і стик: 1 – паля; 2 – бугель; 3 – башмак; 4 – накладка;

5 - штир; 6 – болти; 7 - сталева труба; 8 - йоржі

 

Палі постійних дерев'яних мостів перед забиванням в грунт просочують креозотовою олією або іншими стійкими антисептиками на ділянці змінної вологості, а також нижче рівнів води до 2 м.

Залізобетонні палі доставляють на будівництво, як правило, із заводу або полігону. Палі квадратного суцільного січення виготовляють цільними на всю довжину із звичайного або попередньо напруженого залізобетону, а круглі палі-оболонки - циліндричними секціями, які стикуються перед їх забиванням або в процесі занурення паль в грунт. Залізобетонні палі суцільного перерізу мають загострення на кінцях, надійно посилені армуванням у вигляді пакету з вигнутих і поздовжніх стержнів зі зварними стиками і обтиснутих на кінці обоймою або башмаком. Порожні залізобетонні палі-оболонки забивають як з відкритим кінцем, так і з влаштуванням спеціального наконечника.

Сталеві палі застосовують порівняно рідко, коли необхідно їх занурювати на значну глибину (більше 15-20 м) в щільні, важкопрохідні гравійні грунти або в глинисті з кам'яними прошарками. Сталеві палі застосовують також при влаштуванні опор естакад на глибоких болотах, оскільки сюди доставляти залізобетонні палі більш складно, і, крім того, вони мають менший опір (залізобетон) дії морозу й агресивному впливу болотного середовища. Металеві палі можна готувати як із заводських труб, так і зварювати з пари коробчатих шпунтин прокатного профілю, двотаврів, швелерів або листового металу. При виготовленні квадратних або шпунтових порожнистих паль поздовжні стики виконують автоматичним зварюванням.
На будівництво, як правило, надходять сталеві палі необхідної довжини. Іноді їх доводиться готувати на будмайданчику з окремих ланок. У цьому випадку на добре вивернутих стелажах обробляють кінці труб автогенним різаком, вивіряють поверхні труб і залежно від товщини стінок зварюють двох-, чи чотирирядним електрошвом. Стикують їх із застосуванням накладних стикових планок, закріплених на зварюванні. Сталеві палі забивають як з відкритим, так і з закритим нижнім кінцем, у останньому випадку необхідний загострений наконечник.. Внутрішню порожнину паль після їх занурення часто заповнюють бетоном.

Спосіб занурення паль в грунт вибирають з урахуванням маси і розміру палі, глибини занурення, умов забивання (на суші або з води), гідрогеологічних умов, а також з урахуванням наявного обладнання. Забивні палі занурюють на проектну глибину дизельними або пароповітряними молотами і віброзанурювачами Іноді застосовують підмив паль водою під тиском для полегшення забивання в щільних грунтах.

Відомі три основних способи занурення паль:

1) копровими і крановими агрегатами, що забезпечують підйом, встановлення та занурення палі в заданому напрямку - вертикально або похило;

2) з використанням металевих або дерев'яних каркасів, що забезпечують заданий напрямок палі при забиванні;

3) в залізобетонних кондукторах, що забезпечують проектний напрям занурюваної палі і використовуються як ростверк пальового фундаменту.

Для забивання паль застосовують:

- легкі та середні дизель-молоти з масою ударної частини від 600 до 1250 кг, звичайно використовувані для занурення дерев'яних залізобетонних та шпунтових паль довжиною до 10-12 м;

- важкі універсальні копрові агрегати з пароповітряними молотами і потужними дизель-молотами з масою ударної частини до 6000 кг, що застосовуються для занурення залізобетонних паль довжиною до 25 м і сталевих паль до 30 м і більше;

- самохідні крани, стаціонарні і плавучі дерик-крани з підвіснми направляючими стрілами та дизель-молотами різної потужності.

Для встановлення паль у каркаси та напрямляючі кондуктори, а також для подальшого занурення дизель-молотами або віброзанурювачами, дуже зручні самохідні і плавучі стрілові крани.

Занурення палі в грунт копровими і крановими агрегатами застосовують з урахуванням місцевих умов:

1) при можливості встановлення і вільного переміщення копра по дну котловану або по сухому місцю, наприклад, на будівництві опор палеестакадних мостів. Спосіб найбільш простий, легко застосовується при забиванні паль як у відкритих котлованах без
закріплення укосів, так і безпосередньо з поверхні землі без влаштування котлованів;

2) за наявності тимчасових підмосток, що перекривають котлован. У цьому випадку копри та крани потрібно оснащувати направляючими стрілами, а також забезпечувати подальше розбирання та збирання риштування для переміщення копра;

3) з використанням пересувних містків, що перекривають котлован по ширині і переміщаються вздовж котловану по рейкових шляхах, покладених на поверхню грунту паралельно шпунтовій огорожі. Копер з молотом може переміщатися по мостику в поперечному напрямку;

4) при невеликих поперечних розмірах опор багатопролітного моста та спорудженні їх на сухій заплаві або на мілководді, де забивати палі можна за допомогою копрів, розташованих на пересувних містках або рухаючись по рейкових шляхах вздовж моста. Рейкові колії при цьому розташовують на невеликих насипах або на спеціальній естакаді за межами котловану. Поряд з застосуванням спеціальних копрових агрегатів палі забивають за допомогою козлового крана з підвішаними до нього направляючою стрілою і молотом. Кран переміщається по рейкових шляхах, покладених паралельно поздовжньої осі моста. Цей спосіб зручний своєю універсальністю, оскільки дозволяє кран і підкранові шляхи використовувати для забивання шпунта і палі в котловані, бетонувати або збірати фундамент і верх опор, а також монтувати збірні прогонові будови;

5) у зимовий час при стійкому крижаному покриві, достатній товщині і міцності льоду можна палі забивати копром або крановим агрегатом безпосередньо з льоду. У цьому випадку під шляхами руху агрегату укладають настил з товстих і довгих окантованих колод або брусів для розподілу навантаження на велику площа крижаного покриву.

На місцевості, покритої водою і при її глибині більше 1,5-2 м, шпунт і палі забивають за допомогою плавучих копрових агрегатів. Агрегат при цьому установлюється на робочий місток, розташований на плашкоутах з понтонів КС, плаваючих за межами котловану. Копер може переміщуватися по робочому містку, занурюючи палі у всіх місцях по ширині опори. Робочий місток може бути закріплений нерухомо на плашкоуті або пересуваючись на візках вздовж плашкоутів (рис. 5.2). Забивати палі можна і за допомогою плавучого крана, використовуючи як дерик-крани, так і самохідні стрілові.

Рис.5.2. Плавучі подмостки для за­бивання палі: 1 – копер; 2 - плашкоути;

3 – паля; 4 - візок

 

 

Для занурення паль в заданому напрямку стрілові крани - сухопутні і плавучі - обладнують напрямляючими стрілами, підвішаними до оголовка стріли крану.

Застосування каркасів для занурення паль дозволяє встановлювати і забивати палі стріловими кранами без додаткового облаштування напрямними стрілами. У цьому випадку палі вставляють в осередку дерев'яного або металевого каркасу, а потім на головки паль по черзі насаджують молот.




Поделиться с друзьями:


Дата добавления: 2014-01-07; Просмотров: 776; Нарушение авторских прав?; Мы поможем в написании вашей работы!


Нам важно ваше мнение! Был ли полезен опубликованный материал? Да | Нет



studopedia.su - Студопедия (2013 - 2026) год. Все материалы представленные на сайте исключительно с целью ознакомления читателями и не преследуют коммерческих целей или нарушение авторских прав! Последнее добавление




Генерация страницы за: 0.012 сек.