Студопедия

КАТЕГОРИИ:


Архитектура-(3434)Астрономия-(809)Биология-(7483)Биотехнологии-(1457)Военное дело-(14632)Высокие технологии-(1363)География-(913)Геология-(1438)Государство-(451)Демография-(1065)Дом-(47672)Журналистика и СМИ-(912)Изобретательство-(14524)Иностранные языки-(4268)Информатика-(17799)Искусство-(1338)История-(13644)Компьютеры-(11121)Косметика-(55)Кулинария-(373)Культура-(8427)Лингвистика-(374)Литература-(1642)Маркетинг-(23702)Математика-(16968)Машиностроение-(1700)Медицина-(12668)Менеджмент-(24684)Механика-(15423)Науковедение-(506)Образование-(11852)Охрана труда-(3308)Педагогика-(5571)Полиграфия-(1312)Политика-(7869)Право-(5454)Приборостроение-(1369)Программирование-(2801)Производство-(97182)Промышленность-(8706)Психология-(18388)Религия-(3217)Связь-(10668)Сельское хозяйство-(299)Социология-(6455)Спорт-(42831)Строительство-(4793)Торговля-(5050)Транспорт-(2929)Туризм-(1568)Физика-(3942)Философия-(17015)Финансы-(26596)Химия-(22929)Экология-(12095)Экономика-(9961)Электроника-(8441)Электротехника-(4623)Энергетика-(12629)Юриспруденция-(1492)Ядерная техника-(1748)

Тема 5. Технічні засоби і технології очищення викидів




 

1.Сухе механічне очищення газоповітряної суміші від твердих компонентів.

2.Мокре механічне очищення газоповітряної суміші

від твердих компонентів.

3.Методи очищення промислових викидів від газо- та пароподібних домішок.

 

1. Апарати сухого механічного очищення газоповітряного потоку від твердих і рідких домішок працюють з використанням сил: інерційних, гравітаційних і центробіжних.

На практиці найбільш поширено використовуються апарати сухого інерційного очищення газів. Принцип дії цих апаратів полягає в осадженні пилу внаслідок зміни напрямку і швидкості руху газового потоку і ударів частинок пилу об стінки і поперечні перегородки.

Ці апарати відрізняються простотою конструкції і виготовлення. До них відносяться: інерційні вловлювачі пилу, пилоосаджувачі, жалюзійні вловлювачі пилу.

Розмір вловлюваних частинок 25-30 мкм. Ступінь очищення -65-85%.

Для вловлювання крупно дисперсного пилу використовують пилоосаджувальні камери, в яких осадження частинок відбувається за рахунок сил гравітації. Ці камери використовують в якості першої ступені очищення, для вловлювання частинок пилу розміром 30-100 мкм.

Пилоосаджувальта камера

1 –вхідний патрубок; 2 – корпус; 3 – вихідний патрубок; 4 – бункер для пилу.

Ступінь очищення залежить від часу перебування газоповітряного потоку в камері. Частинки, що рухаються в газоповітряному потоці, опускаються під дією сил тяжіння на дно бункера. Швидкість газоповітряного потоку в камері не повинна викликати переміщення осівши частинок. Залежно від розміру частинок пилу вона складає від 0,7 до 7 м/с.

До центробіжних апаратів відносяться: циклони, вихрові вловлювачі пилу і центробіжні ротаційні вловлювачі пилу.

Циклони – найбільш розповсюджені апарати, які широко і ефективно використовуються для вловлювання частинок розміром 5-20 мкм і більше.

Обертання газового потоку здійснюється шляхом його тангенціального вводу в циклон або шляхом використання спеціального завихрювача. Внаслідок дії обертальних сил частинки пилу, що містяться в потоці газу, відкидаються на стінки корпусу циклону і випадають з газоповітряного потоку. Газ, звільнений від частинок пилу, продовжуючи обертатись, змінює напрямок руху на 180º і виходить із циклона через вихлопну трубу. Частинки пилу після того, як вдаряються об стінки корпусу циклона, під дією сил тяжіння опускаються вниз і потрапляють в бункер.

 

Циклон

1 – вхідний патрубок; 2 – циліндричний корпус; 3 – конічна частина корпусу; 4 – отвір для випуску пилу; 5 – бункер для пилу; 6 – пиловий затвор; 7 – вихлопна труба; 8 – равлик для розкручування потоку; 9 – вихідний патрубок; 10 – нахилена кришка.

 

По мірі заповнення бункера крізь пиловий засув пил відвантажують на захоронення або утилізацію.

Рекомендована швидкість руху газів в циліндричній частині циклона – 2,5 – 4,5 м/с.

Діаметр циклону не рекомендується робити більше 1000 мм. Для підвищення ефективності очищення газового потоку краще циклони компонувати в групи. Таки циклони мають назву – батарейні. Цим методом досягається значна економія капітальних і експлуатаційних витрат.

До високоефективних типів апаратів сухого очищення газів відносятьсяфільтри.

В основі роботи фільтрів усіх видів покладена фільтрація забрудненого потоку повітря крізь пористу мембрану. В процесі проходження повітряного потоку крізь фільтр частинки пилу затримуються мембраною, а очищений газ без перешкоди проходить крізь неї.

Пористі мембрани виготовляють з паперу, тканини, волокнистих матеріалів, кераміки, металевої сітки, шарів зернистого матеріалу.

На відміну від апаратів інерційної очистки, фільтри ефективно затримують частинки будь-якого розміру. Найбільш доречно використовувати фільтри для вловлювання частинок пилу розміром менш 5 мкм.

Недоліком фільтрів є те, що через накопичення пилу на мембрані швидкість проходження газового потоку поступово зменшується і ефективність апарата знижується. Тому мембранну перетинку необхідно періодично звільняти від пилу, що був затриманий на мембрані, це суттєво ускладнює експлуатацію фільтрів.

Ступінь очищення газового потоку,що проходить крізь фільтр, залежить від пористості матеріалу мембрани, товщини фільтруючого шару, об’єму фільтруючого матеріалу в одиниці об’єму фільтра і коефіцієнта захоплення частинок пилу фільтруючим волокном.

Найбільш розповсюджені тканинні фільтри. Їх використовують для очищення газового потоку від твердих частинок на підприємствах чорної та кольорової металургії, у виробництві будівельних матеріалів, хімічній промисловості, в котельнях та інших галузях. В якості фільтруючого матеріалу використовують капрон, лавсан, бельтинг та інші тканини.

Найбільш розповсюдженим типом тканинного фільтру є рукавний фільтр.

Рукавний фільтр

1 – вхід забрудненого газу; 2 – рукав; 3 – корпус апарата; 4 – вихід очищеного газу; 5 – механізм струшування пилу; 6 – клапани; 7 – бункер для збирання пилу; 8 – патрубок для продування апарату.

 

Запилений газ, що потрапляє крізь вхідний патрубок в нижню частину корпусу фільтру, подається всередину рукавів. Після проходження крізь фільтруючу тканину рукава очищене повітря видаляється з апарату. Частинки пилу осідають на поверхні рукава, внаслідок чого його опір поступово збільшується. Коли опір досягає певного критичного значення, рукавний фільтр переводять в режим регенерації. Як правило, регенерацію здійснюють зворотнім продуванням. Для збільшення ефекту очищення тканини рукавів під час продування, їх струшують спеціальним механізмом.

Камери фільтра переводять в режим регенерації по черзі і тим самим забезпечують його безперервну роботу.

Ступінь очищення повітря від дрібнодисперсних частинок пилу може досягати 99,9%. Швидкість проходження газового потоку крізь фільтруючу тканину складає 0,5-1 м/с.

Волокнисті фільтри призначені для очищення слабо запилених потоків повітря з концентрацією пилу не більш 5 мг/м3 . Вони являють собою волокнисті перетинки. В волокнистих фільтрах використовують як природні, так і синтетичні волокна товщиною від 0,1 мм до 100 мкм (відходи текстильного виробництва, шлакова вата, скловолокно та інше). Ступінь очищення дрібнодисперсного пилу досягає 99%. Рекомендована швидкість фільтрації – 0,01-0,1 м/с.

В зв’язку з глибоким проникненням частинок пилу всередину матеріалу регенерація волокнистих фільтрів не проводиться. По закінченні певного терміну роботи ці фільтри замінюють на нові.

Зернисті фільтри використовують при очищені газів з високими температурами (до 500-800ºС), а також в умовах агресивного середовища при різких змінах тиску і температури. Вони виготовлені у вигляді ємкостей, заповнених фільтруючим матеріалом, в якості якого може бути пісок, щебінь, шлак, тирса, вугілля, руда.

Зернисті фільтри використовують, якщо не можливо застосування інших фільтрів.

Іноді застосовують зернисті фільтри сорбційного очищення, коли в якості наповнювача використовують каталізатори і сорбенти. Такі фільтри призначені для вловлювання шкідливих газоподібних домішок.

Залежно від виду пилу і зерен фільтру ступінь очищення може досягати 95-99,5%, швидкість фільтрування – 15-35 м/с.

Електрофільтри призначені для очищення промислових газів від твердих частинок, що утворюються під час технологічного процесу. Ці фільтри використовують для очищення викидів при виробництві будівельних матеріалів, цементних, гіпсових, вапняних виробництвах та інших, де в викидах присутні частинки, що легко з’єднуються з вологою повітря. Пил, вловлений в електрофільтрах, є цінною вторинною сировиною або готовою продукцією.

До переваг електрофільтрів відносять високу ступінь очищення (99%), можливість вловлювання частинок різних розмірів, стабільну роботу при будь-якій ступені запиленості повітря і температурі, можливість повної автоматизації процесу.

Установка для електростатичного очищення викидів складається з електрофільтра, джерела живлення і системи транспортування вловленого пилу.

Недоліками є висока вартість апаратів і підвищені вимоги до техніки безпеки.

Електрофільтр монтується в металевому корпусі прямокутного перерізу. Всередині вмонтовані осаджувальний і коронуючий електроди. На вході в електрофільтр встановлюється газорозподільна решітка, яка забезпечує рівномірний розподіл газу в активній зоні апарату. Внизу апарату встановлюють бункер для збирання вловленого пилу (шламу).

 

Електрофільтр

1 – коронуючий електрод; 2 – осаджувальний електрод; 3 – газорозподільна решітка; 4 – вхідний патрубок; 5 – вихідний патрубок; 6 – бункер видалення пилу (шламу); 7 – механізм струшування пилу.

 

Основою процесу очищення є іонізація пиловидних частинок і молекул газу під дією електростатичного поля. Заряджені частинки осідають на поверхню електроду з протилежним зарядом, звідки видаляються механічним способом або промиванням водою. Вловлений пил або шлам потрапляє в спеціальний бункер, звідки надходить на утилізацію.

Залежно від конструкції електрофільтру швидкість проходження газового потоку коливається в межах 0,8-1,7 м/с.

2. Мокре очищення викидів є одним з найбільш ефективних і розповсюджених методів вловлювання шкідливих домішок в повітряному потоці. При мокрому очищенні досягається висока ступінь вилучення твердих, рідких і газоподібних домішок.

Основою процесу мокрого очищення є осадження частинок пилу на краплинах або шарі рідини. В якості цієї рідини частіше усього використовують воду. Іноді, залежно від складу викидів, в склад цієї води додають кислоту або луги.

Апарати мокрого очищення відрізняють простота конструкції і експлуатації, відносно невелика вартість. В цих апаратах можна очищувати викиди будь-якого ступеня вологості, а також пожежонебезпечні і вибухонебезпечні суміші.

До недоліків мокрого способу очищення повітряного потоку слід віднести: утворення стічних вод і шламу, які потребують подальшої обробки; корозію обладнання при дії на нього зволожених газів і рідин; відносно високі витрати електроенергії.

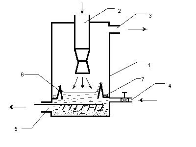
Найбільш простим апаратом очищення викидів мокрим способом є форсунковий скрубер. Він призначений для вловлювання частинок розміром більше 10-15 мкм, а також для охолодження і зволоження викидів.

 

Форсунковий скрубер

1 – циліндричний корпус; 2 – вхідний патрубок; 3 – патрубок для виходу очищеного газу; 4 – підведення води на форсунки; 5 – регулюючий вентиль; 6 – контроль параметрів води; 7 – форсунки розпилення води; 8 – ємність для забрудненої води.

Форсунковий скрубер складається з циліндричної ємкості з патрубками для підводу і відводу повітря. У верхній частині корпусу розміщені один або декілька ярусів форсунок для розпилення рідини. Рідина і вигляді дощу з діаметром краплин 0,6 – 1 мм якби промиває газ, який рухається назустріч, тобто знизу доверху зі швидкістю 0,7-1,5 м/с. Тверді частинки пилу, підхоплені краплинами води, потрапляють донизу, в бункер, звідки видаляються разом з водою назовні. Витрати води в скрубері – 1-6 л/м3 .

Використовують також механічні скрубери,в яких розпилення води відбувається за допомогою металевого диска, що швидко обертається.

Також широко використовуються відцентрові скрубери. Принцип дії і конструкція відцентрового скрубера аналогічні циклону. Під дією відцентрової сили, що виникає під час обертання газового потоку в апараті, частинки пилу відкидаються на стінки скрубера, звідки змиваються водою, яка подається крізь сопла, що розміщені по колу у верхній частині корпусу апарата. Швидкість газового потоку в апараті сягає 4-5 м/с, ступінь очищення досить висока і залежить від розміру і щільності частинок пилу, а також від діаметру скрубера.

Серед апаратів мокрого очищення газів ударно-інерційної дії найбільш поширені пиловловлювач вентиляційний мокрий (ПВМ) і ротоклон. Апарати мокрого очищення газів ударно-інерційної дії використовують, якщо немає достатньої кількості чистої води, для очищення газу від частинок пилу розміром не менше 5-10мкм при відносно невисоких температурах газу.

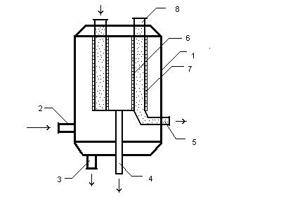
Пиловловлювач ударно-інерційної дії

1 – корпус; 2 – вхід запиленого повітря; 3 - вихід очищеного повітря; 4 – вхід рідини; 5 – видалення шламу скребковим механізмом; 6 – перетинка; 7 – краплевловлювач.

 

Принцип дії цих апаратів оснований на різкому повороті на 180º газового потоку, коли газовий потік на великій швидкості діє в напрямку перпендикулярно до поверхні рідини. Тверді частинки пилу вдаряючись о поверхню рідини, вловлюються цією рідиною. Вода, під дією газового потоку, рухається доверху по спеціальним перетинкам і збирається в краплевловлювачі. Газ, після очищення, за допомогою вентилятора виходить назовні.

Вловлений пил осідає на дно корпусу апарата і видаляється скребковим механізмом.

Витрати води на зволоження газового потоку не перевищує 0,03 кг/м3, ступінь очищення газу при діаметрі частинок пилу до 10 мкм складає 98-99%. Швидкість газового потоку між перетинками досягає 15 м/с.

Аналогічний апарат з каналом складної конфігурації має назву – ротоклон.

Барботажні пінні апарати призначені для очищення невеликих обсягів газів від частинок пилу розміром не менш 5 мкм.

 

Барботажний пінний апарат

 

1 – корпус; 2 – вхід забрудненого газу; 3 – вихід очищеного газу; 4 – зрошувач; 5 – відвід рідини в переливний відсік; 6 – решітка; 7 – відвід рідини, що пройшла крізь решітку.

 

Барботажний пінний апарат складається з циліндричного корпусу, в середині якого розміщена горизонтальна решітка з дрібними отворами. Забруднений газ подається знизу корпусу, проходить крізь решітку і шар рідини, яка подається зверху від спеціального зрошувача, і очищений, виходить з верхньої частини апарату. Під час проходження газу зі швидкістю до 1м/с виникає барботажний режим, при якому повітря проходить крізь шар рідини у вигляді окремих бульбашок. При збільшенні швидкості проходження газового потоку крізь рідину до 2,0-2,5м/с барботажний режим перетворюється в пінний.

Діаметр корпусу барботажного апарату складає 2-2,5 м, діаметр отворів решітки – 4-6 мм, швидкість газів при проходженні решітки – 6-10 м/с.

3. Методи очищення промислових викидів від газо- і пароподібних домішок по характеру протікання фізико-хімічних процесів поділяються на наступні групи – сорбційні та нейтралізаційні.

В свою чергу сорбційні методи очищення промислових газів поділяються на абсорбційний і адсорбційний методи. Нейтралізаційні методи поділяються на методи каталітичного та термічного очищення газоповітряного потоку.

Сорбція – це видалення газоподібних компонентів із газового потоку на основі їх взаємодії з рідкими або твердими речовинами – поглиначами цих компонентів.

Абсорбція – процес поглинання газоподібних домішок рідкими поглиначами. Апарати, що використовуються в цьому процесі, називаються абсорберами. Залежно від основи процесу абсорбції розрізняють фізичну і хімічну абсорбцію (хемосорбцію).

Фізична абсорбція проходить внаслідок контакту газового потоку з неелектролітами або їх водними розчинами. Для процесу фізичної абсорбції характерна відсутність інтенсивної взаємодії молекул поглинального розчину з молекулами речовини, що видаляється. Розчинений в рідині токсичний компонент завдяки процесу дифузії проникає у внутрішні шари абсорбенту. Процес відбувається тим швидше, чим більша площа контактної поверхні.

Важливою умовою при виборі абсорбенту є розчинність в ньому токсичного компоненту, що вловлюється.

При абсорбційному способі очищення промислових газоподібних викидів в якості поглинальної рідини використовуються різноманітні розчини, залежно від того, яку речовину необхідно видалити із газового потоку. Після використання поглинальної рідини в апаратах абсорбції, її піддають процесу регенерації, тобто концентрованого видалення різними способами шкідливих домішок із поглинального розчину. Після регенерації поглинальний розчин знову направляють в абсорбер.

Основним видом апаратури для проведення процесів абсорбції є пінні та барботажні скрубери, розпилювальні апарати з механічними розпилювачами, скрубери Вентурі, плівкові абсорбери.

Принцип роботи барботажного абсорбера такий самий, як і барботажного пінного апарату очищення газового потоку від пилу. Тільки в барботажному абсорбері замість води використовують рідкий абсорбент, який поглинає певні токсичні домішки з газового потоку. Газовий потік, забруднений токсичними домішками, подається крізь патрубок знизу в абсорбер, проходить крізь решітку і у вигляді бульбашок змішується з рідким абсорбентом, який подається з верхньої частини апарату. Рідкий абсорбент поглинає токсичні речовини з газового потоку і виводиться назовні, а очищений газовий потік виходить за допомогою вентилятора крізь спеціальний патрубок у верхній частині апарата.

Барботажний абсорбер

1 – корпус апарату; 2 – вхід забрудненого газового потоку; 3 – вихід очищеного газу; 4 – розпилювач сорбенту (поглинальної рідини); 5 – відведення відпрацьованої рідини; 6 – решітка; 7 – відведення відпрацьованої рідини, яка просочилась крізь решітку.

 

Плівкові абсорбери. В абсорберах цього типу абсорбційний процес відбувається на межі поділу двох фаз – рідкої і газової. Тому для апаратів плівкового типу дуже важливо мати велику площу поверхні контакту між рідиною-абсорбером і забрудненим газовим потоком.

В плівкових абсорберах контакт між фазами відбувається на поверхні повільно текучої плівки рідини – абсорбенту.

Апарати плівкової абсорбції відрізняються високою ефективністю і компактністю. Розрізняють три види плівкових абсорберів: 1 – абсорбери з плоско-паралельними насадками; 2 – трубчасті абсорбери; 3 – абсорбери з висхідним рухом плівки.

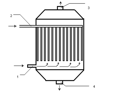
Найбільш поширеним видом є плівковий абсорбер з плоско-паралельними насадками.

Апарат складається з циліндричного металевого корпусу у вигляді колони. В середині колони по усьому об’єму паралельно розміщені плоскі насадки у вигляді вертикальних стрічок. Стрічки виготовляються з різних матеріалів – металу, пластику, тканини. У верхній частині апарату розміщений розподільчий пристрій для рівномірного зрошування насадок з обох боків. Для того щоб апарат працював ефективно, насадки повинні відповідати ряду вимог: 1 – мати велику площу поверхні в одиниці об’єму; 2 – добре змочуватись рідиною; 3 – рівномірно розподіляти плівку рідини по площині; 4 – бути стійкими до хімічного впливу газів і рідин, що використовуються в апараті; 5 – мати малу питому вагу; 6 – мати високу механічну міцність; 7 – мати відносно невелику вартість;

Плівковий абсорбер

1 – вхід забрудненого газового потоку; 2 – підведення рідкого абсорбенту; 3 – вихід очищеного газового потоку; 4 – вихід використаного абсорбенту.

 

Газовий потік з токсичними домішками подається в нижню частину абсорбера по спеціальному патрубку. Зверху поступає рідина-абсорбент, яка у вигляді тонкої плівки повільно стікає по плоско-паралельних насадках. Газ вступає в контакт з рідиною, при цьому токсичні домішки активно поглинаються абсорбентом. Використаний абсорбент збирається в нижній частині апарату, звідки поступає на регенерацію. Після регенерації очищена рідина знову подається в апарат, а вилучені домішки відправляють на утилізацію або на знешкодження. Газовий потік, звільнений від токсичних домішок, за допомогою витяжного вентилятора виходить крізь патрубок, розташований у верхній частині абсорбера.

В останні роки почали з’являтись плівкові абсорбери зі спіральними насадками, виготовленими з металевої стрічки, з пластику або скловолокна. Спіральні насадки значно збільшують площу контакту між фазами і тим самим підвищують ефективність процесу абсорбції.

Використання методу адсорбції для вловлювання газоподібних сполук.

Фізична основа процесу адсорбції – здатність деяких твердих тіл з ультрамікроскопічною структурою (адсорбентів) вибірково відділяти та концентрувати на своїй поверхні окремі компоненти газоповітряної суміші. В пористих тілах з капілярною структурою поверхневе поглинання доповнюється капілярною конденсацією. Основний параметр, який характеризує процес адсорбції – адсорбційна здатність (ємність) адсорбенту стосовно компоненту, якій вилучається. Адсорбційна ємність визначається відношенням ваги речовини, яка поглинута адсорбентом, до ваги адсорбенту (іноді до площі його поверхні). Вона залежить від концентрації адсорбованої речовини біля поверхні адсорбенту, тиску, загальної площі поверхні адсорбенту, хімічних, фізичних та електричних властивостей адсорбованої речовини та адсорбенту, температурних умов та наявності домішок. При рівних інших факторах, зі збільшенням температури поглинаюча здатність адсорбентів зменшується і, після досягнення певної критичної температури, процес відбувається в протилежному напрямку, тобто переходить в десорбцію. Адсорбована речовина починає переходити в газову фазу. На цьому базується процес регенерації адсорбенту. Регенерація здійснюється гарячим газом або паром. Зниження тиску також сприяє зменшенню адсорбційній ємності.

Процес адсорбції здійснюють в адсорберах, які становлять вертикальні, горизонтальні або кільцеві ємності, що заповнені пористим або кусковим адсорбентом. Газоповітряний потік фільтрується через адсорбент, на поверхні та в порах якого накопичується вловлювана речовина (адсорбат).

Як адсорбент найбільш широко використовують активоване вугілля і цеоліт.

Кільцевий адсорбер

1 – корпус; 2 – штуцер вводу забрудненого газу; 3 – штуцер виходу парогазової суміші; 4 – штуцер виходу очищеного газу; 5 – патрубок для виходу використаного адсорбенту; 6 – внутрішня циліндрична решітка; 7 - зовнішня циліндрична решітка; 8 – люк для завантаження адсорбенту.

 

Кільцевий адсорбер вмонтований в металевий циліндричний корпус. Газ, що підлягає очистці, потрапляє через штуцер 2 в адсорбер, проходить крізь шар адсорбенту, який знаходиться між внутрішньою 6 і зовнішньою 7 циліндричними решітками. Проходячи через шар адсорбенту, газ очищується від шкідливих домішок, які поглинаються адсорбентом. Очищений газ виводиться через штуцер 4. Регенерація адсорбенту здійснюється за допомогою водяної пари, яка подається через штуцер 4, а виводиться у вигляді паро-газової суміші через штуцер 3. Завантаження адсорбенту здійснюється через два люки 8, а його відвантаження – через люк 5.

Вибір конструкції адсорбера залежить від властивостей адсорбенту, схеми його регенерації (з видаленням з адсорбера або без нього), продуктивності та необхідного ступеня очищення газу.

Розрізняють апарати періодичної та безперервної дії. В адсорберах періодичної дії адсорбент нерухомий і повітря фільтрується крізь його шар. Процес продовжується до повного насичення адсорбенту, після чого апарат відключають та проводять регенерацію адсорбенту. В апаратах безперервної дії адсорбент під дією власної ваги або потоку очищувального повітря безперервно проходить через адсорбер та потрапляє на регенерацію.

Більш поширені установки безперервної дії, що зумовлено такими факторами:

- вони мають менші габаритні розміри в порівнянні з установками періодичної дії;

- вони мають менший гідравлічний опір;

- вони мають більшу продуктивність.

Основним недоліком адсорберів безперервної дії є швидке зношування адсорбенту за рахунок сил тертя, що збільшує його витрати.




Поделиться с друзьями:


Дата добавления: 2014-01-07; Просмотров: 3143; Нарушение авторских прав?; Мы поможем в написании вашей работы!


Нам важно ваше мнение! Был ли полезен опубликованный материал? Да | Нет



studopedia.su - Студопедия (2013 - 2026) год. Все материалы представленные на сайте исключительно с целью ознакомления читателями и не преследуют коммерческих целей или нарушение авторских прав! Последнее добавление




Генерация страницы за: 0.015 сек.