Студопедия

КАТЕГОРИИ:


Архитектура-(3434)Астрономия-(809)Биология-(7483)Биотехнологии-(1457)Военное дело-(14632)Высокие технологии-(1363)География-(913)Геология-(1438)Государство-(451)Демография-(1065)Дом-(47672)Журналистика и СМИ-(912)Изобретательство-(14524)Иностранные языки-(4268)Информатика-(17799)Искусство-(1338)История-(13644)Компьютеры-(11121)Косметика-(55)Кулинария-(373)Культура-(8427)Лингвистика-(374)Литература-(1642)Маркетинг-(23702)Математика-(16968)Машиностроение-(1700)Медицина-(12668)Менеджмент-(24684)Механика-(15423)Науковедение-(506)Образование-(11852)Охрана труда-(3308)Педагогика-(5571)Полиграфия-(1312)Политика-(7869)Право-(5454)Приборостроение-(1369)Программирование-(2801)Производство-(97182)Промышленность-(8706)Психология-(18388)Религия-(3217)Связь-(10668)Сельское хозяйство-(299)Социология-(6455)Спорт-(42831)Строительство-(4793)Торговля-(5050)Транспорт-(2929)Туризм-(1568)Физика-(3942)Философия-(17015)Финансы-(26596)Химия-(22929)Экология-(12095)Экономика-(9961)Электроника-(8441)Электротехника-(4623)Энергетика-(12629)Юриспруденция-(1492)Ядерная техника-(1748)

Генераторные фотопреобразователи

В фотоэлектрических методах измерения используются различные электрические эффекты, возникающие при освещении некоторых материалов световыми лучами. Энергия светового потока преобразуется в электрическую энергию.

 

Uвых => ΔU(Ф(х))

 

В качестве нагрузки может служить измерительный прибор, реле.

 

 

U0=V0+URH

 

 

Ri = высокое внутреннее сопротивление Фотодиод

Зависимость силы фототока i от напряжения при различных значениях светового потока Ф.

Световой поток может меняться в том числе и при смещении маятника ЧЭ акселерометра

 

Данная схема используются во многих акселерометрах, она восприимчива к субмикронным смещениям, кроме того не механического воздействия на подвижные элементы

 

2.2 Магнитоэлектрические преобразователи.

Основаны на прямом использовании закона электромагнитной индукции. Если подвижной системе сообщить перемещение, то в катушке будет индуктироваться электрический сигнал.

В отсутствии внешних источников питания на выходе получаем электрический сигнал.

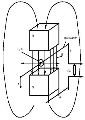
Магнитная сила сформирована полем постоянных магнитов, в зазоре которых помещен проводник. Поле характеризуется индукцией В. Линии индукции замыкаются образуя поле диполя. Если проводник в зазоре движется в направлении х, в нем наводится ЕДС:

 

la – активная часть проводника, находящаяся в магнитном поле.

B– индукция магнитного поля,

N- число витков, если замкнуты концы.

 

По правилу правой руки ток, ЭДС, В.

Если проводник закреплен на маятниковом ЧЭ, то F – сила демпфирования.

 

Устройство по сути – электромагнитный демпфер с реулируемым демпфированием.

Генераторный датчик скорости. В нем обеспечивается непосредственное преобразование механической величины в электрический сигнал. Одновременно является и прямым и обратным преобразователем.

 

На выходе имеем Ui=i RH.

 

Обратное преобразование, когда заданный ток создаст силу:

Такие преобразователи создают основу класса автоколебаний.

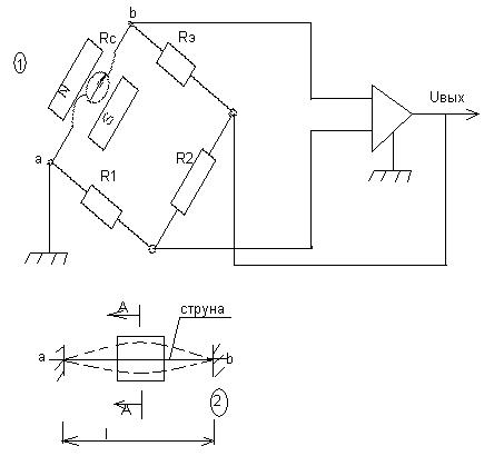
Струнный автогенератор, в котором используется обратимый преобразователь, имеет следующую схему:

Растянутая струна с точками вывода a и b

Вызываются автоколебания на собственной частоте:

В начальный момент мостовая схематически сбалансирована, Rэ=Rc, R1=R2, т. е. связь между входом и выходом нулевая. При возникновении колебаний, внутри плеча появляется ЭДС, мост становиться разбалансирован.

;

График равновесия системы:

<== предыдущая лекция | следующая лекция ==>
Генераторные преобразователи | Пьезоэлектрические преобразователи
Поделиться с друзьями:


Дата добавления: 2014-01-07; Просмотров: 543; Нарушение авторских прав?; Мы поможем в написании вашей работы!


Нам важно ваше мнение! Был ли полезен опубликованный материал? Да | Нет



studopedia.su - Студопедия (2013 - 2026) год. Все материалы представленные на сайте исключительно с целью ознакомления читателями и не преследуют коммерческих целей или нарушение авторских прав! Последнее добавление




Генерация страницы за: 0.012 сек.