Студопедия

КАТЕГОРИИ:


Архитектура-(3434)Астрономия-(809)Биология-(7483)Биотехнологии-(1457)Военное дело-(14632)Высокие технологии-(1363)География-(913)Геология-(1438)Государство-(451)Демография-(1065)Дом-(47672)Журналистика и СМИ-(912)Изобретательство-(14524)Иностранные языки-(4268)Информатика-(17799)Искусство-(1338)История-(13644)Компьютеры-(11121)Косметика-(55)Кулинария-(373)Культура-(8427)Лингвистика-(374)Литература-(1642)Маркетинг-(23702)Математика-(16968)Машиностроение-(1700)Медицина-(12668)Менеджмент-(24684)Механика-(15423)Науковедение-(506)Образование-(11852)Охрана труда-(3308)Педагогика-(5571)Полиграфия-(1312)Политика-(7869)Право-(5454)Приборостроение-(1369)Программирование-(2801)Производство-(97182)Промышленность-(8706)Психология-(18388)Религия-(3217)Связь-(10668)Сельское хозяйство-(299)Социология-(6455)Спорт-(42831)Строительство-(4793)Торговля-(5050)Транспорт-(2929)Туризм-(1568)Физика-(3942)Философия-(17015)Финансы-(26596)Химия-(22929)Экология-(12095)Экономика-(9961)Электроника-(8441)Электротехника-(4623)Энергетика-(12629)Юриспруденция-(1492)Ядерная техника-(1748)

Окончательно

 

, (5.9)

 

где - коэффициент, учитывающий влияние касательных напряжений на прочность болта;

- угол подъема винтовой линии;

- приведенный угол трения.

Отсюда внутренний диаметр резьбы болта, работающего на кручение и сжатие

. (5.10)

 

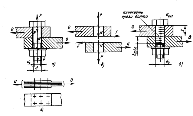
Расчет болтов при действии поперечной нагрузки. Возможны два варианта: болт поставлен в отверстие с зазором (рис.5.6,а) и без зазора (рис.5.6,в).

 

Рис.5.6. Расчетная схема

 

При установке болтов с зазором относительный сдвиг деталей отсутствует за счет затяжки болтов. При этом возникает сила трения . Т.к. , то усилие затяжки болта P при заданной поперечной нагрузке

, (5.11)

где f - коэффициент трения скольжения.

Внутренний диаметр болта

. (5.12)

Болты без зазора (рис.5.6,в) обычно ставят в отверстие на напряженной посадке. При этом поперечная нагрузка может вызвать срез болтов по плоскостям скольжения деталей узла и смятие на поверхностях контакта болтов со стенками отверстий.

Поэтому болты без зазора рассчитывают на срез

, (5.13)

или на смятие

, (5.14)

 

где - диаметр стержня болта;

- минимальная толщина соединяемых деталей.

Расчет групповых болтовых фланцевых соединений сводится к определению наиболее нагруженного болта и оценке его прочности.

Для болтов крепления крышки резервуара (рис.5.7) внешняя нагрузка на один болт

, (5.15)

где - общее внутреннее давление, воспринимаемое всеми болтами соединения.

 

Рис.5.7. Расчетная схема соединения сосуда

 

Затем находится внутренний диаметр болта по формуле 5.12.

Допускаемое напряжение растяжения определяют в зависимости от предела текучести материала болтов

, (5.16)

где n - коэффициент запаса, который зависит от материала и диаметра болтов .

Допускаемое напряжение среза

, (5.17)

<== предыдущая лекция | следующая лекция ==>
Тогда условие прочности резьбы на смятие | Допускаемое напряжение смятия
Поделиться с друзьями:


Дата добавления: 2014-01-07; Просмотров: 428; Нарушение авторских прав?; Мы поможем в написании вашей работы!


Нам важно ваше мнение! Был ли полезен опубликованный материал? Да | Нет



studopedia.su - Студопедия (2013 - 2026) год. Все материалы представленные на сайте исключительно с целью ознакомления читателями и не преследуют коммерческих целей или нарушение авторских прав! Последнее добавление




Генерация страницы за: 0.009 сек.