Студопедия

КАТЕГОРИИ:


Архитектура-(3434)Астрономия-(809)Биология-(7483)Биотехнологии-(1457)Военное дело-(14632)Высокие технологии-(1363)География-(913)Геология-(1438)Государство-(451)Демография-(1065)Дом-(47672)Журналистика и СМИ-(912)Изобретательство-(14524)Иностранные языки-(4268)Информатика-(17799)Искусство-(1338)История-(13644)Компьютеры-(11121)Косметика-(55)Кулинария-(373)Культура-(8427)Лингвистика-(374)Литература-(1642)Маркетинг-(23702)Математика-(16968)Машиностроение-(1700)Медицина-(12668)Менеджмент-(24684)Механика-(15423)Науковедение-(506)Образование-(11852)Охрана труда-(3308)Педагогика-(5571)Полиграфия-(1312)Политика-(7869)Право-(5454)Приборостроение-(1369)Программирование-(2801)Производство-(97182)Промышленность-(8706)Психология-(18388)Религия-(3217)Связь-(10668)Сельское хозяйство-(299)Социология-(6455)Спорт-(42831)Строительство-(4793)Торговля-(5050)Транспорт-(2929)Туризм-(1568)Физика-(3942)Философия-(17015)Финансы-(26596)Химия-(22929)Экология-(12095)Экономика-(9961)Электроника-(8441)Электротехника-(4623)Энергетика-(12629)Юриспруденция-(1492)Ядерная техника-(1748)

Элеваторы

 

Элеваторы – это машины, служащие для перемещения в вертикальном или близком к нему наклонном направлении сыпучих грузов с помощью непрерывно движущихся ковшей или для перемещения штучных грузов с помощью люлечных или жестких захватов.

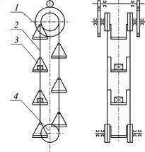
Элеваторы в зависимости от вида захватных приспособлений разделяются на ковшовые (нории) для сыпучих грузов (рисунок 13, а-г) и люлечные или с жестким захватом для штучных грузов (рисунок 13, д).

 

а) б) в) г) д)

Рисунок 13. - Схемы элеваторов:

а – ленточный элеватор с расставленными ковшами;

б – цепной элеватор с расставленными ковшами; в – то же с

сомкнутыми ковшами; г – наклонный элеватор; д – люлечный элеватор для штучных грузов

1 – приводной барабан; 2 – замкнутая лента; 3 – ковш (люлька);

4 – звездочки

 

Элеватор (рисунок 13) состоит из вертикальной или наклонной рамы, на которой в верхней части монтируется приводное устройство, состоящее из приводного барабана 1 или звездочек, электродвигателя и редуктора, храпового останова, препятствующего движению груженой ветви в обратном направлении. В нижней части элеватора применяется натяжное устройство, обычно винтовое, состоящее из натяжного барабана или звездочек, которые сгибает бесконечная замкнутая лента 2 или цепь. На тяговом органе укреплены ковши или люльки 3, которые перемещают груз. Для отклонения тяговых цепей применяются звездочки 4.

Ковши элеватора могут загружаться зачерпыванием из нижнего башмака элеватора, что применяется для пылевидных, мелкозернистых грузов (цемент, зерно, и др. (рисунок 13, а, б)). Грузы крупнокусковые и абразивные выгружают путем засыпки непосредственно в ковши (рисунок 13, в, г).

По виду тягового органа различают ленточные и цепные ковшовые элеваторы. Последние по числу, к которым крепятся ковши, делят на одно и двухцепные. По расположению в пространстве элеваторы бывают вертикальные и наклонные.

По скорости движения ковшей различают элеваторы тихоходные и быстроходные.

По способу разгрузки ковшей различают элеваторы с центробежной самотечной свободной и самотечной направленной разгрузкой. Центробежную разгрузку применяют у быстроходных элеваторов.

Для обеспечения нормальной разгрузки ковшей им придают соответствующую форму в зависимости от рода груза и скорости движения ковшей. Ковши характеризуются формой, размерами и линейной скоростью, представляющей собой отношение емкости е к шагу lК.

Производительность ковшовых элеваторов определяется по формуле:

 

,

где е – вместимость ковша, л;

lК – расстояние между ковшами (шаг ковша), м;

ψ – коэффициент наполнения ковша грузом, ψ= 0,6÷0,85;

v – скорость тягового элемента, м/с;

γ – насыпная плотность груза, т/м3.

Вместимость ковша определяется по формуле:

 

.

 

Затем подбирается ковш, а по его параметрам определяются размеры тяговых органов и параметры всех остальных устройств ковшового элеватора.

Скорости движения ковшей в быстроходных элеваторах применяются в зависимости от диаметра барабана или звездочек от 0,1 до 2,0 м/с в тихоходных элеваторах – от 0,3 до 0,6 м/с. Размеры ковшей проверяют на соответствие их максимальному размеру кусков груза.

 

<== предыдущая лекция | следующая лекция ==>
Бункера и силосы | Природа и режим света
Поделиться с друзьями:


Дата добавления: 2014-01-07; Просмотров: 1089; Нарушение авторских прав?; Мы поможем в написании вашей работы!


Нам важно ваше мнение! Был ли полезен опубликованный материал? Да | Нет



studopedia.su - Студопедия (2013 - 2025) год. Все материалы представленные на сайте исключительно с целью ознакомления читателями и не преследуют коммерческих целей или нарушение авторских прав! Последнее добавление




Генерация страницы за: 0.011 сек.