Студопедия

КАТЕГОРИИ:


Архитектура-(3434)Астрономия-(809)Биология-(7483)Биотехнологии-(1457)Военное дело-(14632)Высокие технологии-(1363)География-(913)Геология-(1438)Государство-(451)Демография-(1065)Дом-(47672)Журналистика и СМИ-(912)Изобретательство-(14524)Иностранные языки-(4268)Информатика-(17799)Искусство-(1338)История-(13644)Компьютеры-(11121)Косметика-(55)Кулинария-(373)Культура-(8427)Лингвистика-(374)Литература-(1642)Маркетинг-(23702)Математика-(16968)Машиностроение-(1700)Медицина-(12668)Менеджмент-(24684)Механика-(15423)Науковедение-(506)Образование-(11852)Охрана труда-(3308)Педагогика-(5571)Полиграфия-(1312)Политика-(7869)Право-(5454)Приборостроение-(1369)Программирование-(2801)Производство-(97182)Промышленность-(8706)Психология-(18388)Религия-(3217)Связь-(10668)Сельское хозяйство-(299)Социология-(6455)Спорт-(42831)Строительство-(4793)Торговля-(5050)Транспорт-(2929)Туризм-(1568)Физика-(3942)Философия-(17015)Финансы-(26596)Химия-(22929)Экология-(12095)Экономика-(9961)Электроника-(8441)Электротехника-(4623)Энергетика-(12629)Юриспруденция-(1492)Ядерная техника-(1748)

Реле часу

Реле часу створює регульовану витримку часу від моменту подачі сигналу на спрацьовування до моменту замикання (або розмикання) контактів. Програмне реле - це різновид реле часу з декількома контактами, що мають різні регульовані, як правило, незалежні друг від друга витримки часу. Наприклад, існують реле рахунку імпульсів, контакти яких замикаються після відліку заздалегідь заданого числа імпульсів, що подавайтеся на котушку керування. Пристрій таких реле має багато загального із кроковими шукачами.

Для створення витримки часу застосовуються електричний розрядний RC - контур, електромагнітні реле з короткозамкненими гільзами, механічні механізми (анкерний і планетарний), пневматичні й ін.

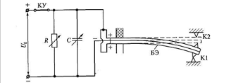
На рис. 8.22 дана схема реле часу з п’єзокерамічним елементом. П'єзокерамічні матеріали, отримані, наприклад, на основі титанату барію, мають властивість змінювати свої лінійні розміри в електричному полі. П'єзокерамічний біморфний елемент (БЕ) складається із двох міцно склеєних пластинок, на зовнішніх поверхнях яких, а також у місці їх з'єднання розміщені металеві обкладки. Верхній шар елемента в електричному полі подовжується, нижній - коротшає. У результаті цей елемент, консольно-закріплений на одному кінці, звивається, що приводить до замикання контакту К1. При знятті електричного поля з обкладок деформація біморфного елемента зникає, контакт К1 розмикається, а контакт К2 замикається.

Рис. 8.22. Схема реле часу з п’єзокерамічним елементом.

 

При замкненій кнопці керування (КК) конденсатор С и обкладки БЭ заряджені до напруги U0 і сам БЕ деформований. При відключенні КК починається розряд конденсатора З на резистор R. Напруга на обкладинках БЕ поступово знижується, і його механічна деформація також поступово зникає.

Реле часу з електромагнітною затримкою (електромагнітне реле часу) засноване на використанні вихрових струмів для затримки спрацьовування електромагнітної системи. На магнітопровід 1 (рис. 8.23) надіта металева (звичайно мідна) гільза (або шайба) 3, рівнозначна короткозамкненої обмотці з одним витком. Коли змінюється основний потік Фо, створений струмом котушки 2, у гільзі 3 наводяться вихрові струми, потік Фвх від яких має напрямок, що перешкоджає зміні основного потоку відповідно до принципу інерції Ленца. Коли потік Фо наростає, потік Фвх має протилежний напрямок, а коли Фо знижується - напрямок Фвх збігається з Фо.

Рис. 8.23. Електромагнітне реле часу: 1 – магнітопровід; 2 – котушка; 3 – мідна гільза.

 

Широко поширені реле часу з механічною затримкою, зокрема з годинним механізмом. У таких реле (рис. 8.24) при подачі напруги на електромагнітний привод 1 розтягується пружина 2 і годинний механізм приходить у дію. Анкер 4, повертаючись навколо осі О2, «перепускає» зубчастий диск 3, який обертається навколо осі О1.Що переміщається разом з ним важіль 8 наприкінці шляху впирається в пластинчастий контакт 9 і замикає його. Храповий механізм дає рухливій системі реле можливість вернутися у вихідне положення, коли буде знята напруга електромагнітного привода 1. Повернення здійснюється спеціальною пружиною (на малюнку не показана). Змінюючи відстань від грузика 5 до осі О2 і масу грузика, можна регулювати момент інерції анкера й через нього - витримку часу реле.

 

  Рис. 8.24. Реле часу з анкерним механізмом: 1 – електромагнітний привод; 2 – пружина; 3 – зубцевий диск; 4 – анкер; 5 – груз; 6 – храпове колесо; 7 – блок; 8 – важіль; 9 – контакт.

 

Витримка часу, створювана реле з годинним механізмом,

де α - кут повороту рухливої системи від початку руху до замикання контактів; n - передаточне число зубчастого механізму; z - число зубів ходового колеса; Tа - період коливань анкера,

тут J - момент інерції анкера; φ - кут повороту анкера при коливаннях; Мдв - момент, створюваний силами, що рухаються; Mпрд - момент, створюваний протидіючими силами.

У деяких реле застосовується пневматичне або гідравлічна затримка. Зміною перетину отвору, через який проникає повітря (або рідина) з одного обсягу в іншій, досягається регулювання витримки часу. Найбільш високі витримки часу (до кілька годин) досягаються в реле із планетарним механізмами.

 

<== предыдущая лекция | следующая лекция ==>
Теплові реле | Транзисторні й трансформаторні схеми керування
Поделиться с друзьями:


Дата добавления: 2014-01-07; Просмотров: 577; Нарушение авторских прав?; Мы поможем в написании вашей работы!


Нам важно ваше мнение! Был ли полезен опубликованный материал? Да | Нет



studopedia.su - Студопедия (2013 - 2026) год. Все материалы представленные на сайте исключительно с целью ознакомления читателями и не преследуют коммерческих целей или нарушение авторских прав! Последнее добавление




Генерация страницы за: 0.013 сек.