Студопедия

КАТЕГОРИИ:


Архитектура-(3434)Астрономия-(809)Биология-(7483)Биотехнологии-(1457)Военное дело-(14632)Высокие технологии-(1363)География-(913)Геология-(1438)Государство-(451)Демография-(1065)Дом-(47672)Журналистика и СМИ-(912)Изобретательство-(14524)Иностранные языки-(4268)Информатика-(17799)Искусство-(1338)История-(13644)Компьютеры-(11121)Косметика-(55)Кулинария-(373)Культура-(8427)Лингвистика-(374)Литература-(1642)Маркетинг-(23702)Математика-(16968)Машиностроение-(1700)Медицина-(12668)Менеджмент-(24684)Механика-(15423)Науковедение-(506)Образование-(11852)Охрана труда-(3308)Педагогика-(5571)Полиграфия-(1312)Политика-(7869)Право-(5454)Приборостроение-(1369)Программирование-(2801)Производство-(97182)Промышленность-(8706)Психология-(18388)Религия-(3217)Связь-(10668)Сельское хозяйство-(299)Социология-(6455)Спорт-(42831)Строительство-(4793)Торговля-(5050)Транспорт-(2929)Туризм-(1568)Физика-(3942)Философия-(17015)Финансы-(26596)Химия-(22929)Экология-(12095)Экономика-(9961)Электроника-(8441)Электротехника-(4623)Энергетика-(12629)Юриспруденция-(1492)Ядерная техника-(1748)

Противопожарная система летательных аппаратовотносится к активным средствам пожарной защиты

Майор вн.сл. А.В.Коваленко

ОБРАЗЦЫ ДОКУМЕНТОВ

 

 

СПРАВКА-ЗАМЕСТИТЕЛЬ

 

Документ, подшитый в дело № ______ том № ______ на листах ___________

 

 

(наименование документа: справка, доклад, письмо и т.п.)

 

 

учтенный за № _____ от «___» _______________ 20____г. на _________ листах из данного дела изъят и:

 

а) подшит в дело № ____ том № _____, листы __________, за ______ 20____ г.;

 

б) направлен ________________________«___» __________ 20___ г.

(кому)

за исх. № ______________;

 

в) выдан во временное пользование ______________________________

(кому и по какому учетному документу)

 

 

г) уничтожен ________________________________________________

(номер акта и дата)

 

Основание: __________________________________________________

(кто разрешил изъятие документа, фамилия, должность и его подпись)

 

 

Документ из дела изъял:

 

________________________ ___________________________

(фамилия) (подпись)

 

«___» _____________ 20___ г.

 

Документ принял на ________________________________________________

(отправку, подшивку в другое дело, передачу исполнителю)

 

________________________ ___________________________

(фамилия) (подпись)

 

«___» _____________ 20___ г.

 

 

ЛИСТ-ЗАВЕРИТЕЛЬ ДЕЛА № ___________

 

 

В деле подшито и пронумеровано _______________________________

(цифрами и прописью)

__________________________________________________________ лист(ов),

 

в том числе литерные листы ___________ пропущенные номера __________

+ листов внутренней описи __________________________________________

 

 

Особенности физического состояния и формирования дела №№ листов
   
     

 

 

(должность, подпись, расшифровка подписи, дата)

 

ВНУТРЕННЯЯ ОПИСЬ ДОКУМЕНТОВ ДЕЛА № _________

 

№№ пп Номер документа Дата документа Заголовок документа Номера листов Примечание
           
           
           
           
           
           
           
           
           
           
           
           
           

 

 

Итого _______________________________________________ документов

(цифрами и прописью)

 

 

Количество листов внутренней описи __________________________________

__________________________________________________________________

(цифрами и прописью)

 

 

_____________________________

(наименование должности лица, составившего

_____________________________ ____________________

внутреннюю опись документов дела) (расшифровка подписи)

 

«___» ________________ 20___ г.

 

 

(наименование организации)

 

 

 

 

 

Ф. № _________

Оп. № _________

Арх. № _________

 

 

 

(наименование структурного подразделения организации)

__________________________________________________________________

 

ДЕЛО № _______________ ТОМ № _________

__________________________________________________________________

__________________________________________________________________

Начато ________________ 20___ г.

Окончено _______________ 20___ г.

К-во листов _____________________

Срок хранения ___________________

 

 

Литература:

1. Положение о службе в органах внутренних дел РФ – утверждено постановлением Верховного Совета РФ от 23.12.1992 г. №4202-1.

2. Инструкция о порядке применения Положения о службе в ОВД РФ – утверждена приказом МВД РФ от 14.12.1999 г. №1038.

3. Инструкция по делопроизводству, утвержденная приказом МЧС России от 07.03.2003 № 120.

4. Приказ МЧС России от 02.12.98 № 694 ДСП

 

 

Разработал:

Ст.преподаватель кафедры ПСПСП

 

Системы пожаротушения бывают централизованными и автономными.

Автономные системы применяются для тушения пожара внутри двигателей и отсеков ВСУ, централизованные - для тушения в двигательных отсеках многодвигательных самолетов, т.е. в нескольких местах. Для этого имеется несколько очередей огнетушителей. Первая очередь приводится в действие автоматически или вручную, а последующие вручную в случае, если пожар не удалось погасить с первой попытки.

В каждой очереди должно быть такое количество огнегасящего состава, чтобы создать необходимую концентрацию не более чем за 3с. и сохранять её не менее2с.

Противопожарная система включает в себя следующие агрегаты и устройства

¾ огнетушители (пожарные баллоны);

¾ систему сигнализации о пожаре;

¾ распределительные устройства

¾ распылительные коллекторы;

¾ трубопроводы.

Стационарные огнетушители имеют баллоны шаровой (УБШ) или цилиндрической формы (УБЦ).

Затвор огнетушителя имеет электрическое дистанционное управление и открывается давлением пороховых газов от специальных пиропатронов. Для повышения надежности на огнетушителе устанавливают по две пироголовки или более, по числу отсеков, в которые из баллона подаётся огнегасящий состав. На пироголовке устанавливается манометр для контроля давления и предохранительная мембрана, которая разрушается при недопустимом превышении давления в результате перегрева (20±0,02мПа).

Огнетушители заправляются огнегасящими составами на основе галогенов - брома, фтора (так называемые хладоны). Они вступают в эндотермическую реакцию с продуктами горения. Наиболее распространённым является фреон 114В2. Для выброса состава огнетушитель заряжается воздухом или азотом до давления 10мПа при температуре 20° С.

Система сигнализации пожараобеспечивает подачу светового сигнала в кабину экипажа, сигнализирующего о возникновении пожара, и автоматически включает первую очередь огнетушителей. Она включает в себя датчики, исполнительный блок и устройства управления и сигнализации.

Датчики системы сигнализации пожара устанавливаются в необходимых количествах в местах наиболее вероятного возникновения пожара с таким расчетом, чтобы они выдавали сигнал не позднее, чем через 3с после возникновения. Сигнал о появлении дыма должен поступать экипажу не более чем через 100с с момента возникновения тления в отсеках.

Существуют тепловые, ионизационные, радиационные датчики. Наибольшее распространение получили тепловые и ионизационные датчики.

Тепловые - бывают точечные и линейные. Точечные (ДПС-1, ДТБ-2) состоят из нескольких последовательно соединённых термопар, при нагреве которых возникает э.д.с., которая вызывает срабатывание системы. Для подачи сигнала о пожаре необходимо, чтобы температура вокруг датчика была 150° C и скорость нарастания ее 2°C/с. Подача сигнала о пожаре прекращается при снижении температуры вокруг датчика ниже 130° С.

Линейные датчики имеют различную конструкцию и размеры. Они способны охватывать большие объемы отсеков. Чувствительные элементы могут быть выполнены в виде трубки, заполненной полупроводниковым заполнителем. Внутри трубки проходят электрический проводник, по которому пропускается ток, и минусовой провод. В качестве последнего может быть использована сама трубка. При нормальной температуре сопротивление заполнителя велико, а при нагреве оно понижается и между электродами замыкается цепь и выдаётся сигнал.

Ионизационный датчик (ИС) срабатывает в результате ионизации продуктов горения и появления при этом электропроводности между двумя электродами. Как правило, одним из них является корпус авиадвигателя или планер ВС. Время срабатывания при этом не превышает 1-2с. Недостаток данного типа датчиков в возможности ложного срабатывания.

 

Сигнализаторы дыма срабатывают при уменьшении прозрачности воздуха.

Исполнительный блок служит для распознавания сигналов от датчиков, их усиления и выдачи управляющих команд в исполнительные (пироголовки) и распределительные (при их наличии) устройства (электромагнитные краны), подающие огнегасящий состав в необходимый отсек.

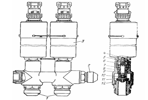
Блок электромагнитных распределительных кранов

Устройства управления и сигнализации выполняются в виде щитка с сигнальными лампами-кнопками, выключателями и переключателями для проверки системы и ручного приведения в действие.

Щиток противопожарной системы



 

 

 

Распылительные коллекторы служат для рассеивания огнегасящего состава в отсеках двигателей и ВСУ.

Коллекторы представляют собой согнутые в кольцо трубки, заглушенные на одном конце, ко второму концу подводится огнегасящий состав. Коллекторы имеют отверстия диаметром 0,8 мм для выхода огнегасящего состава. Коллекторы и трубопроводы системы выполнены из стальных труб и окрашены в красный цвет.

<== предыдущая лекция | следующая лекция ==>
Служебная информация ограниченного распространения | 
Поделиться с друзьями:


Дата добавления: 2014-01-07; Просмотров: 869; Нарушение авторских прав?; Мы поможем в написании вашей работы!


Нам важно ваше мнение! Был ли полезен опубликованный материал? Да | Нет



studopedia.su - Студопедия (2013 - 2025) год. Все материалы представленные на сайте исключительно с целью ознакомления читателями и не преследуют коммерческих целей или нарушение авторских прав! Последнее добавление




Генерация страницы за: 0.014 сек.