Студопедия

КАТЕГОРИИ:


Архитектура-(3434)Астрономия-(809)Биология-(7483)Биотехнологии-(1457)Военное дело-(14632)Высокие технологии-(1363)География-(913)Геология-(1438)Государство-(451)Демография-(1065)Дом-(47672)Журналистика и СМИ-(912)Изобретательство-(14524)Иностранные языки-(4268)Информатика-(17799)Искусство-(1338)История-(13644)Компьютеры-(11121)Косметика-(55)Кулинария-(373)Культура-(8427)Лингвистика-(374)Литература-(1642)Маркетинг-(23702)Математика-(16968)Машиностроение-(1700)Медицина-(12668)Менеджмент-(24684)Механика-(15423)Науковедение-(506)Образование-(11852)Охрана труда-(3308)Педагогика-(5571)Полиграфия-(1312)Политика-(7869)Право-(5454)Приборостроение-(1369)Программирование-(2801)Производство-(97182)Промышленность-(8706)Психология-(18388)Религия-(3217)Связь-(10668)Сельское хозяйство-(299)Социология-(6455)Спорт-(42831)Строительство-(4793)Торговля-(5050)Транспорт-(2929)Туризм-(1568)Физика-(3942)Философия-(17015)Финансы-(26596)Химия-(22929)Экология-(12095)Экономика-(9961)Электроника-(8441)Электротехника-(4623)Энергетика-(12629)Юриспруденция-(1492)Ядерная техника-(1748)

Получения циркония и гафния

Раздаточный материал к лекциям №.

 

План лекции №8. Технология циркония и гафния.

1. Химия циркония и гафния.

2. Применение циркония и гафния

3. Минералы и руды циркония, методы их обогащения

4. Способы переработки рудного сырья;

5. Получение металлического циркония и гафния,

 

Литература:

[1] т.2, с. 279-305.

[2] с. 160-222.

 

План лекции №9. Технология циркония и гафния: методы разделение циркония и гафния.

1. Дробная кристаллизация комплексных фторидов.

2. Ректификация.

3. Экстракция:

3.1. Использование ТБФ:

3.2. Использование МИБК.

4. Субхлоридный способ.

 

Литература:

[1] т.2, с. 306-359.

[2] с. 160-222.

 


Принципиальная схема цеха 12. Описание технологического процесса

       
 
 
   
Катоды Zr, Hf

Технологическая схема переработки цирконового концентрата по способу спекания с карбонатом кальция.

 

Схема шахтной электропечи: 1 – футеровка; 2 – брикеты; 3 – хлоропровод; 4 – смотровой лаз; 5 – угольная насадка; 6 – электроды нижнего яруса; 7 – летка; 8 – электроды верхнего яруса; 9 – патрубок для отвода парогазовой смеси; 10 – золотниковый питатель; 11 – загрузочное отверстие.
Схема аппарата для восстановления циркония из ZrCl4 магнием: 1 – печь реакционной зоны; 2 – реторта; 3 – реакционны стакан; 4 – переходная вставка; 5 – патрубок для ввода паров ZrCl4 в реакционный стакан; 6 –стакан с очищенным ZrCl4; 7 – крышка со штуцером для вакуумирования и впуска аргона; 8 – печь испарителя хлорида; 9 – штуцеры для выпуска шлака - MgCl2; 10 – реакционная масса; 11 – термопара.
Схема аппарата для очистки тетрахлорида циркония возгонкой: 1 – короба с очищаемым ZrCl4; 2 – печь испарителя ZrCl4; 3 – стакан с конденсатом возогнанного ZrCl4; 4 – печь конденсатора; 5 – штуцер для впуска водорода; 6 – штуцер для откачивания реторты; 7 – штуцер для подачи аргона; 8 – термопара.

 

Аппарат для рафинирования циркония по способу термической диссоциации иодидов: 1 – корпус аппарата; 2 – молибденовая сетка; 3 – подвеска для циркониевых нитей; 4 – токоподводы; 5 – термостат (внутри – ампула с йодом); 6 – вакуумный затвор; 7 – патрубок к вакуумной системе; 8 – крышка аппарата; 9 – молибденовые крючки; 10 – циркониевые нити; 11 – губка циркония, подлежащая очистке.

 

ТБФ – бутиловый эфир фосфорной кислоты, экстрагирует цирконий и гафний из кислых растворов основных хлоридов или нитратов этих элементов. Наиболее удобны для разделения растворы нитратов, содержащие свободную азотную кислоту. Экстракция протекает с образованием сольвата по реакции:

Константа равновесия реакции:

Отношение:

где DZr – коэффициент распределения; отсюда:

 

Зависимость коэффициентов распределения D и разделения β циркония и гафния от концентрации азотной кислоты. Из этого уравнения следует, что экстракция благоприятствует увеличению кислотности, концентрации нитрат-ионов и концентрации ТБФ в органической фазе. Как видно, при всех концентрациях азотной кислоты DZr больше, чем DНf, что объясняется меньшей степенью диссоциации его нитрата. С увеличением кислотности DНf растет быстрей, чем DZr, поэтому коэффициент разделения β=DZr/DHf с увеличением кислотности понижается. Выгодно проводить разделение из растворов с концентрацией HNO3 5-6 н., когда β>12.
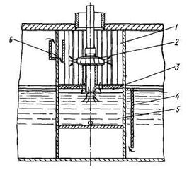
Схема смесительной камеры смесительно-отстойного экстрактора: 1 – камера смешения; 2 – турбинка с всасывающим патрубком; 3 – перегородка с рециркуляционным окном; 4 – карман для тяжелой фазы; 5 – форкамера; 6 – карман для легкой фазы.
     

 

 

Принципиальная схема разделения циркония и гафния экстракцией метилизобутилкетоном (гексоном).

 

Схема разделения циркония и гафния субхлоридным методом.
<== предыдущая лекция | следующая лекция ==>
Графическая интерпретация монопольного равновесия | Сущность и общее представление о социализации
Поделиться с друзьями:


Дата добавления: 2014-01-07; Просмотров: 975; Нарушение авторских прав?; Мы поможем в написании вашей работы!


Нам важно ваше мнение! Был ли полезен опубликованный материал? Да | Нет



studopedia.su - Студопедия (2013 - 2025) год. Все материалы представленные на сайте исключительно с целью ознакомления читателями и не преследуют коммерческих целей или нарушение авторских прав! Последнее добавление




Генерация страницы за: 0.009 сек.