Студопедия

КАТЕГОРИИ:


Архитектура-(3434)Астрономия-(809)Биология-(7483)Биотехнологии-(1457)Военное дело-(14632)Высокие технологии-(1363)География-(913)Геология-(1438)Государство-(451)Демография-(1065)Дом-(47672)Журналистика и СМИ-(912)Изобретательство-(14524)Иностранные языки-(4268)Информатика-(17799)Искусство-(1338)История-(13644)Компьютеры-(11121)Косметика-(55)Кулинария-(373)Культура-(8427)Лингвистика-(374)Литература-(1642)Маркетинг-(23702)Математика-(16968)Машиностроение-(1700)Медицина-(12668)Менеджмент-(24684)Механика-(15423)Науковедение-(506)Образование-(11852)Охрана труда-(3308)Педагогика-(5571)Полиграфия-(1312)Политика-(7869)Право-(5454)Приборостроение-(1369)Программирование-(2801)Производство-(97182)Промышленность-(8706)Психология-(18388)Религия-(3217)Связь-(10668)Сельское хозяйство-(299)Социология-(6455)Спорт-(42831)Строительство-(4793)Торговля-(5050)Транспорт-(2929)Туризм-(1568)Физика-(3942)Философия-(17015)Финансы-(26596)Химия-(22929)Экология-(12095)Экономика-(9961)Электроника-(8441)Электротехника-(4623)Энергетика-(12629)Юриспруденция-(1492)Ядерная техника-(1748)

Телевизионный приемник




Приемники телевизионного вещания

Лекция №6

 

 

Несущая передатчика модулируется телевизионными сигналами (рис. 2.40) по амплитуде с частичным подавлением боковой полосы частот. Изображение передается 25 раз в секунду, т. е. число кадров n = 25. Применяется чересстрочная развертка на Z = 625 горизонтальных строк. Спектр частот телевизионных сигналов (рис. 2.40) простирается от Fmin = 25 Гц до Fmах = 0,38knZ2, где k = 4/3 - формат кадра, т. е. отношение ширины изображения к его высоте. Сигнал звукового сопровождения с ЧМ имеет среднюю частоту fоз = fои + 6,5МГц (где fои - несущая изображения), девиацию 75 кГц и спектр частот модуляции 50 – 15000 Гц. На рис. 2.41 изображен используемый полный спектр частот телевизионного сигнала, совместно с несущей изображения fои ц.;н и звука fоз соседних каналов.

Рис. 2.40. Стандартный телевизионный сигнал изображения

Для телевизионного вещания отведено 12 каналов по 8 МГц на метровых волнах (48—100 и 170—230 МГц) и 21 канал на дециметровых волнах (470 - 638 МГц). Частоты каналов приведены в табл. 2.6.

Рисунок 5.11 АЧХ телевизионного сигнала передающего центра

 

АЧХ телевизионного приемника отлична от передаваемого сигнала (рисунок 5.11).

Рисунок 5.12 АЧХ телевизионного приемника

Телевещательные приемники могут выполняться с отдельными и общим трактом усиления сигналов изображения и звука, причем последний случай получил наибольшее распространение. В таком приемнике (рис. 2.42) суммарный сигнал изображения, звука и синхронизации проходит через общий линейный тракт. Сигналы изображения, демодулированные амплитудным детектором-смесителем (ДС) и усиленные видеоусилителем (ВУ), управляют яркостью луча приемной электронно-лучевой трубки (кинескопа) ПТ.

Напряжение биений со средней частотой 6,5 МГц подается на УПЧ звука, ограничитель звуковых частот, ЧД, УНЧ и громкоговоритель (Г).

Гасящие и синхронизирующие импульсы выделяются в блоке синхронизации (БС) и с помощью БР управляют разверткой луча кинескопа и гасят луч во время обратных ходов развертки. Помехоустойчивые схемы БС устраняют срывы синхронизации при сильных помехах.

Рис. 2.42. Схема телевизионного приемника с общим трактом изображения и звука.

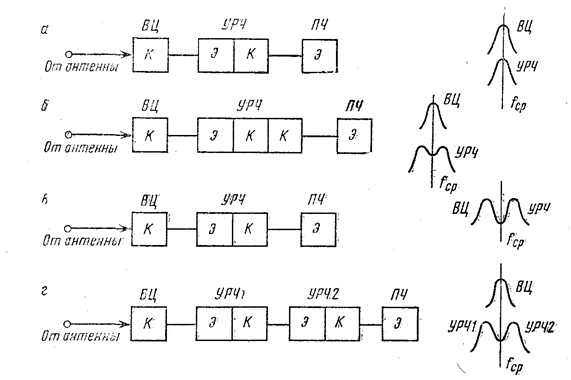
УРЧ имеет один-два каскада с малыми N и большими Кр для повышения чувствительности. Для уменьшения частотных искажений и увеличения избирательности преселектор (ВЦ и УРЧ) настраивается на /ср =3 Yfoafva' имеет полосу пропускания 8 МГц с неравномерностью 3 дБ и резонансную характеристику, близкую к прямоугольной. Преселектор можно реализовать на одиночных контурах, настроенных на /ср (рис. 2.43, а), одиночных расстроенных контурах (рис. 2.43. в, г) или парах связанных контуров (рис. 2.43, б). Вариант рис. 2.43, а наиболее прост в настройке, варианты рис. 2.43, б и 2.43, г дают наибольшую избирательность.

Рис. 2.43. Возможные схемы и резонансные характеристики преселекторов телевизионных приемников.

К—резонансный контур.

При переключении каналов; обычно меняются индуктивности контуров ВЦ, УРЧ и гетеродина (Г), с помощью барабанного переключателя телевизионного каналов (ПТК). На метровых и дециметровых волнах применяются два переключателя.

Преобразователь частоты следует выполнять с отдельным смесителем и гетеродином на транзисторах. Частота гетеродина вырабатывается выше частоты принимаемого сигнала для уменьшения комбинационных помех. Подстройка частоты гетеродина в небольших пределах ведется конденсатором переменной емкости (при механической подстройке) или варикапом (при электронной подстройке).

Усилитель промежуточной частоты (УПЧ) соединяется с ПТК коаксиальным кабелем длиной 15—30- см. Промежуточной частоте изображения f ои = 38 МГц должна соответствовать середина ската характеристики (рис. 2.44) шириной Df = 1,5 — 2 МГц. На частотах ниже f ци коэффициент усиления должен быть не менее 0,7 К ср, где К ср — коэффициент усиления на средней частоте. Коэффициент усиления на средней промежуточной частоты звука f пз и частот изображения и звука соседних каналов f ци ск и f цз ск должны быть на 26—30 дБ ниже К ср. В УПЧ можно применять каскады с парами связанных или одиночных расстроенных контуров или ФСИ в сочетании с широкополосными резонансными или резистивными каскадами, ширина полосы пропускания которых не менее (2...3) F max. Для ослабления частот f ци ск и f цз ск используют режекторные фильтры.

Детектор-смеситель (ДС), как правило реализуют на полупроводниковом диоде с входным напряжением (уровня черного) U»0,3 и 1,2 В (при 1-м каскаде ВУ с общим эмиттером и эмиттерным повторителем) и Kд=0,5 и 0,7 соответственно. ДС преобразует также частоту сигнала звука в напряжение со средней частотой 6,5 МГц и коэффициентом передачи Кц-...

Видеоусилитель (ВУ) обеспечивает усиление сигнала изображения от 0,15—0,84 В до напряжения L^iv, необходимого для управления яркостью кинескопа ПТ, и должен иметь полосу пропускания от 25 Гц до Fm&x- ^ля роста четкости изображения на частотах вблизи Fmax допустим подъем усиления. Сигналы звука и изображения могут быть разделены после детектора или 1-го каскада ВУ

Усилитель промежуточной частоты звука (УПЧЗ) должен иметь:

среднюю частоту 6,5 МГц, полосу пропускания Tig == 2Finax з (1 4" + w, +}^/"ч), где/п, — индекс частотной модуляции; коэффициент прямоугольности резонансной характеристики По дд/Пи д ^ 2. Усиление /\з =(l,5...2)L/v/t/ni^c^'B3i где Uv— напряжение сигнала звуьа на выходе УПЧЗ; Квз — усиление сигналов звука в ВУ;

Кл — усиление сигналов звука в ДС. При использовании в УПЧЗ связанных контуров связь между контурами должна быть не более критической для устранения нелинейных искажений.

Демодулятором сигналов звука ЧД могут служить детектор отно­шений или дискриминатор с ограничителем амплитуд. Необходимое напряжение Uv = 10...50 мВ при использовании детектора отно­шений. Дискриминатор с ограничителем на кремниевых диодах

требует L/v = 300...500 мВ, но он проще в настройке и имеет больший коэффициент передачи Кцз-

Усилитель звуковых частот (УНЧ) аналогичен усилителям радиовещательных приемников с соответствующими параметрами. Входное напряжение равно t/vi = U\ Кдз- Должны быть предусмот­рены: введение регулировки громкости (РРГ) и тембра (РРТ); рабо­та от звукоснимателя и на головные телефоны.

Автоматическая подстройка (АПЧ) необходима для устранения ручной подстройки гетеродина при приеме. Функции различителей (РЧАП) могут выполнять дискриминаторы или детекторы отношений (с подавленной амплитудной модуляцией ограничителем или АРУ), а также квадратурно-фазовые детекторы, которые требуют большего входного напряжения. Управителями (УЧАП) обычно служат варикапы (или реактивные транзисторы).

Автоматическая регулировка усиления (АРУ) должна сохранять малые изменения напряжения сигналов на входе ДС при изменении уровня сигналов на входе телевизора в сотни и тысячи раз. Детектор АРУ (ДАРУ) использует для создания управляющего напряжения синхроимпульсы с выхода ВУ или ДС. Наилучшую регулировку обеспечивают ключевые ДАРУ, которые открываются стробимпуль-сами от строчного трансформатора БР. Цепь АРУ охватывает УРЧ и УПЧ.

Ручная регулировка усиления (регулировка контрастности) вво­дится в ВУ для того, чтобы зритель выбирал нужную контрастность при изменении характера изображения и освещенности.

Автоматическая регулировка яркости (АРЯ) поддерживает по­стоянное соотношение яркостей частей изображения при ручной регулировке усиления ВУ (регулировке контрастности). Для этого используют устройства, поддерживающие постоянной интенсив­ность луча кинескопа, соответствующего черному полю изображения.

Автоматическая регулировка контрастности (АРК) вступает в действие при изменении освещенности комнаты, где установлен телевизор. В этом случае в цепи АРУ включается фоторезистор, со­противление которого уменьшается с ростом его освещенности и ко­торый при этом увеличивает коэффициент усиления УРЧ и УПЧ.

При расчете телевизионных приемников нужно поступать следующим образом. Если в требованиях к приемнику указывается необходимая э. д. с. сигналов изображения Е^и и звука Ер,з в антенне, ограниченные только усилением, то необходимо определить коэффициенты усиления:

Ко ви. Ко урч Ко ац Ко упч > U\\\IE^, (2.77) Ко вц Ко урч Ку пч Ко упч КсКвзКз ^ t/v/^Ag. (2.78)

Если в требованиях к приемнику указывается чувствительность канала изображения, ограниченная шумами Ядш, то следует подсчи­тать коэффициент шума

Л/д ^ 1^щ/4А:Т<^АПщУ& + 1 - Тд/Го, (2.79) 93

г;:д '°л == 75 Ом — сопротивление антенны; 'Гц == 290 К — абсолютная комнатная температура; Пш ^ 1,2^шах—шумовая полоса УПЧ;

Уаыя^Зб дБ -— отношение сигнал/шум на выходе приемнике;

та — температура внешних шумов.

Измерения показали, что для /о ==30—120 МГц TfJTo =s l^x X W/fo (МГц!; для fo ^ 120 МГц Гд/Го w 1.

В приемнике отечественного цветного телевидения (рис. 2.46) два амплитудных детектора АД1 и АД2 выделяют сигналы изображения и звука, тем самым устраняя влияние на канал изображения

Рис. 2.45. Схема цветного телевизионного приемника.

частот биений, возникающих между колебаниями звука 6,5 МГц и поднесущих цветности 4,406 и 4,25 МГц. Иногда для этой же цели используется отдельный УПЧ на 31,5 МГц. С выхода видеоусилителя (ВУ) сигналы изображения подводятся к блоку цветности (Б11), а оттуда на катоды трех пушек кинескопа. Блок динамического сведения (БДС) преобразует напряжения кадровой и строчной развертки генераторов ГКЧ и ГСЧ в параболическую форму для питание катушек системы динамического сведения (СДС). Блок цветности выделяет из сигналов изображения часть, содержащую информацию о цвете изображения.

Избирательная система селектора каналов настраивается на частоту

Промежуточная частота по тракту изображения 38 МГц

Промежуточная частота по тракту звука 31.5 Мгц

Необходимо рассмотреть назначение каждого отдельного узла телевизионного приемника. Особенность детектора - Функция детектора видео сигнала и детектор смеситель для выделения УПЧ звука 6,5 МГц.

 

Рис. 5.14 Структурная схема ч/б телевизионного приемника с раздельным трактом изображения и звука.

 

Представить структурную схему цв телевизионного приемника

 

 

Рис.5.15 Структурная схема ц/в телевизионного приемника





Поделиться с друзьями:


Дата добавления: 2014-01-07; Просмотров: 1137; Нарушение авторских прав?; Мы поможем в написании вашей работы!


Нам важно ваше мнение! Был ли полезен опубликованный материал? Да | Нет



studopedia.su - Студопедия (2013 - 2025) год. Все материалы представленные на сайте исключительно с целью ознакомления читателями и не преследуют коммерческих целей или нарушение авторских прав! Последнее добавление




Генерация страницы за: 0.013 сек.