Студопедия

КАТЕГОРИИ:


Архитектура-(3434)Астрономия-(809)Биология-(7483)Биотехнологии-(1457)Военное дело-(14632)Высокие технологии-(1363)География-(913)Геология-(1438)Государство-(451)Демография-(1065)Дом-(47672)Журналистика и СМИ-(912)Изобретательство-(14524)Иностранные языки-(4268)Информатика-(17799)Искусство-(1338)История-(13644)Компьютеры-(11121)Косметика-(55)Кулинария-(373)Культура-(8427)Лингвистика-(374)Литература-(1642)Маркетинг-(23702)Математика-(16968)Машиностроение-(1700)Медицина-(12668)Менеджмент-(24684)Механика-(15423)Науковедение-(506)Образование-(11852)Охрана труда-(3308)Педагогика-(5571)Полиграфия-(1312)Политика-(7869)Право-(5454)Приборостроение-(1369)Программирование-(2801)Производство-(97182)Промышленность-(8706)Психология-(18388)Религия-(3217)Связь-(10668)Сельское хозяйство-(299)Социология-(6455)Спорт-(42831)Строительство-(4793)Торговля-(5050)Транспорт-(2929)Туризм-(1568)Физика-(3942)Философия-(17015)Финансы-(26596)Химия-(22929)Экология-(12095)Экономика-(9961)Электроника-(8441)Электротехника-(4623)Энергетика-(12629)Юриспруденция-(1492)Ядерная техника-(1748)

Доступа в цск




 

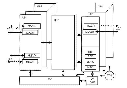
Цифровая система коммутации (ЦСК) характеризуется тем, что ее коммутационное поле коммутирует каналы, по которым информация передается в цифровом виде. Обобщенная структура ЦСК представлена на рисунке 7.1.

 

 

ААЛ - аналоговая абонентская линия; ЦАЛ - цифровая абонентская линия;

АБ - абонентский блок; МААЛ - модуль аналоговых АЛ;

МЦАЛ - модуль цифровых АЛ; МЦСЛ - модуль цифровых СЛ;

ЦСЛ - цифровая соединительная линия; СУ - система управления;

ЦКП - цифровое коммутационное поле; ЛБ – линейный блок;

ОС - оборудование сигнализации; БЛС - блок линейных сигналов;

ГТИ - генератор тактовых импульсов; МАС- модуль акустических сигналов;

БМЧС - блок многочастотной сигнализации;

УУ ОКС - устройство управления сетью сигнализации ОКС№7.

 

Рисунок 7.1 - Обобщенная структура ЦСК

 

Абонентский блок (АБ) предназначен для согласования аналоговых и цифровых абонентских линий с коммутационным полем станции посредством модулей аналоговых и цифровых абонентских комплектов соответственно.




Поделиться с друзьями:


Дата добавления: 2014-01-07; Просмотров: 375; Нарушение авторских прав?; Мы поможем в написании вашей работы!


Нам важно ваше мнение! Был ли полезен опубликованный материал? Да | Нет



studopedia.su - Студопедия (2013 - 2026) год. Все материалы представленные на сайте исключительно с целью ознакомления читателями и не преследуют коммерческих целей или нарушение авторских прав! Последнее добавление




Генерация страницы за: 0.008 сек.