Студопедия

КАТЕГОРИИ:


Архитектура-(3434)Астрономия-(809)Биология-(7483)Биотехнологии-(1457)Военное дело-(14632)Высокие технологии-(1363)География-(913)Геология-(1438)Государство-(451)Демография-(1065)Дом-(47672)Журналистика и СМИ-(912)Изобретательство-(14524)Иностранные языки-(4268)Информатика-(17799)Искусство-(1338)История-(13644)Компьютеры-(11121)Косметика-(55)Кулинария-(373)Культура-(8427)Лингвистика-(374)Литература-(1642)Маркетинг-(23702)Математика-(16968)Машиностроение-(1700)Медицина-(12668)Менеджмент-(24684)Механика-(15423)Науковедение-(506)Образование-(11852)Охрана труда-(3308)Педагогика-(5571)Полиграфия-(1312)Политика-(7869)Право-(5454)Приборостроение-(1369)Программирование-(2801)Производство-(97182)Промышленность-(8706)Психология-(18388)Религия-(3217)Связь-(10668)Сельское хозяйство-(299)Социология-(6455)Спорт-(42831)Строительство-(4793)Торговля-(5050)Транспорт-(2929)Туризм-(1568)Физика-(3942)Философия-(17015)Финансы-(26596)Химия-(22929)Экология-(12095)Экономика-(9961)Электроника-(8441)Электротехника-(4623)Энергетика-(12629)Юриспруденция-(1492)Ядерная техника-(1748)

Встречный излом образующей




Встречный излом образующей встречается в компоновках в случае, если диаметр нижней ступени больше, чем диаметр верхней ступени. Увеличение диаметра компоновки имеет место у многих ракет, таких как «Сатурн» различных модификаций, корейская ракета КСЛВ и пр.

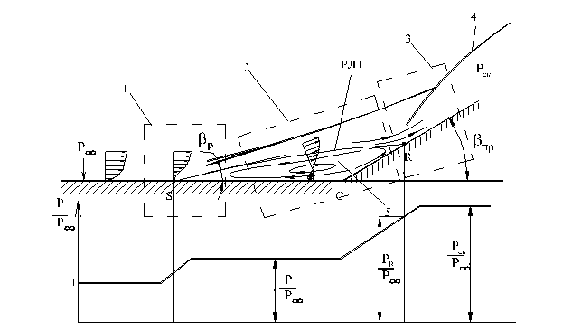
На рисунке 2.2.1 представлена схема течения около встречного излома образующей. В отличие от обратного уступа в данном течении появляется точка S- отрыва пограничного слоя, а также имеет место известная точка R- точка растекания, разделяющая прямое и обратное течение. Также точка R является точкой отсчета для вновь нарастающего пограничного слоя на встречном изломе.

Рисунок 2.2.1 – Схема течения и распределение давления на встречном изломе образующей.

На рисунке 2.2.1 РЛТ обозначена линия тока, приходящая в точку растекания и разделяющая прямое и возвратное течение. Точка отрыва S характеризуется профилем скорости, имеющим у стенки не только нулевое значение самой скорости, но и нулевое значение производной скорости.

Причиной возникновения отрывного течения со сложной системой скачков уплотнения в этом случае является встречное препятствие перед сверхзвуковым потоком. Первичным событием в данном случае является появление косого скачка уплотнения перед встречной наклонной поверхностью компоновки. Поскольку за косым скачком уплотнения давление Рск существенно повышается по отношению к давлению в невозмущенном потоке Р. Информация об этом посредством звуковых волн проникает по нижней наклонной поверхности компоновки достигает дозвуковой части пограничного слоя. Давление в пограничном слое, как в сверхзвуковой его части, так и в пристеночной дозвуковой составляет Р. Пограничный слой не может преодолеть встречное большое давление Рск .Он начинает утолщаться по направлению вверх и отделяется от поверхности конструкции с образованием выпуклой зоны вихревого течения со знакопеременным профилем скорости.

Появление утолщения в пограничном слое воспринимается сверхзвуковым невозмущенным потоком, как препятствие. Поэтому в области точки S начинают возникать воны сжатия, сходящиеся в косой скачок уплотнения перед отрывом. При числах Маха более 2 оба косых скачка сходятся вверху с образованием так называемого l-скачка, между ножками которого располагается зона вихревого течения. Данные экспериментов продемонстрировали общую особенность всех отрывных течений, имеющих место между ножками l-скачка, это почти одинаковое давление, названное давлением плато.

Присоединение пограничного слоя происходит непосредственно за точкой R-называемой точкой растекания. За точкой растекания начинается формирование вновь нарастающего пограничного слоя.

Давление и тепловой поток достигают максимума на некотором расстоянии вверх по потоку за точкой присоединения, как это было описано выше в тексте об обратном уступе. На рисунке 2.2.2 представлено распределение давления на встречном изломе образующей, представляющем собой компоновку с переходом от меньшего диаметра к большему с разницей радиусов h. Исследования различных авторов показали, что между ножками l-скачка определяется формулами для давления на плато и несколько выше, чем давление в невозмущенной атмосфере Р. Затем в точке растекания R давление значительно увеличивается, непосредственно за точкой растекания давление имеет максимум, который соответствует восстановлению давления при переходе через ножки l-скачка уплотнения. Далее давление понижается до значений давлений за отошедшим косым скачком уплотнения на наклонной поверхности Рск. После углового излома при переходе на цилиндр большего диаметра имеет место так называемая ложка в графике давления. Уменьшение давление связано с обтеканием сверхзвуковым потоком тупого угла. Далее происходит постепенное выравнивание давления до уровня давления в невозмущенном потоке.

 

Рисунок 2.2.2 – Схема течения и распределение давлений на встречном изломе образующей.

Давление области плато для ламинарного и турбулентного отрыва определяется по следующим полуэмпирическим формулам, приведенным в частности в [2]:

- для турбулентного (1)

- для ламинарного (2)

Следует отметить, что число Рейнольдса Reопр∞, зависит от параметров в невозмущенном потоке перед зоной отрыва скорости U, и определяющей температуры Эккерта, вязкости и плотности в невозмущенном потоке по следующим формулам:

(3)

(4)

(5)

 

Reопр= rопрU Xэфф/mопр (6)

В данном случае корректнее воспользоваться не просто расстоянием Х от носка изделия до конкретного излома образующей, а эффективной длиной пластины Хэфф. Для турбулентного пограничного слоя Хэфф

 

(7)

Для ламинарного пограничного слоя Х эфф

 

(8)

 

В данном случае корректнее воспользоваться не просто расстоянием Х от носка изделия до конкретного излома образующей, а эффективной длиной пластины.

Эта величина является функцией числа Маха набегающего потока, поэтому переменна во времени. Способ расчета Хэфф подробно приведен в [3].

За точкой растекания R реализуется максимальное давление, которое можно рассчитать проведя невозмущенный поток через косой скачок с наклоном 160-180, который является передней частью l-скачка. Получив значения давления и числа Маха за первым косым скачком, следует их применить для расчета давления и числа Маха за задней ножкой l-скачка. Второй скачок может быть прямым в случае прямого угла встречного излома или наклонным в случае угла βпр (рис.2.2.2).

В самой точке растекания R давление примерно 0.528 от Рmax.

На расстоянии, примерно равном расстоянию отхода ударной волны от излома, реализуется давление в потоке Рск, прошедшем только через один скачок, имеющий примерно тот же угол наклона, что и задняя ножка l-скачка.

Давление за косым скачком является функцией числа Маха набегающего потока, и может определено по таблицам.




Поделиться с друзьями:


Дата добавления: 2014-01-07; Просмотров: 463; Нарушение авторских прав?; Мы поможем в написании вашей работы!


Нам важно ваше мнение! Был ли полезен опубликованный материал? Да | Нет



studopedia.su - Студопедия (2013 - 2026) год. Все материалы представленные на сайте исключительно с целью ознакомления читателями и не преследуют коммерческих целей или нарушение авторских прав! Последнее добавление




Генерация страницы за: 0.012 сек.