Студопедия

КАТЕГОРИИ:


Архитектура-(3434)Астрономия-(809)Биология-(7483)Биотехнологии-(1457)Военное дело-(14632)Высокие технологии-(1363)География-(913)Геология-(1438)Государство-(451)Демография-(1065)Дом-(47672)Журналистика и СМИ-(912)Изобретательство-(14524)Иностранные языки-(4268)Информатика-(17799)Искусство-(1338)История-(13644)Компьютеры-(11121)Косметика-(55)Кулинария-(373)Культура-(8427)Лингвистика-(374)Литература-(1642)Маркетинг-(23702)Математика-(16968)Машиностроение-(1700)Медицина-(12668)Менеджмент-(24684)Механика-(15423)Науковедение-(506)Образование-(11852)Охрана труда-(3308)Педагогика-(5571)Полиграфия-(1312)Политика-(7869)Право-(5454)Приборостроение-(1369)Программирование-(2801)Производство-(97182)Промышленность-(8706)Психология-(18388)Религия-(3217)Связь-(10668)Сельское хозяйство-(299)Социология-(6455)Спорт-(42831)Строительство-(4793)Торговля-(5050)Транспорт-(2929)Туризм-(1568)Физика-(3942)Философия-(17015)Финансы-(26596)Химия-(22929)Экология-(12095)Экономика-(9961)Электроника-(8441)Электротехника-(4623)Энергетика-(12629)Юриспруденция-(1492)Ядерная техника-(1748)

Фотоэлектрические устройства

Электровакуумные или полупроводниковые приборы, принцип работы которых основан на фотоэффекте, называют фотоэлектронными.

Рассмотрим один из наиболее распространенных фотоэлектронных приборов - вакуумный фотоэлемент (рис. 4). Он основан на внешнем фотоэффекте и состоит из источника электронов - фотокатода K, на который попадает свет, и анода A. Вся система заключена в стеклянный баллон, из которого откачан воздух.

       
 
   
Рис. 4. Схема включения вакуумного фотоэлемента в цепь.
 

 


 

Фотокатод, представляющий собой фоточувствительный слой, может быть непосредственно нанесен на часть внутренней поверхности баллона. На рисунке 4 приведена схема включения фотоэлемента в цепь.

Для вакуумных фотоэлементов рабочим режимом является режим насыщения, которому соответствуют горизонтальные участки вольтамперных характеристик. Основной параметр фотоэлемента - его чувствительность, выражаемая отношением силы фототока к соответствующему световому потоку. Эта величина в вакуумных фотоэлементах достигает значения ~100 мкА/Лм.

Для усиления фототока применяют фотоэлектронные умножители (ФЭУ) - приборы, в которых кроме фотоэффекта используется явление вторичной эмиссии электронов, проходящее в результате бомбардировки поверхности металла пучком первичных электронов.

Рассмотрим схему ФЭУ (рис. 5). Падающие на фотокатод K фотоны эммитируют электроны, которые фокусируются на первом электроде (диноде) Э1. В результате вторичной электронной эмиссии с этого динода вылетает больше электронов, чем падает на него, то есть проходит как бы умножение электронов. Умножаясь на следующих динодах, электроны в итоге образуют усиленный в сотни тысяч раз ток по сравнению с первичным фототоком.

 

 

Рис. 5. Принципиальная схема ФЭУ.

 

ФЭУ применяют для регистрации малых световых потоков. Например, для регистрации сверхслабой биолюминесценции и так далее.

На внешнем фотоэффекте основана работа электронно-оптического преобразователя (ЭОП) (рис. 6), предназначенного для преобразования изображения из одной области спектра в другую, а также для усиления яркости изображений.

 

 

 


Рис. 6. Схема простейшего ЭОП.

 

Световое изображение объекта 1 (см. рис. 6), спроектированное на полупрозрачный фотокатод K, преобразуется в электронное изображение 2. Ускоренные и сфокусированные электрическим полем электродов Э электроны попадают на люминесцентный экран L. Здесь электронное изображение благодаря катодолюминесценции вновь преобразуется в световое изображение 3.

В медицине ЭОП применяют для усиления яркости рентгеновского изображения, это позволяет значительно уменьшить дозу облучения человека. ЭОП способен преобразовать ИК излучение в видимое, что, в частности используется для термографической диагностики заболевания.

Вентильные фотоэлементы имеют преимущество перед вакуумными, так как работают без источника тока. Их чувствительность достигает нескольких тысяч мкА/Лм.

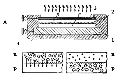
Рассмотрим селеновый фотоэлемент (рис. 7, А). Он представляет стальную пластинку 1, которая служит одним из электродов и покрыта тонким слоем 2 селена с дырочной проводимостью (типа p). Поверх селена нанесен тончайший слой 3 серебра, который служит вторым электродом. Атомы серебра проникают в прилежащий к нему слой селена и придают ему электронную проводимость (типа n). Между верхним и нижним слоями селена образуется запирающий слой, в котором возникает контактная разность потенциалов (КРП), направленная от np -слою.

 

 

Рис. 7. Устройство и принцип действия селенового фотоэлемента

 

При действии света в селене (преимущественно в верхнем слое) происходит фотоэффект - электроны отрываются от атомов и на их месте остаются дырки (рис. 7, Б). Электроны в этом слое - основные носители зарядов и через запирающий слой проходить не могут. Дырки - неосновные носители зарядов и под действием КРП проходят через запирающий слой в нижнюю часть селена. Аналогично из нижнего слоя селена в верхний слой проходят только электроны. Таким образом, положительные и отрицательные заряды, освободившиеся под действием света, разделяются по обе стороны от запирающего слоя и образуют разность потенциалов, или э.д.с. фотоэлемента. Количество электронов и дырок, освобождающихся в единицу времени, а соответственно, и разность потенциалов между электродами прямо пропорциональна световому потоку, падающему на фотоэлемент. Это свойство, поскольку чувствительность спектральная селенового фотоэлемента близка к спектральной чувствительности газа, позволяет применять селеновый фотоэлемент в различных приборах для световых измерений, в частности в люксметрах, в эксионометрах и так далее.

Другие вентильные фотоэлементы (сернистоталлиевый, германиевый и другие) чувствительны к ИК излучению, их применяют для обнаружения нагретых невидимых тел, то есть, расширяют возможность зрения человека. На основе высокоэффективных вентильных фотоэлементов с к.п.д. = 15% для солнечного излучения, создают специальные солнечные батареи для питания бортовой аппаратуры спутников и космических кораблей.

 

5 минут

Заключение

Рассмотрели законы теплового излучения. Тепловое излучение тела человека. Роль теплового излучения в процессах теплообмена организма и окружающей среды. Термография и тепловидение.

Фотоэффект. Фотоэлектрические устройства в медицине и биологии. Излучение и поглощение энергии атомами. Структура энергетических уровней атомов. Оптические спектры атома водорода и спектры сложных атомов.

<== предыдущая лекция | следующая лекция ==>
Фотоэффект. Фотоэлектрические устройства в медицине и биологии | Международное сотрудничество в области охраны природы и функции международного права окружающей среды
Поделиться с друзьями:


Дата добавления: 2014-01-14; Просмотров: 1249; Нарушение авторских прав?; Мы поможем в написании вашей работы!


Нам важно ваше мнение! Был ли полезен опубликованный материал? Да | Нет



studopedia.su - Студопедия (2013 - 2025) год. Все материалы представленные на сайте исключительно с целью ознакомления читателями и не преследуют коммерческих целей или нарушение авторских прав! Последнее добавление




Генерация страницы за: 0.01 сек.