Студопедия

КАТЕГОРИИ:


Архитектура-(3434)Астрономия-(809)Биология-(7483)Биотехнологии-(1457)Военное дело-(14632)Высокие технологии-(1363)География-(913)Геология-(1438)Государство-(451)Демография-(1065)Дом-(47672)Журналистика и СМИ-(912)Изобретательство-(14524)Иностранные языки-(4268)Информатика-(17799)Искусство-(1338)История-(13644)Компьютеры-(11121)Косметика-(55)Кулинария-(373)Культура-(8427)Лингвистика-(374)Литература-(1642)Маркетинг-(23702)Математика-(16968)Машиностроение-(1700)Медицина-(12668)Менеджмент-(24684)Механика-(15423)Науковедение-(506)Образование-(11852)Охрана труда-(3308)Педагогика-(5571)Полиграфия-(1312)Политика-(7869)Право-(5454)Приборостроение-(1369)Программирование-(2801)Производство-(97182)Промышленность-(8706)Психология-(18388)Религия-(3217)Связь-(10668)Сельское хозяйство-(299)Социология-(6455)Спорт-(42831)Строительство-(4793)Торговля-(5050)Транспорт-(2929)Туризм-(1568)Физика-(3942)Философия-(17015)Финансы-(26596)Химия-(22929)Экология-(12095)Экономика-(9961)Электроника-(8441)Электротехника-(4623)Энергетика-(12629)Юриспруденция-(1492)Ядерная техника-(1748)

Контрольная работа № 2. Контрольная работа № 2 расчетная и посвящена выбору методов сборки сварной металлоконструкции на основе ее размерного анализа




 

Контрольная работа № 2 расчетная и посвящена выбору методов сборки сварной металлоконструкции на основе ее размерного анализа.

Таблица 2

Варианты контрольной работы №1

№ варианта Тема реферата
  Сборочные элементы транспортных машин. Технологические и функциональные сборочные единицы. Понятие технологического узла.
  Технологичность конструкции транспортных машин и их составных частей. Способы оценки технологичности конструкции. Классификация и номенклатура показателей технологичности. Стандартизация составных частей машин.
  Теория базирования в машиностроении. Классификация баз. Погрешность базирования.
  Технологическая подготовка производства на предприятиях по производству транспортных машин.
  Технологический процесс и его структура. Классификация технологических процессов. Схемы разработки типовых и групповых техпроцессов.
  Общие схемы разработки технологических процессов. Техническое нормирование операций технологического процесса. Тарификация техпроцессов.
  Особенности технологических процессов при изготовлении деталей на оборудовании с ЧПУ, на полуавтоматах и автоматах.
  Экономическая оценка технологических разработок.
  Точность сборочных технологических процессов и методы сборки транспортных машин.
  Выбор методов получения заготовок и их влияние на надежность транспортных машин.
  Производство деталей вагонов и локомотивов методами литья.
  Производство деталей вагонов и локомотивов методами пластического деформирования. Операции ковки и горячей штамповки. Нагрев заготовок и нагревательные устройства.
  Технология производства осевых заготовок (черновых осей) вагонов и локомотивов.
Окончание табл. 2
№ варианта Тема реферата
  Технология производства колес вагонов и локомотивов.
  Технология изготовления упругих элементов (пружин и листовых рессор).
  Операции раскроя листового материала. Термическая резка толстолистового материала и изготовление плоских деталей сложной формы.
  Технологические требования к деталям, изготовляемым способами вырубки – пробивки, гибки, вытяжки, рельефной формовки.
  Технология обработки осей вагонов и локомотивов.
  Технология обработки колес и корпусов букс.
  Технология восстановления деталей подвижного состава.

Задание на контрольную работу № 2

 

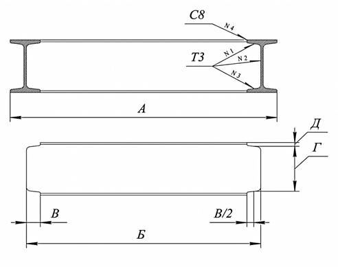
Выбрать методы сборки при образовании сварных соединений продольных и поперечных балок рамы (рис. 1 или 2) в соответствии с эскизом.

Рис. 1. Эскизы рамы и поперечной балки для вариантов 00-12

Рис. 2. Эскизы рамы и поперечной балки для вариантов 13-19

 

Общие исходные данные:

1. Для вариантов 00-12 – двутавр по ГОСТ 8239-89, для вариантов 13-19 – швеллер по ГОСТ 5267.1-78. Точность прокатки – обычная.

2. Сварка ручная дуговая по ГОСТ 5264-80.

3. Верхние полки профилей продольных и поперечных балок расположить в одной плоскости. Разность в уровне не более 2 мм.

4. Способ изготовления балки поперечной – кислородная резка по 1-му классу точности ГОСТ 14792-80.

Размеры рамы и ее деталей принимаются в соответствии с вариантом контрольной работы по данным табл. 3. Номер варианта принять по контрольной работе № 1.

 

Таблица 3

Варианты переменных исходных данных к контрольной работе № 2

№ варианта № профиля А Б В Г Д  
номин. ES EI  
        -8          
      +2 -6          
      +4 -4          
Окончание табл. 3
№ варианта № профиля А Б В Г Д
номин. ES EI
      +6 -2        
      +8          
        -10        
      +2 -8        
      +4 -6        
      +6 -6        
      +8 -2        
      +10          
      +5 -5        
      +3 -7        
  14В     -6        
  18В   +2 -4        
  20В   +3 -3        
  20-В2   +4 -4        
  26В   +2 -6        
  30-В1     -8        
  30-В2   +8          
                             

 




Поделиться с друзьями:


Дата добавления: 2014-11-07; Просмотров: 459; Нарушение авторских прав?; Мы поможем в написании вашей работы!


Нам важно ваше мнение! Был ли полезен опубликованный материал? Да | Нет



studopedia.su - Студопедия (2013 - 2026) год. Все материалы представленные на сайте исключительно с целью ознакомления читателями и не преследуют коммерческих целей или нарушение авторских прав! Последнее добавление




Генерация страницы за: 0.012 сек.