Студопедия

КАТЕГОРИИ:


Архитектура-(3434)Астрономия-(809)Биология-(7483)Биотехнологии-(1457)Военное дело-(14632)Высокие технологии-(1363)География-(913)Геология-(1438)Государство-(451)Демография-(1065)Дом-(47672)Журналистика и СМИ-(912)Изобретательство-(14524)Иностранные языки-(4268)Информатика-(17799)Искусство-(1338)История-(13644)Компьютеры-(11121)Косметика-(55)Кулинария-(373)Культура-(8427)Лингвистика-(374)Литература-(1642)Маркетинг-(23702)Математика-(16968)Машиностроение-(1700)Медицина-(12668)Менеджмент-(24684)Механика-(15423)Науковедение-(506)Образование-(11852)Охрана труда-(3308)Педагогика-(5571)Полиграфия-(1312)Политика-(7869)Право-(5454)Приборостроение-(1369)Программирование-(2801)Производство-(97182)Промышленность-(8706)Психология-(18388)Религия-(3217)Связь-(10668)Сельское хозяйство-(299)Социология-(6455)Спорт-(42831)Строительство-(4793)Торговля-(5050)Транспорт-(2929)Туризм-(1568)Физика-(3942)Философия-(17015)Финансы-(26596)Химия-(22929)Экология-(12095)Экономика-(9961)Электроника-(8441)Электротехника-(4623)Энергетика-(12629)Юриспруденция-(1492)Ядерная техника-(1748)

Sections




Except of views and sectional views, sections are often used on drawings. A section is the depiction in a figure, got at a mental section one or a few planes, on in case when on a drawing only that got in a cutting plane. A section differs from a sectional views that on its represent that directly gets in a cutting plane only. Sections enter in the complement of sectional drawing, but can exist and as independent depictions.

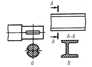
Sections, which are not in sectional views, divide into taken away (carried out separately from a basic image, fig.2.22, a) and imposed (placed on the image of object, fig.2.22, b).

a b

Figure 2.22 – Types of sections

It is necessary to give a preference sections taken away, which can be disposed in a sectional views between parts of the same depiction.

The contour of the taken away section is drawn continuous by mainlines, and imposed — continuous thin, thus the contour of basic depiction is not interrupted in the place of location of the imposed section.

Denotation of sections in general case likes denotation of sectional drawings, I.e. the position of a cutting plane is represented by lines sections, on which inflict pointers, givings direction of look and designated the identical uppercases of the Ukrainian alphabet. Inscription on a type «A — A» (fig. 2.23) execute above a section in this case.

Figure 2.23 – Denotation of sections

For the asymmetrical imposed sections or executed in the break of basic image, section with pointers a line is drawn, but it is not designated in a letter (fig. 2.24). Imposed symmetric section andsymmetric section, executed in the break of basic image design without causing the line of section (fig.2.25).

Figure 2.24 – Denotation of sections

Figure 2.25 – Denotation of sections

 

If a cutting plane passes through the ax of surface of rotation, limiting opening or deepening, the contour of opening or deepening is drawn fully.

If a cutting plane passes through the through unround opening and section turns out consisting of separate independent parts, it is necessary to use sectional drawings, but not sections.




Поделиться с друзьями:


Дата добавления: 2014-10-15; Просмотров: 364; Нарушение авторских прав?; Мы поможем в написании вашей работы!


Нам важно ваше мнение! Был ли полезен опубликованный материал? Да | Нет



studopedia.su - Студопедия (2013 - 2025) год. Все материалы представленные на сайте исключительно с целью ознакомления читателями и не преследуют коммерческих целей или нарушение авторских прав! Последнее добавление




Генерация страницы за: 0.006 сек.