Студопедия

КАТЕГОРИИ:


Архитектура-(3434)Астрономия-(809)Биология-(7483)Биотехнологии-(1457)Военное дело-(14632)Высокие технологии-(1363)География-(913)Геология-(1438)Государство-(451)Демография-(1065)Дом-(47672)Журналистика и СМИ-(912)Изобретательство-(14524)Иностранные языки-(4268)Информатика-(17799)Искусство-(1338)История-(13644)Компьютеры-(11121)Косметика-(55)Кулинария-(373)Культура-(8427)Лингвистика-(374)Литература-(1642)Маркетинг-(23702)Математика-(16968)Машиностроение-(1700)Медицина-(12668)Менеджмент-(24684)Механика-(15423)Науковедение-(506)Образование-(11852)Охрана труда-(3308)Педагогика-(5571)Полиграфия-(1312)Политика-(7869)Право-(5454)Приборостроение-(1369)Программирование-(2801)Производство-(97182)Промышленность-(8706)Психология-(18388)Религия-(3217)Связь-(10668)Сельское хозяйство-(299)Социология-(6455)Спорт-(42831)Строительство-(4793)Торговля-(5050)Транспорт-(2929)Туризм-(1568)Физика-(3942)Философия-(17015)Финансы-(26596)Химия-(22929)Экология-(12095)Экономика-(9961)Электроника-(8441)Электротехника-(4623)Энергетика-(12629)Юриспруденция-(1492)Ядерная техника-(1748)

Електромеханічні вимірювальні прилади




Склад аналогового електромеханічного приладу: первинний ВП, вимірювальний механізм і показувальний пристрій. Вимірювальний механізм складається з нерухомої і рухомої частин і перетворює електричну енергію в переміщення рухомої частини та жорстко зв’язаного з нею вказівника показувального пристрою.

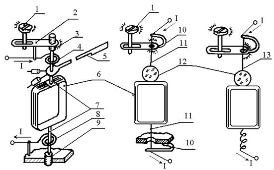
Рухому частину вимірювального механізму (котушку, алюмінієвий диск та ін.) розміщують в електромагнітному полі нерухомої частини і закріплюють на осі, розтяжках або підвісі. На рис. 6.7,а показана рухома частина на півосях. До котушки 6, зробленої з тонкого мідного ізольованого дроту, прикріплюються 2 півосі 7. До півосей прикріплюються пружини (пружні елементи) 4, 8 та стрілка 5. Кінці півосей закінчуються кернами 3, 9 і розташовуються на опорах - підп’ятниках. Для опор застосовують твердий камінь (агат, корунд, рубін та ін.) діаметром 2...3 мм, який завальцьовують у латунний гвинт. Для приладів підвищеної чутливості рухому частину установлюють на розтяжках 11 (рис. 6.7,б). Це тонкі стрічки з бронзи, що закріплені на пружинах 10 і утворюють вісь обертання рухомої частини. В особливо чутливих механізмах рухома частина підвішується на бронзовій нитці 13 - підвісі (рис. 6.7,в). Коректор 1 і коригувальний гвинт 2 призначені для встановлення вказівника на нульову позначку.

Рухома частина вимірювального механізму обертається під дією обертального моменту, створеного механічними силами взаємодії магнітних або електричних полів рухомої і нерухомої частин механізму. Загальним виразом для обертального моменту будь-якого вимірювального механізму є рівняння Лагранжа другого роду:

, (6.3)

де - енергія електромагнітного, електричного або магнітного поля, яка зосереджена у вимірювальному механізмі;

- кут повороту рухомої частини механізму.

 

 

а) б) в)

 

Рис. 6.7. Рухомі частини магнітоелектричного приладу:

а ‑ на півосях; б ‑ на розтяжках; в ‑ на підвісі

 

У загальному випадку обертальний момент є також функцією кута повороту рухомої частини :

. (6.4)

Під дією обертального моменту рухома частина повертається, доки не буде зрівноважений протидійним моментом , що створюється пружними елементами (пружинами 4 і 8, розтяжками 11, підвісом 13). Він за напрямом є протилежним обертальному моменту, не залежить від вимірюваної величини і є пропорційним куту закручування пружного елемента

, (6.5)

де W - питомий протидійний момент, який залежить від властивостей матеріалу пружного елемента.

З рівняння витікає функція перетворення вимірювального механізму (залежність кута повороту рухомої частини від значення вимірюваної величини)

. (6.6)

При зміні вимірюваної величини X рухома частина переходить у нове положення рівноваги після кількох коливань навколо нього. Для зменшення часу заспокоєння рухомої частини застосовують заспокоювачі. На рис 6.8 показано будову повітряного, магнітоіндукційного та рідинного заспокоювачів.

 

а) б) в)

 

Рис. 6.8. Заспокоювачі: а ‑ повітряний; б ‑ магнітоіндукційний; в ‑ рідинний

 

Крило 2 повітряного заспокоювача (рис. 6.8,а) закріплюється на осі 3 рухомої частини. Під час руху в закритій камері 1 крило переборює зустрічний потік повітря і по обидва боки крила створюється різниця тиску повітря, що приводить до гальмування крила. Магнітоіндукційний заспокоювач (рис. 6.8,б) - це постійний магніт 1, у зазорі якого може переміщуватися алюмінієвий сектор 3, закріплений на осі 2. При коливаннях рухомої частини в секторі індукується струм, який, взаємодіючи з магнітним полем постійного магніту, створює гальмівний момент. Рідинний заспокоювач (рис. 6.8,в) складається з двох дисків. Диск 1 закріплюється на рухомій частині приладу, а диск 2 - на його нерухомій частині. Зазор між дисками складає 0,1...0,15 мм. Між дисками заливається спеціальна маловисихаюча кремнієорганічна рідина 3, яка в зазорі утримується поверхневим натягом. Момент, створений заспокоювачем, описується виразом

, (6.7)

де P- коефіцієнт заспокоєння, da/dt- швидкості переміщення рухомої частини..

Для одержання числового значення ВВ вимірювальний механізм забезпечується показувальним пристроєм, який складається зі шкали та вказівника: стрілкового або світлового, якій використовують гальванометрах і у приладах високих класів точності.

 




Поделиться с друзьями:


Дата добавления: 2014-10-15; Просмотров: 2924; Нарушение авторских прав?; Мы поможем в написании вашей работы!


Нам важно ваше мнение! Был ли полезен опубликованный материал? Да | Нет



studopedia.su - Студопедия (2013 - 2025) год. Все материалы представленные на сайте исключительно с целью ознакомления читателями и не преследуют коммерческих целей или нарушение авторских прав! Последнее добавление




Генерация страницы за: 0.01 сек.