Студопедия

КАТЕГОРИИ:


Архитектура-(3434)Астрономия-(809)Биология-(7483)Биотехнологии-(1457)Военное дело-(14632)Высокие технологии-(1363)География-(913)Геология-(1438)Государство-(451)Демография-(1065)Дом-(47672)Журналистика и СМИ-(912)Изобретательство-(14524)Иностранные языки-(4268)Информатика-(17799)Искусство-(1338)История-(13644)Компьютеры-(11121)Косметика-(55)Кулинария-(373)Культура-(8427)Лингвистика-(374)Литература-(1642)Маркетинг-(23702)Математика-(16968)Машиностроение-(1700)Медицина-(12668)Менеджмент-(24684)Механика-(15423)Науковедение-(506)Образование-(11852)Охрана труда-(3308)Педагогика-(5571)Полиграфия-(1312)Политика-(7869)Право-(5454)Приборостроение-(1369)Программирование-(2801)Производство-(97182)Промышленность-(8706)Психология-(18388)Религия-(3217)Связь-(10668)Сельское хозяйство-(299)Социология-(6455)Спорт-(42831)Строительство-(4793)Торговля-(5050)Транспорт-(2929)Туризм-(1568)Физика-(3942)Философия-(17015)Финансы-(26596)Химия-(22929)Экология-(12095)Экономика-(9961)Электроника-(8441)Электротехника-(4623)Энергетика-(12629)Юриспруденция-(1492)Ядерная техника-(1748)

Конструктивно- силовые схемы крыльев




Форма крыла (вид спереди).

 

Форма крыла при виде спереди характеризуется поперечным V крыла и определяется углом Ψ (3.1 м), т.е. углом между плоскостью хорд и горизонтальной плоскостью, перпендикулярной плоскости самолета.

Угол Ψ может быть как положительным, так и отрицательным, и изменяться в пределах -7<= Ψ<=+7.

Поперечное V крыла выбирается из необходимого соотношения между степенью поперечной и степенью путевой устойчивости.

Положительные углы Ψ увеличивают поперечную устойчивость, отрицательные уменьшают.

 

 

Крылья современных самолетов представляют собой тонкостенную балку, состоящую из обшивки и каркаса.

В свою очередь, каркас образуется из продольных элементов- лонжеронов, стенок, стрингеров и поперечного набора - нервюр.

Местная воздушная нагрузка крыла в виде сил давления и разряжения действуют на обшивку, отрывая или прижимая ее к каркасу.

Эта нагрузка передается с обшивки на стрингеры и нервюры и далее на лонжероны и узлы крепления крыла к фюзеляжу. При этом крыло нагружается изгибающимися моментами в вертикальной Мв и горизонтальной Мг плоскостях, поперечными силами Рв и Рг и крутящим моментом Мкр (4.2. а).

Исходя из восприятия и передачи нагрузок можно определить назначение элементов крыла.

Лонжерон (4.2. а) является основной силовой частью конструкции, воспринимающий изгибающий момент крыла. Представляет собой двухпоясную балку, состоящую из поясов и стенки пояса лонжеронов (4.2.в)

воспринимают продольные силы от изгибающего момента Мв, а стенки лонжерона- поперечную силу Рв.

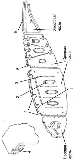
Стрингеры- продольные элементы, воспринимающие изгибающий момент вместе с поясами и обшивкой. Кроме того, они подкрепляют обшивку и передают с нее воздушную нагрузку на нервюры. Стрингеры представляют собой прессованные или гнутые профили различных сечений (рис 4.2.б) Нервюры являются элементами поперечного набора крыла. Они предают крылу заданный профиль, подкрепляют обшивку и передают местные нагрузки на лонжероны. Обычно они разрезаются в месте установки лонжеронов и состоят из нескольких частей: носика, средней части и хвостика (рис 4.3.).

Нервюра состоит из стенки и поясов, соединенных между собой заклепками. Стенки и пояса штампуются из листов. Для облегчения конструкции стенки имеют отбортованные отверстия. В местах приложения сосредоточенных сил устанавливаются силовые нервюры Обшивка придает крылу гладкую обтекаемую форму и воспринимает воздушную нагрузку. Изготавливается из металлических листов. Обшивка может быть выполнена за одно целое со стрингерами. Такая обшивка называется монолитными панелями. В последнее время в конструкции самолетов получила широкое применение трехслойная обшивка, состоящая из тонких листов, соединенных между собой сотовым заполнителем.

 

 

3.2. Конструктивно-силовая схема крыла

 

 

Рис. 3.3. Конструкция нервюр

1- вырезы для стрингеров; 2 – отверстия облегчения; 3 – зиговки;

4 – анкерные гайки; 5 – подсечки; 6 - пояса

В зависимости от степени участия элементов крыла в восприятии изгибающего момента различают следующие конструктивно- силовые схемы:

· лонжеронные,

· кессонные,

· и моноблочные.

К лонжеронным относятся крылья, у которых изгибающий момент воспринимается лонжеронами. Крыло характеризуется тонкой обшивкой, небольшим количеством слабых стрингеров, мощными лонжеронами с развитыми поясами.

Лонжеронные крылья могут быть одно-, двух- и многолонжеронными.

Лонжероны устанавливаются в месте максимальной высоты профиля.

В однолонжеронном крыле лонжерон располагается на расстоянии 25%-30% хорды,

у двухлонжеронных крыльев:

передний лонжерон располагается на расстоянии 18%-20 % хорды, а задний лонжерон - 65%-70 % хорды.

Стыковка крыла с фюзеляжем осуществляется моментными или шарнирными узлами, установленными на лонжеронах.

Кессонные крылья внешне не отличаются от лонжеронных и имеют те же элементы крыла.

Различия заключаются в том, что в кессонном крыле обшивка участвует в восприятии изгибающего момента. Она выполняется сравнительно толстой и подкреплена большим количеством стрингеров. Пояса лонжеронов кессонного крыла по площади сечения соизмеримы со стрингерами. Лонжероны в таком крыле потеряли свою самостоятельность и превратились в продольные стенки, воспринимающие, в основном, поперечную силу.

Кессонное крыло обладает большим весом в сравнении с лонжеронным и повышенной “живучестью”, поскольку при разрушении лонжерона или стрингера происходит небольшая потеря прочности и крыло продолжает работать.

В моноблочных крыльях большая часть изгибающего момента воспринимается растяжением- сжатием обшивки и стрингеров и лишь незначительная часть – лонжеронами.

Моноблочные крылья характеризуются толстой обшивкой, развитыми стрингерами и сравнительно слабыми поясными лонжеронами.

Моноблочные крылья обладают повышенной жесткостью и “живучестью”.

Стыковка крыла с фюзеляжем осуществляется с помощью специальных фитингов. Благодаря жесткой обшивке моноблочное крыло имеет гладкую поверхность.

 




Поделиться с друзьями:


Дата добавления: 2014-10-15; Просмотров: 2521; Нарушение авторских прав?; Мы поможем в написании вашей работы!


Нам важно ваше мнение! Был ли полезен опубликованный материал? Да | Нет



studopedia.su - Студопедия (2013 - 2025) год. Все материалы представленные на сайте исключительно с целью ознакомления читателями и не преследуют коммерческих целей или нарушение авторских прав! Последнее добавление




Генерация страницы за: 0.012 сек.