Студопедия

КАТЕГОРИИ:


Архитектура-(3434)Астрономия-(809)Биология-(7483)Биотехнологии-(1457)Военное дело-(14632)Высокие технологии-(1363)География-(913)Геология-(1438)Государство-(451)Демография-(1065)Дом-(47672)Журналистика и СМИ-(912)Изобретательство-(14524)Иностранные языки-(4268)Информатика-(17799)Искусство-(1338)История-(13644)Компьютеры-(11121)Косметика-(55)Кулинария-(373)Культура-(8427)Лингвистика-(374)Литература-(1642)Маркетинг-(23702)Математика-(16968)Машиностроение-(1700)Медицина-(12668)Менеджмент-(24684)Механика-(15423)Науковедение-(506)Образование-(11852)Охрана труда-(3308)Педагогика-(5571)Полиграфия-(1312)Политика-(7869)Право-(5454)Приборостроение-(1369)Программирование-(2801)Производство-(97182)Промышленность-(8706)Психология-(18388)Религия-(3217)Связь-(10668)Сельское хозяйство-(299)Социология-(6455)Спорт-(42831)Строительство-(4793)Торговля-(5050)Транспорт-(2929)Туризм-(1568)Физика-(3942)Философия-(17015)Финансы-(26596)Химия-(22929)Экология-(12095)Экономика-(9961)Электроника-(8441)Электротехника-(4623)Энергетика-(12629)Юриспруденция-(1492)Ядерная техника-(1748)

Приборы индукционной системы




Конструкция и принцип действия. Принцип действия индукци­онных приборов основан на взаимодействии двух или нескольких переменных магнитных потоков с токами, индуцированными в подвижном проводнике (например, диске). Типичным представите­лем этой системы является классический индукционный счетчик – измеритель активной энергии.

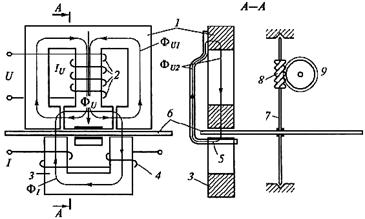
Рассмотрим устройство и принцип действия индукционного од­нофазного счетчика активной энергии. На рис. 25 показана упро­щенная конструкция такого прибора. Основными элементами при­бора являются два магнитопровода со своими обмотками (напря­жения и токовой), вращающийся диск и счетный механизм. Как и ваттметр, счетчик содержит обмотки тока и напряжения. Включает­ся счетчик в цепь так же, как и ваттметр.

Схема (рис. 26) и векторная диаграмма (рис.27) поясняют принцип действия этого прибора.

Рассмотрим работу счетчика на примере входных сигналов на­пряжения и тока синусоидальной формы с действующими значе­ниями, равными, соответственно, U и I. Входное напряжение U, приложенное к обмотке напряжения 2, создает в ней ток IU,име­ющий по отношению к напряжению U сдвиг по фазе, близкий к 90° (из-за большого индуктивного сопротивления этой обмотки). Ток IU рождает магнитный поток ФU всреднем сердечнике магни­топровода обмотки напряжения 1.

Рис..25. Упрощенная конструкция индукционного однофазного счетчика

 

Этот поток ФU делится на два потока: нерабочий поток ФU 1,который замыкается внутри магни­топровода 7; и основной поток ФU 2, пересекающий диск 6, закреп­ленный на оси 7 и вращающийся вместе с нею. Этот основной поток замыкается через противополюс 5. Входной ток I, текущий в обмот­ке тока 4, создает в магнитопроводе 3 магнитный поток ФI, который дваж­ды пересекает диск 6. Поток ФI от­стает от тока I на небольшой угол потерь α I, (поскольку сопротивление токовой обмотки мало).

Таким образом, диск пересека­ют два магнитных потока ФU 2и ФI, не совпадающих в пространстве и имеющих фазовый сдвиг ψ. При этом в диске возникает вращающий момент М:

M = cf ФU 2 ФI sin ψ,

где с – некая константа; f – частота напряжения.

При работе на линейном участке кривой намагничивания мате­риалов магнитопроводов можно считать, что

ФI = k 1 I; ФU 2 = k 2 IU =k 2 U / ZU,

где k 1и k 2– коэффициенты пропорциональности; ZU – полное комплексное сопротивление обмотки напряжения.

Учитывая, что реактивная (индуктивная) составляющая сопро­тивления обмотки напряжения ZU гораздо больше активной, мож­но записать

ZUf LU,

где LU – индуктивность обмотки напряжения.

Тогда

ФU 2 = k 2 U /(2π fLU) = k 3 U / f,

где k 3= k 2 /(2π LU).

 

Рис. 26. Схема, поясняющая принцип действия счетчика:

1 – магнитопровод обмотки напряжения; 2 – обмотка напряжения; 3 – магнитопровод обмотки тока; 4 – обмотка тока; 5 – противополюс; 6 – диск; 7 – ось; 8 – червячная передача; 9 – счетный механизм

 

 

 

 

Рис. 27. Векторная диаграмма

Следовательно, вращающий момент М в данной электромаг­нитной механической системе можно определить следующим об­разом:

М = kUI sinψ,

где k – общий коэффициент пропорциональности.

Для того чтобы вращающий момент был пропорционален теку­щей активной мощности, необходимо выполнение условия

sinψ = cos φ.

А это в свою очередь будет выполняться, если ψ + φ = 90°. Это равенство может быть обеспечено изменением (регулировкой) угла потерь α I. Изменение этого угла реализуется двухступенчато: гру­бо – изменением числа короткозамкнутых витков, надетых на магнитопровод 3, а плавно – изменением сопротивления вспомога­тельной цепи (эти элементы конструкции на рис. 25 и 26 не показаны).

Таким образом обеспечивается пропорциональность вращаю­щего момента М текущему значению активной мощности. Для по­лучения результата определения потребленной активной энергии достаточно проинтегрировать значения текущей мощности. Это ин­тегрирование реализовано счетным механизмом 9, связанным с осью 7 червячной передачей 8.

Постоянный магнит служит для создания тормозного момента и обеспечения угловой скорости вращения, пропорциональной те­кущему значению активной мощности. Кроме того, в реальной конструкции есть элементы, обеспечивающие дополнительный момент, компенсирующий момент трения, а также элементы уст­ранения «самохода» (на рис. 25 и 26 не приведены).

Включение счетчика. На рис. 28 приведена схема включения однофазного счетчика активной энергии.

 

Рис. 28. Схема включения однофазного счетчика активной энергии

При необходимости работы в цепях с напряжениями и/или токами, большими, чем номинальные для конкретного счетчика, используются измерительные трансформаторы напряжения и/или тока. Схема подключения такая же, как и в подобном случае с ваттметроми.

Для измерения реактивной энергии также используются ин­дукционные счетчики. Их принцип действия аналогичен рассмот­ренному. Некоторые различия в конструкции, организации подключения и, как следствие в векторных диаграммах, позволяют получить скорость вращения диска, пропорциональную значению текущей реактивной мощности.

Обозначение индукционной системы на шкалах приборов:

Трехфазные счетчики. Для учета суммарной активной и реактивной энергии в трехфазных цепях исполь­зуются двухэлементные и трехэлемен­тные счетчики. В таких счетчиках при­меняются те же конструктивные эле­менты (два или три механизма), что и в однофазных приборах. Диски (два или три) закреплены на общей оси. Вращающие моменты дисков склады­ваются, и скорость вращения оси за­висит от суммарной текущей потреб­ляемой мощности. На рис. 29 упро­щенно показано устройство двухэле­ментного трехфазного счетчика.

 

Рис. 29. Двухэлементный трех­фазный счетчик

 

Скорость вращения в данном случае определяется суммой моментов М 1и М 2. Включаются трехфазные счетчики так же, как и трехфаз­ные ваттметры.

Сегодня в задачах измерения активной энергии все шире при­меняются цифровые (микропроцессорные) счетчики энергии. В за­дачах технических экспресс-измерений для оценки потребленной энергии в кратковременных экспериментах используют автоном­ные малогабаритные цифровые измерительные регистраторы (анализаторы), которые имеют режим вычисления активной и реак­тивной энергии или позволяют найти эти величины с помощью компьютера и специализированного программного обеспечения.




Поделиться с друзьями:


Дата добавления: 2014-10-15; Просмотров: 1686; Нарушение авторских прав?; Мы поможем в написании вашей работы!


Нам важно ваше мнение! Был ли полезен опубликованный материал? Да | Нет



studopedia.su - Студопедия (2013 - 2026) год. Все материалы представленные на сайте исключительно с целью ознакомления читателями и не преследуют коммерческих целей или нарушение авторских прав! Последнее добавление




Генерация страницы за: 0.012 сек.