Студопедия

КАТЕГОРИИ:


Архитектура-(3434)Астрономия-(809)Биология-(7483)Биотехнологии-(1457)Военное дело-(14632)Высокие технологии-(1363)География-(913)Геология-(1438)Государство-(451)Демография-(1065)Дом-(47672)Журналистика и СМИ-(912)Изобретательство-(14524)Иностранные языки-(4268)Информатика-(17799)Искусство-(1338)История-(13644)Компьютеры-(11121)Косметика-(55)Кулинария-(373)Культура-(8427)Лингвистика-(374)Литература-(1642)Маркетинг-(23702)Математика-(16968)Машиностроение-(1700)Медицина-(12668)Менеджмент-(24684)Механика-(15423)Науковедение-(506)Образование-(11852)Охрана труда-(3308)Педагогика-(5571)Полиграфия-(1312)Политика-(7869)Право-(5454)Приборостроение-(1369)Программирование-(2801)Производство-(97182)Промышленность-(8706)Психология-(18388)Религия-(3217)Связь-(10668)Сельское хозяйство-(299)Социология-(6455)Спорт-(42831)Строительство-(4793)Торговля-(5050)Транспорт-(2929)Туризм-(1568)Физика-(3942)Философия-(17015)Финансы-(26596)Химия-(22929)Экология-(12095)Экономика-(9961)Электроника-(8441)Электротехника-(4623)Энергетика-(12629)Юриспруденция-(1492)Ядерная техника-(1748)

Аналого-цифровые преобразователи




Аналого-цифровые преобразователи (АЦП, ADC- Analog to Digital Convertor) - это устройства, предназна­ченные для преобразования аналоговых сигналов в циф­ровые.

Цифровой сигнал на выходе АЦП состоит из опреде­ленного количества бит, которые соответствуют величине входного аналогового сигнала.

Цифровые сигналы, имеющие всего два значения «0» и «1», гораздо лучше защищены от воздействия различных шумов, помех и наводок, чем аналоговые сигналы. Не­большие воздействия различных шумов и помех обычно не искажают цифровой сигнал, так как величины логичес­кого «0» и «1» существенно отличаются друг от друга. Так, для ТТЛ-схем напряжение от 0 до 0,8 В соответствует ло­гическому «0», а напряжение от 2 до 5 В - логической «1». Все значения напряжения, попадающие в эти диапазоны, будут расцениваться как «0» или «1» соответственно, не­зависимо от их конкретных значений.

Аналого-цифровое преобразование используется в раз­личных измерительных системах, в устройствах генерации и обработки сигналов, в компьютерных системах для хра­нения и обработки цифровых сигналов в соответствии с определенной программой и т. д.

Процесс аналого-цифрового преобразования обычно более сложный, чем цифроаналоговое преобразование, и занимает больше времени.

Для преобразования аналогового сигнала в цифровой необходимо осуществить 3 операции: дискретизацию, квантование и кодирование.

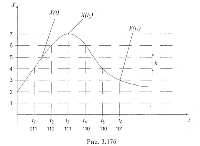
Дискретизация представляет собой преобразование непрерывного (аналогового) сигнала х(t) в последователь­ность отдельных его значений x(ti), соответствующих не­которым фиксированным моментам времени ti.

Дискретизация аналогового сигнала может осуществ­ляться с постоянным периодом дискретизации (равномер­ная дискретизация) или с переменным периодом дискре­тизации (адаптивная дискретизация). В подавляющем большинстве случаев используется равномерная дискрети­зация. Дискретизацию следует осуществлять с таким пе­риодом, чтобы затем по полученной последовательности сигналов можно было бы восстановить сигнал в аналого­вой форме с требуемой точностью. Для этого частота дис­кретизации должна по меньшей мере в два раза превышать максимальную частоту в спектре преобразуемого аналого­вого сигнала x(t). Дискретизация осуществляется не мгно­венно, а в течение конечного промежутка времени, что в итоге приводит к появлению так называемой апертурной погрешности.

После дискретизации аналогового сигнала осуществля­ют его квантование и кодирование. При этом каждому значению дискретизированного аналогового сигнала ста­вится в соответствие определенный уровень квантования. Уровни квантования образуются путем разбиения всего диапазона изменения аналогового сигнала на ряд участков, каждому из которых присваивается определенный номер (рис. 26). Эти номера кодируются заранее выбранным кодом. Расстояние между двумя соседними уровнями кван­тования называется шагом квантования h (рис. 26). Если шаг квантования постоянен, то квантование является линейным, при изменении шага квантования осуществляет­ся нелинейное квантование.

Характеристика идеального квантования имеет вид, приведенный на рис. 27.

Квантование представляет собой округление аналого­вой величины до ближайшего уровня квантования, т. е. максимальная погрешность квантования равна ±0,5 h (h - шаг квантования).

Рисунок 26

Поскольку число уровней квантования конечно, а ана­логовый сигнал может принимать любое значение в диа­пазоне своего изменения, то очевидно, что процесс кван­тования приводит к ошибке, называемой погрешностью квантования. Для уменьшения погрешности квантования необходимо увеличивать число уровней квантования, т. е. число разрядов кода, которым обозначаются уровни кван­тования.

 


Рисунок 27

Увеличение разрядности кода на единицу вдвое увели­чивает число уровней квантования, т. е. вдвое снижает погрешность квантования.

К основным характеристикам АЦП относят число раз­рядов, время преобразования, максимальную частоту дис­кретизации, нелинейность и др.

Число разрядов - количество разрядов кода, связанного с аналоговой величиной, которое может вырабатывать АЦП. Часто говорят о разрешающей способности АЦП, которую определяют величиной, обратной максимальному числу кодовых комбинаций на выходе АЦП. Так, 10-разрядный АЦП имеет разрешающую способность (210 = 1024)-1, т. е. при шкале АЦП, соответствующей 10 В, абсолютное зна­чение шага квантования не превышает 10 мВ.

Время преобразования t пр - интервал времени от мо­мента заданного изменения сигнала на входе АЦП до по­явления на его выходе соответствующего устойчивого кода.

Максимальная частота дискретизации — частота пре­образования входного сигнала, при котором погрешность не выходит за заданные пределы. Этот параметр опреде­ляет быстродействие АЦП.

Все существующие АЦП можно классифицировать:

1) по признаку измеряемого напряжения;

2) по способу осуществления операций дискретизации, квантования и кодирования.

АЦП первой группы подразделяются на АЦП мгновен­ных значений напряжения и АЦП средних значений на­пряжения (интегрирующие АЦП).

АЦП второй группы подразделяются на параллельные, последовательные и последовательно-параллельные АЦП.

Рассмотрим АЦП с параллельным преобразованием вход­ного аналогового сигнала. По параллельному методу вход­ное напряжение одновременно сравнивают с п опорными напряжениями и определяют, между какими двумя опорны­ми напряжениями оно лежит. При этом результат получают быстро, но схема оказывается достаточно сложной.

Рассмотрим принцип действия такого АЦП (рис. 28). При Uex = 0, поскольку для всех ОУ разность напряжений (U+-U-) < 0 (U+, U- - напряжения относительно общей точки соответственно неинвертирующего и инвертирую­щего входа), напряжения на выходе всех ОУ равны — Епит,

Рисунок 28

а на выходах кодирующего преобразователя (КП) Z0, Z1, Z2 устанавливаются нули. Если Uвx >0,5U, но меньше 3/2 U, лишь для нижнего ОУ U+-U- > 0 и лишь на его выходе появляется напряжение +Епит, что приводит к по­явлению на выходах КП следующих сигналов: Z0 = 1, Z2 = Z1 = 0. Если Uвx > 3/2 U, но меньше 5/2U, то на выхо­де двух нижних ОУ появляется напряжение +Епит, что приводит к появлению на выходах КП кода 010, и т. д.

Такие АЦП являются АЦП мгновенных значений на­пряжения и входной сигнал за время преобразования су­щественно не изменяется. Для синхронизации момен­тов формирования выходного кода компараторы обычно делают стробируемыми. Параллельные АЦП являются са­мыми быстродействующими и способны работать на час­тотах дискретизации до 20. МГц и выше. Однако с увели­чением числа разрядов уровней квантования на единицу удваивается число компараторов и схема получается гро­моздкой. Тем не менее такие преобразователи широко используются при построении последовательно-парал­лельных АЦП. Структурная схема 8-разрядного двухкас-кадного последовательно-параллельного АЦП приведена на рис. 29.

Рисунок 29

Такой АЦП работает в три такта. В первом такте осу­ществляется грубое квантование входного сигнала и ре­зультат этого квантования поступает на выход в качестве старших разрядов 27...24. Во втором такте эти разряды с помощью ЦАП преобразуются в напряжение, которое сравнивается со входным, и разность от этого сравнения поступает на вход второго четырехразрядного АЦП2. В тре­тьем такте осуществляется преобразование этой разности в четыре младших разряда выходного кода. Очевидно, что быстродействие такого компаратора в три раза меньше, чем аналогичного параллельного, однако для его постро­ения требуется и меньшее (в несколько раз) число компа­раторов. Например, 8-битовый АЦП параллельного типа должен иметь 28 = 256 уровня напряжения, включая ну­левой уровень. Для этого требуется 28 - 1 = 255 компара­тора (для формирования нулевого уровня отдельный ком­паратор не требуется). Для построения двухкаскадного последовательно-параллельного АЦП требуется всего 2 · (24 - 1) = 30 компараторов, т. е. в 8 с лишним раз мень­ше. Количество каскадов в таких АЦП может быть увели­чено, поэтому их часто называет многокаскадными или конвейерными.

Перейдем к рассмотрению последовательных АЦП.

Рассмотрим конкретный вариант АЦП с последователь­ным преобразованием входного сигнала (последовательно­го счета), который называют АЦП со следящей связью (рис. 30). В АЦП рассматриваемого типа используются ЦАП и реверсивный счетчик, сигнал с которого обеспечивает изменение напряжения на входе ЦАП. Настройка схемы такова, что обеспечивается примерное равенство напря­жений на входе Uвx и на выходе ЦАП - U. Если входное напряжение Uвх больше напряжения Uна выходе ЦАП, то счетчик переводится в режим прямого счета и код на его выходе увеличивается, обеспечивая увеличение напряже­ния на выходе ЦАП. В момент равенства Uвх и U счет пре­кращается и с выхода реверсивного счетчика снимается код, соответствующий входному напряжению. Такой АЦП является интегрирующим, так как преобразует не мгно­венные значения входных напряжений, а их средние зна­чения за время преобразования.

Помимо рассмотренного, известны интегрирующие АЦП последовательного преобразования, в которых вмес­то реверсивного счетчика содержится обычный суммиру­ющий счетчик. Работа такого АЦП полностью аналогична рассмотренному АЦП, однако он является более медлен­нодействующим АЦП, так как с началом каждого последу­ющего преобразования необходимо обнулить счетчик.

 




Поделиться с друзьями:


Дата добавления: 2014-11-09; Просмотров: 2847; Нарушение авторских прав?; Мы поможем в написании вашей работы!


Нам важно ваше мнение! Был ли полезен опубликованный материал? Да | Нет



studopedia.su - Студопедия (2013 - 2025) год. Все материалы представленные на сайте исключительно с целью ознакомления читателями и не преследуют коммерческих целей или нарушение авторских прав! Последнее добавление




Генерация страницы за: 0.009 сек.