Студопедия

КАТЕГОРИИ:


Архитектура-(3434)Астрономия-(809)Биология-(7483)Биотехнологии-(1457)Военное дело-(14632)Высокие технологии-(1363)География-(913)Геология-(1438)Государство-(451)Демография-(1065)Дом-(47672)Журналистика и СМИ-(912)Изобретательство-(14524)Иностранные языки-(4268)Информатика-(17799)Искусство-(1338)История-(13644)Компьютеры-(11121)Косметика-(55)Кулинария-(373)Культура-(8427)Лингвистика-(374)Литература-(1642)Маркетинг-(23702)Математика-(16968)Машиностроение-(1700)Медицина-(12668)Менеджмент-(24684)Механика-(15423)Науковедение-(506)Образование-(11852)Охрана труда-(3308)Педагогика-(5571)Полиграфия-(1312)Политика-(7869)Право-(5454)Приборостроение-(1369)Программирование-(2801)Производство-(97182)Промышленность-(8706)Психология-(18388)Религия-(3217)Связь-(10668)Сельское хозяйство-(299)Социология-(6455)Спорт-(42831)Строительство-(4793)Торговля-(5050)Транспорт-(2929)Туризм-(1568)Физика-(3942)Философия-(17015)Финансы-(26596)Химия-(22929)Экология-(12095)Экономика-(9961)Электроника-(8441)Электротехника-(4623)Энергетика-(12629)Юриспруденция-(1492)Ядерная техника-(1748)

Требования ПУЭ к электробезопасности электроустановок напряжением до 1 кВ




Классификация причин и условий поражения человека электрическим током.

Анализ электробезопасности в электроустановках

Основным фактором, влияющим на исход поражения человека электрическим током, является величина тока, которая согласно закону Ома зависит от величины приложенного напряжения и сопротивления тела человека.

Электрический ток является источником повышенной опасности и, проходя через тело человека, оказывает тепловое (термическое) химическое (электролитическое), механическое (динамическое) и биологическое воздействие.

Допустимые уровни магнитного поля

 

Время пребывания, ч. Допустимые уровни МП Н(А/м)/В(мкТл) при воздействии
общем локальном
£ 1 1600/2000 6400/8000
  800/1000 3200/4000
  400/500 1600/2000
  80/100 800/1000

 

 

ВЫВОДЫ (к главе I):

2. Многообразие воздействий электрического тока на организм человека приводит к электротравмам и электрическим ударам, в результате которых человек может оказаться в состоянии клинической смерти – у него прекращается дыхание и кровообращение. При правильной медицинской помощи (искусственном дыхании и массаже сердца) можно добиться оживления пострадавшего.

3. Степень опасного и вредного воздействия на человека электрического тока зависит от:

- параметров электрического тока (величины напряжения, частоты и рода тока) протекающего через человека;

- пути тока через тело человека;

- продолжительности воздействия тока;

- условий внешней среды (важности, температуры и др.);

- состояния организма человека (состояния кожного покрова, состояния здоровья и возраста).

5. Степень отрицательного воздействия электрического тока на организм человека увеличивается с ростом величины тока. Пороговые значения ощутимого, неотпускающего и фибрилляционных токов промышленной частоты 50 Гц: 0,6-1,6 мА (ощутимый); 10-15 мА (неотпускающий); 80-100 мА (фибрилляционный).

 

 


Основными причинами возникновения условий поражения электрическим током являются:

ü случайное прикосновение или приближение на недопустимое расстояние к токоведущим частям электроустановки;

ü возникновение аварийных режимов в электроустановках,

ü невыполнение требований правил устройства электроустановок (ПУЭ), правил техники безопасности и технической эксплуатации электроустановок (ПТБ и ПТЭ).

Анализ опасности поражения человека в электроустановках сводится к определению значения тока в цепи тела человека. Однако, эта задача не легкая, поскольку человек может иметь контакт с различными элементами электроустановки, напряжение между которыми зависит от ее параметров, условий и режима работы.

Существует несколько условий поражения (схем включения) человека в электроустановках.

Основные из них:

- двухполюсное (двухфазное) прикосновение (одновременное прикосновение) к двум полюсам (фазам) электроустановки, находящейся под напряжением;

- однополюсное (однофазное) прикосновение, т.е. прикосновение человека, имеющего гальваническую связь с землей, к одному полюсу (фазе) электроустановки, находящейся под напряжением;

- прикосновение к нетоковедущим частям электроустановки, оказавшимся под напряжением в результате повреждения изоляции (прикосновение к аварийному корпусу);

- включение под напряжение шага, т.е. между двумя точками цепи тока, находящимися друг от друга на расстоянии шага, на которых одновременно стоит человек.

При рассмотрении условий возникновения электрической цепи через тело человека различают прямой контакт человека с токоведущими частями находящимися под напряжением и косвенный. Прямой контакт возникает, как правило, в результате нарушения требований Правил техники безопасности при эксплуатации электроустановок, а косвенный – при пробое изоляции на корпус электрооборудования.


Согласно ПУЭ:

Прямое прикосновение - электрический контакт людей с токоведущими частями, находящимися под напряжением.

Косвенное прикосновение – электрический контакт людей с открытыми проводящими частями, оказавшимися под напряжением при повреждении изоляции.

Токоведущая часть – проводящая часть, электроустановки, находящаяся в процессе ее работы под рабочим напряжением (в том числе нулевой рабочий проводник).

Проводящая часть часть, которая может проводить электрический ток.

При оценке условий электробезопасности в какой-то конкретной электроустановке необходимо провести анализ возникновения электрической цепи через тело человека, сравнение его с допустимыми нормами значением и принятие заключения о необходимости выполнения мероприятий по обеспечению электробезопасности.

Все случаи поражения человека электрическим током являются результатом прикосновения его не менее чем к 2-м точкам электрической цепи, между которыми существует некоторое напряжение.

Напряжение прикосновения и, следовательно, ток через тело человека зависят от ряда факторов: схемы включения человека в электрическую цепь; напряжения сети; режима нейтрали сети; степени изоляции токоведущих частей от земли; ёмкости токоведущих частей относительно земли и т.п.

В дальнейших рассуждениях будем считать, что сопротивление основания , на котором стоит человек (пол, грунт и т.п.), а также сопротивление его обуви незначительны и поэтому приняты равными нулю.

Опасность поражения электрическим током распространяется на сети всех напряжений, однако, большую практическую значимость имеют сети напряжением до 1000 В.

Электрические сети переменного тока бывают однофазными и многофазными. В промышленности применяют преимущественно 3‑х фазные и 1‑но фазные сети.

Однофазные электрические сети могут выполняться:

- двухпроводными с изолированными от земли проводами;

- двухпроводными с заземлённым одним из проводов;

- однопроводными, когда роль второго провода выполняет земля, рельс и т.п.

Двухпроводные сети используют для питания малым напряжением (12, 24, 36 и 42 В) переносных ламп, электрифицированных инструментов, а при более высоких напряжениях (127, 220, 380 В и выше) – для питания сварочных трансформаторов, разделительных или понижающих трансформаторов, испытательных установок и др. однофазных потребителей.

Однопроводные сети применяют на электрифицированном транспорте, в испытательных устройствах и т.п.

 
 
  Рис. 2.1. Схемы однофазных сетей: а – двухпроводная изолированная от земли; б – двухпроводная с заземленным проводом; в – однопроводная.

 

 


Трёхфазные электрические сети в зависимости от режима нейтрали источника могут выполняться по четырём схемам:

- трёхпроводной с изолированной нейтралью;

- трёхпроводной с заземлённой нейтралью;

- четырёхпроводной с изолированной нейтралью;

- четырёхпроводной с заземлённой нейтралью.

 

 
 
Рис. 2.2. Схемы трёхфазных сетей: трехпроводная с изолированной (а) и заземленной (б) нейтралью; четырехпроводная с изолированной (в) и заземленной (г) нейтралью  

 

 


Нейтральная точка (нейтраль) обмотки источника или потребителя энергии, есть точка, напряжения которой относительно всех внешних выводов обмотки одинаковы по абсолютному значению. Нейтраль имеют источники (потребители), обмотка которых соединена звездой. Обмотки нескольких однофазных источников (потребителей) соединённые последовательно или звездой, также могут иметь нейтральную точку, но лишь одну, общую для всех обмоток.

Заземлённая нейтральная точка носит название нулевой точки.

Нейтраль, заземлённая путём непосредственно присоединения к заземлителю или через малое сопротивление называется глухо заземлённой нейтралью.

Проводник, присоединённый к нейтральной точке называется нейтральным проводником, а к нулевой точке нулевым проводником.

В нашей стране до недавнего времени при напряжениях до 1000В применяли в основном: трёхфазную трёхпроводную сеть с изолированной нейтралью напряжением 36, 42, 127, 220, 380 и 660 В и трёхфазную четырёхпроводную сеть с заземлённой нейтралью напряжением 220/127, 380/220 и 660/380 В.

 

 
 
  Рис. 2.3. Нейтральные и нулевые точки и проводники обмоток источников (потребителей) энергии – трехфазных (а) и однофазных, соединенных последовательно (б) 1 - нейтральная точка; 2- нейтральный проводник; 3 – нулевая точка; 4 – нулевой проводник

 

 


Другие электрические сети (трёхпроводные с заземлённой нейтралью и 4-х проводные с изолированной нейтралью) при напряжении до 1000В, как правило, не применяют, так как в этих сетях невозможно обеспечить обычными способами (заземлением и занулением) электробезопасность персонала в режимах замыканиях фазы на корпус и на землю.

При напряжениях выше 1000В применяют также две схемы трёхфазных сетей: трёхпроводную с изолированной нейтралью (до 35 кВ включительно) и трёхпроводную с заземлённой нейтралью (110 кВ и выше).

По ПУЭ:

Глухозаземленная нейтраль – нейтраль трансформатора или генератора, присоединенная непосредственно к заземляющему устройству. Глухозаземленным может быть также вывод источника однофазного переменного тока или полюс источника постоянного тока в 2-х проводных сетях, а также средняя точка в трехпроводных сетях постоянного тока.

Изолированная нейтраль – нейтраль трансформатора или генератора, неприсоединенная к заземляющему устройству или присоединенная к нему через большое сопротивление приборов сигнализации, измерения, защиты и других аналогичных устройств.

Заземлитель – проводящая часть или совокупность соединенных между собой проводящих частей, находящихся в электрическом контакте с землей непосредственно или через промежуточную проводящую среду.

Заземляющий проводник – проводник, соединяющий заземляемую часть (точку) с заземлителем.

Заземляющее устройство – совокупность заземлителя и заземляющих проводников.

 

В новой редакции ПУЭ для электроустановок напряжением до 1 кВ приняты следующие обозначения:

- система ТN - система, в которой нейтраль источника питания глухозаземлена, а открытые проводящие части электроустановки присоединены к глухозаземленной нейтрали источника посредством нулевых защитных проводников;
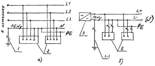
- система ТN-С - система ТN, в которой нулевой защитный и нулевой рабочий проводники совмещены в одном проводнике на всем ее протяжении (рис. 4.1);
- система ТN-S - система ТN, в которой нулевой защитный и нулевой рабочий проводники разделены на всем ее протяжении (рис. 4.2);
- система ТN-C-S - система ТN, в которой функции нулевого защитного и нулевого рабочего проводников совмещены в одном проводнике в какой-то его части, начиная от источника питания (рис. 4.3);
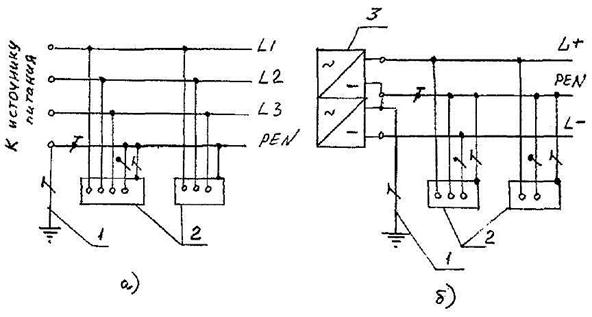
- система IT - система, в которой нейтраль источника питания изолирована от земли или заземлена через приборы и устройства, имеющие большое сопротивление, а открытые проводящие части электроустановки заземлены (рис. 4.4);
- система ТТ - система, в которой нейтраль источника питания глухозаземлена, а открытые проводящие части электроустановки заземлены при помощи заземляющего устройства, электрически не зависимого от глухозаземленной нейтрали источника (рис. 4.5).

 

Первая буква – состояние нейтрали источника питания относительно земли:

- Т - заземленная нейтраль;
- I - изолированная нейтраль.

Вторая буква – состояние открытых проводящих частей относительно земли:

- Т - открытые проводящие части заземлены, независимо от отношения к земле нейтрали источника питания или какой-либо точки питающей сети;
- N - открытые проводящие части, присоединены к глухозаземленной нейтрали источника питания.

Третья и четвертая буквы (после N) – совмещение в одном проводнике или разделение функций нулевого рабочего и нулевого защитного проводников:

- S - нулевой рабочий (N) и нулевой защитный (РЕ) проводники разделены;
- С - функции нулевого защитного и нулевого рабочего проводников совмещены в одном проводнике (РЕN) – проводник);
- N – - нулевой рабочий (нейтральный) проводник;
- РЕ – - защитный проводник (заземляющий, нулевой защитный проводник, защитный проводник системы управления потенциалов);
- РЕN – - совмещенный нулевой защитный и нулевой рабочий проводники.
       

Рис. 2.4. Система TN-C переменного (а) и постоянного (б) тока. Нулевой рабочий и нулевой защитный проводники совмещены в одном проводнике: 1 – заземлитель нейтрали (средней точки) источника питания; 2 – открытые проводящие части (корпуса); 3 – источник питания постоянного тока.
 
 
  Рис. 2.5. Система TN-C переменного (а) и постоянного (б) тока Нулевой защитный и нулевой рабочий проводники разделены: 1 – заземлитель нейтрали источника питания; 2 – открытые проводящие части; 3 – источник питания постоянного тока; 1-1 - заземлитель  

 

 


 

 

       
 
    Рис. 2.6. Система TN-C-S переменного (а) и постоянного (б) тока. Нулевой защитный и нулевой рабочий проводники совмещены в одном проводнике в части системы 1 – заземлитель нейтрали источника переменного тока; 2 – открытые проводящие части; 3 – источник питания постоянного тока; 1-1 – заземлитель.
 
   
Рис. 2.7. Система IT переменного (а) и постоянного (б) тока. Открытые проводящие части электроустановки заземлены. Нейтраль источника питания изолирована от земли или заземлена через большое сопротивление 1 – сопротивление заземления нейтрали источника питания (если имеется); 2 – заземлитель; 3 – открытые проводящие части; 4 – заземляющее устройство электроустановки; 5 – источник питания постоянного тока

 

 
 
Рис. 2.8. Система ТТ переменного (а) и постоянного (б) тока. Открытые проводящие части электроустановки заземлены при помощи заземления, электрически не связанного с заземлителем нейтрали 1 – заземлитель нейтрали источника переменного тока; 2 – открытые проводящие части; 3 – заземлитель открытых проводящих частей; 4 – источник питания постоянного тока; 1-1 – заземлитель вывода источника постоянного тока.

 

 





Поделиться с друзьями:


Дата добавления: 2014-11-16; Просмотров: 936; Нарушение авторских прав?; Мы поможем в написании вашей работы!


Нам важно ваше мнение! Был ли полезен опубликованный материал? Да | Нет



studopedia.su - Студопедия (2013 - 2025) год. Все материалы представленные на сайте исключительно с целью ознакомления читателями и не преследуют коммерческих целей или нарушение авторских прав! Последнее добавление




Генерация страницы за: 0.012 сек.