Студопедия

КАТЕГОРИИ:


Архитектура-(3434)Астрономия-(809)Биология-(7483)Биотехнологии-(1457)Военное дело-(14632)Высокие технологии-(1363)География-(913)Геология-(1438)Государство-(451)Демография-(1065)Дом-(47672)Журналистика и СМИ-(912)Изобретательство-(14524)Иностранные языки-(4268)Информатика-(17799)Искусство-(1338)История-(13644)Компьютеры-(11121)Косметика-(55)Кулинария-(373)Культура-(8427)Лингвистика-(374)Литература-(1642)Маркетинг-(23702)Математика-(16968)Машиностроение-(1700)Медицина-(12668)Менеджмент-(24684)Механика-(15423)Науковедение-(506)Образование-(11852)Охрана труда-(3308)Педагогика-(5571)Полиграфия-(1312)Политика-(7869)Право-(5454)Приборостроение-(1369)Программирование-(2801)Производство-(97182)Промышленность-(8706)Психология-(18388)Религия-(3217)Связь-(10668)Сельское хозяйство-(299)Социология-(6455)Спорт-(42831)Строительство-(4793)Торговля-(5050)Транспорт-(2929)Туризм-(1568)Физика-(3942)Философия-(17015)Финансы-(26596)Химия-(22929)Экология-(12095)Экономика-(9961)Электроника-(8441)Электротехника-(4623)Энергетика-(12629)Юриспруденция-(1492)Ядерная техника-(1748)

Система импульсной продувки сжатым воздухом рукавных фильтров




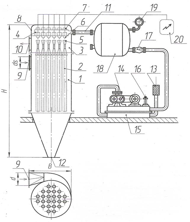
При работе фильтра РЦИ (см.рис.6.2) [12] в цилиндрический корпус 1 фильтра с тангенциально расположенным входным патрубком 9 поступает запыленный воздух. Пройдя через ткань рукавов вовнутрь, очищенный от пыли воздух выходит из рукавов в осевом направлении через трубы Вентури 5 в верхнюю камеру 3 очищенного воздуха и далее отсасывается из фильтра через выходной патрубок 10. Для очистки (продувки) рукавов от осевшей на их наружной поверхности пыли в каждый рукав поочерёдно из камеры через

 

 

Рис.6.2 Фильтр РЦИ с устройством для импульсной продувки: 1- корпус, 2- рукава, 3- верхняя камера, 4 - распределительная камера, 5 - насадки Вентури, 6 - сопла, 7 – электромагнитные клапаны, 8 – крышка клапанов, 9 - входной патрубок, 10 – выходной патрубок, 11 – подача сжатого воздуха, 12 – выгрузка пыли, 13 - воздушный фильтр, 14 – компрессор, 15 – основание, 16 – предохранительный клапан, 17 – вентиль, 18 – ресивер, 19 – манометр, 20 – аппаратура управления.

сопло 6 подается поток сжатого воздуха (от компрессора 14 через рессивер18). Пыль, выделенная из загрязненного воздуха, собирается в коническом днище и шлюзовым затвором выводится из фильтра. Опорный каркас, встроенный внутри каждого рукава 2, препятствует опадению при всасывании запыленного воздуха в рукава. Давление сжатого воздуха 45 кПа.Продолжительность импульсов продувки рукавов 0,1…2,0 с (оптимально 0,5 с). Интервал между импульсами продувки 1…25 с (оптимально 10 с). Запыленность воздуха на входе в фильтр допускается не более 15 г/м, а на выходе – не более 2 мг/м. Подсос воздуха – 5 %. Число рукавов в цилиндрической части фильтра может быть от 4 до 72. Рукава сверху открыты, внизу заглушены. Преимущества фильтров с импульсной продувкой: - отсутствие механически подвижных деталей; - высокая степень очистки воздуха (остаточная запыленность – 2,0 мг/м);- высокая воздушная нагрузка на ткань (до 8 м/(м * мин));- значительно меньшая занимаемая площадь по сравнению с фильтрами другого типа.




Поделиться с друзьями:


Дата добавления: 2014-11-08; Просмотров: 5725; Нарушение авторских прав?; Мы поможем в написании вашей работы!


Нам важно ваше мнение! Был ли полезен опубликованный материал? Да | Нет



studopedia.su - Студопедия (2013 - 2025) год. Все материалы представленные на сайте исключительно с целью ознакомления читателями и не преследуют коммерческих целей или нарушение авторских прав! Последнее добавление




Генерация страницы за: 0.007 сек.