Студопедия

КАТЕГОРИИ:


Архитектура-(3434)Астрономия-(809)Биология-(7483)Биотехнологии-(1457)Военное дело-(14632)Высокие технологии-(1363)География-(913)Геология-(1438)Государство-(451)Демография-(1065)Дом-(47672)Журналистика и СМИ-(912)Изобретательство-(14524)Иностранные языки-(4268)Информатика-(17799)Искусство-(1338)История-(13644)Компьютеры-(11121)Косметика-(55)Кулинария-(373)Культура-(8427)Лингвистика-(374)Литература-(1642)Маркетинг-(23702)Математика-(16968)Машиностроение-(1700)Медицина-(12668)Менеджмент-(24684)Механика-(15423)Науковедение-(506)Образование-(11852)Охрана труда-(3308)Педагогика-(5571)Полиграфия-(1312)Политика-(7869)Право-(5454)Приборостроение-(1369)Программирование-(2801)Производство-(97182)Промышленность-(8706)Психология-(18388)Религия-(3217)Связь-(10668)Сельское хозяйство-(299)Социология-(6455)Спорт-(42831)Строительство-(4793)Торговля-(5050)Транспорт-(2929)Туризм-(1568)Физика-(3942)Философия-(17015)Финансы-(26596)Химия-(22929)Экология-(12095)Экономика-(9961)Электроника-(8441)Электротехника-(4623)Энергетика-(12629)Юриспруденция-(1492)Ядерная техника-(1748)

Сеть управления на основе каналов DCC




 

Рассмотрим некоторую обобщенную практическую двухуровневую схему управления сетью SDH, которая состоит, например, из колец сети SDH, а каждое кольцо включает несколько NE - мультиплексоров. Соединение колец и элементов такой сети SDH формирует SMN. Эту сеть можно реализовать, используя либо встроенные (внутренние) каналы служебной связи DCC, которые образуются самим оборудованием SDH, либо построенные специально для целей управления внешние каналы между элементами, реализующие сеть Х. 25или Ethernet.

В любом случае каждый элемент сети SDH должен быть доступен для управления (для защиты наиболее важных участков сети управления может использоваться резервирование каналов).

Маршрутизация в сети управления может осуществляться на основе протокола связи (взаимодействия) между оконечной и промежуточной системами ES-IS (End System - to - Intermediate System) или протокола взаимодействия между промежуточными системами IS-IS (Intermediate System - to - Intermediate System)[108], взятых из протоколов, обслуживающих интерфейс Q 3. Это обеспечит автоматическую маршрутизацию как в процессе инсталляции сети, так и при возникновении ошибок в сети, т. е. если в каком-либо звене сети управления возникает неисправность, то используется альтернативный маршрут. Схема маршрутизации должна автоматически изменяться при изменении конфигурации мультиплексоров и сети SDH. Обычно на один NE задействовано два или три канала DCC, чтобы время маршрутизации было небольшим, однако при необходимости количество каналов может быть увеличено.

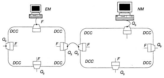
Практическая схема управления сетью SDH показана на рис. 5.18. Эта сеть состоит из двух колец, в каждом из которых включено по четыре DIM. Элемент-менеджер ЕМ (нижний уровень управления) подключен к одному из NE через интерфейс F. Сетевой менеджер NM (верхний уровень управления) подключен к сети SDH через локальную сеть с использованием интерфейса Q 3. Это может быть локальный (для данного кольца) или центральный менеджер. Кольца сети SDH также соединены между собой по контуру управления через интерфейсы Q 3.

 

 

Рис. 1.18

 

С учетом вышеизложенного приведем сводные данные по локальной сети и интерфейсам управления F и Q 3. Для конкретного примера выберем локальную сеть Ethernet типа 10 Base- 2,которой соответствует набор протоколов CLNS 1. Тогда профили наборов протоколов сети SDH и интерфейса Q 3, протоколы маршрутизации, используемые в управлении сетью SDH, регламентируются стандартами ISO и рекомендациями ITU-T (табл. 5.2) [77].

Таблица 1.2

Профиль набора протоколов сети SDH Управление сетью SDH ITU-T G.784
Уровни 1-3 ITU-T Q.811
Уровни 4-7 ITU-T Q.812
Набор протоколов интерфейса Q 3 Уровень 2 ITU-T Q.921 LAPD для DCC LLC1 (ISO 8802-2) для Ethernet
Уровень 3 CLNP ISO 8473, ISO 8348/ AD 2
Уровень 4 ITU-T X. 214, X. 224
Уровень 5 ITU-T X. 215, X. 225
Уровень 6 ITU-T X. 216, X. 226
Уровень 7 ACSE: CCITT X. 211, X. 221
ROSE: CCITT X. 219, X. 229
CMISE: ISO 9595-1, ISO 9596-1
Протоколы маршрутизации ES-IS ISO 9542
IS-IS ISO 10589

Элемент-менеджер ЕМ формально соединен с сетью через интерфейс F. Фактически при использовании LAN Ethernet это тот же интерфейс Q 3 с указанными в табл. 5.2 протоколами уровня 2.

Каждый NE управления должен иметь свой адрес точки доступа сетевого сервиса NSAP (Network Service Access Point).Этот адрес присваивается элементу сети NE при ее инсталляции и служит для идентификации NE при подключении к нему ЕМ или NM.

При управлении конкретной сетью важным параметром является максимальное количество элементов, управление которыми возможно. Если число элементов в результате роста сети превысило максимально допустимое, например число 100, то сеть управления должна быть разбита на области с меньшим числом управляемых элементов. Такое разбиение проводится с учетом целого ряда ограничений, обычно указываемых в руководствах по маршрутизации. Чтобы осуществить такое разбиение, необходимо руководствоваться следующими положениями:

1) наиболее приемлемой топологией для сети управления, имеющей несколько областей, является топология «звезда», например, сеть в виде квадрата можно разбить делением его сторон пополам, что дает четыре симметричные области с центром сети управления в центре квадрата;

2) области управления могут не иметь ничего общего с топологией транспортной сети SDH;

3) нужно помнить, что, используя портативный компьютер в качестве ЕМ, при переходе из области в область необходимо изменять адрес NSAP этого компьютера.

Не рассматривая здесь подробно процедуру разбиения сети управления на подобласти, необходимо указать на важность возможности такого разбиения, которое позволяет планировать использование более совершенных схем маршрутизации. Например, уровень 1 протокола IS-IS позволяет осуществлять маршрутизацию только внутри одной области, тогда как уровень 2 позволяет выполнить маршрутизацию и между областями в пределах одного домена.

Структура адреса NSAP для протокола маршрутизации IS-IS показана на рис. 5.19, максимальная емкость этого адреса 20 байт.

 

Начальная часть домена IDР Специфическая часть домена DSP
AFI IDI Адрес области АА Идентификатор системы SID NS
1 байт 2 байт 10 байт 6 байт 1 байт

 

Рис. 1.19

 

Адрес NSAP состоит из двух частей: начальной части домена IDР (Initial Domain Part)и специфической части домена DSP (Domain Specific Part).

Начальная часть домена IDP в структуре адреса NSAP занимает два поля: поле идентификатора полномочий и формата AFI (Authority and Format Identifier)размером 1 байт и поле идентификатора начальной области ID! (Initial Domain Identifier)размером 2 байт. Они фиксируются локальной схемой нумерации, которой и следуют. Правила нумерации адреса NSAP приведены в стандарте ISO 3166.

Структура специфической части домена DSP соответствует протоколу IS-IS, выбранному в данном примере в качестве протокола маршрутизации. Внутри одной области начальная часть домена IDР и адрес области АА (Area Address)емкостью 10 байт постоянны. Только идентификатор системы SID (System Identifier)размером 6 байт изменяется при передаче по сети от элемента к элементу в пределах одной области, но его размер остается постоянным. Поле выбора сети NS (Network Selection)принимается постоянным. Пример формирования и использования адреса NSAP приведен в работе [77].





Поделиться с друзьями:


Дата добавления: 2014-11-16; Просмотров: 855; Нарушение авторских прав?; Мы поможем в написании вашей работы!


Нам важно ваше мнение! Был ли полезен опубликованный материал? Да | Нет



studopedia.su - Студопедия (2013 - 2026) год. Все материалы представленные на сайте исключительно с целью ознакомления читателями и не преследуют коммерческих целей или нарушение авторских прав! Последнее добавление




Генерация страницы за: 0.011 сек.