Студопедия

КАТЕГОРИИ:


Архитектура-(3434)Астрономия-(809)Биология-(7483)Биотехнологии-(1457)Военное дело-(14632)Высокие технологии-(1363)География-(913)Геология-(1438)Государство-(451)Демография-(1065)Дом-(47672)Журналистика и СМИ-(912)Изобретательство-(14524)Иностранные языки-(4268)Информатика-(17799)Искусство-(1338)История-(13644)Компьютеры-(11121)Косметика-(55)Кулинария-(373)Культура-(8427)Лингвистика-(374)Литература-(1642)Маркетинг-(23702)Математика-(16968)Машиностроение-(1700)Медицина-(12668)Менеджмент-(24684)Механика-(15423)Науковедение-(506)Образование-(11852)Охрана труда-(3308)Педагогика-(5571)Полиграфия-(1312)Политика-(7869)Право-(5454)Приборостроение-(1369)Программирование-(2801)Производство-(97182)Промышленность-(8706)Психология-(18388)Религия-(3217)Связь-(10668)Сельское хозяйство-(299)Социология-(6455)Спорт-(42831)Строительство-(4793)Торговля-(5050)Транспорт-(2929)Туризм-(1568)Физика-(3942)Философия-(17015)Финансы-(26596)Химия-(22929)Экология-(12095)Экономика-(9961)Электроника-(8441)Электротехника-(4623)Энергетика-(12629)Юриспруденция-(1492)Ядерная техника-(1748)

Черт. 99. Примеры конструкций пространственных каркасов линейных элементов, изготовляемых с применением контактной точечной сварки




а ¾ из двух сеток и соединительных стержней, привариваемых к продольной арматуре сеток; б ¾ из гнутых сеток и соединительных стержней; в ¾ с навивкой спиральной поперечной арматуры на продольную арматуру; г ¾ из ранее согнутых и сваренных хомутов, нанизанных на продольные стержни; д ¾ из сетки, согнутой до получения замкнутого контура; е — из четырех плоских сеток; ж — из двух сеток и монтажных стержней, перпендикулярных плоскости изгиба и привариваемых к поперечной арматуре сеток (в балках, не работающих на кручение, и в колоннах при общем насыщении продольной арматурой не более 3 %); и ¾ пространственный каркас из нескольких гнутых и плоских сеток и соединительных стержней, привариваемых с помощью сварочных клещей; к ¾ пространственные каркасы при насыщении продольной арматурой до 1 % в виде двух диагонально расположенных плоских сеток; 1 ¾ плоская сетка; 2 ¾ соединительный стержень; 3 ¾ гнутая сетка; 4 ¾ точечная сварка

5.30. Пространственные каркасы линейных элементов могут быть изготовлены без применения контактной точечной сварки следующими способами:

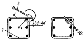
а) соединением сеток с помощью скоб и дуговой сваркой их с хомутами (черт. 100, а). В колоннах, в балках, работающих на кручение, а также в сжатой зоне балок с учитываемой в расчете сжатой арматурой длина односторонних сварных швов l должна быть не менее 6 d (где d ¾ диаметр хомута), а монтажных соединений — 3 d;

б) соединением плоских сеток с помощью шпилек с вязкой всех пересечений (черт. 100, б), при этом должна быть обеспечена монтажная жесткость каркаса приваркой стержней, планок и т. п.;

в) соединением плоских сеток между собой с помощью дуговой сварки продольных стержней (черт. 100, в) возле всех мест приварки хомутов. Длина швов l должна быть не менее 5 d (где d —диаметр хомутов). Такие соединения допускаются при насыщении сечения сжатой арматурой не более 3 %;

г) из продольных стержней и гнутых хомутов с вязкой пересечений (черт. 100, г) и присоединением элементов жесткости (вязаные каркасы);

д) из одной или нескольких гнутых или плоских сеток и соединительных стержней диаметрами не более 6 мм огибанием продольных стержней сеток концами соединительных стержней с образованием замкнутой петли с помощью гибочных ключей (черт. 100, д). Способ рекомендуется при наличии специальных кондукторов, обеспечивающих надежную фиксацию каркасов. При наличии сжатых продольных стержней требования к расстояниям между соединительными стержнями такие же, как к расстояниям между сварными хомутами (см. п. 5.59).

а)

6)

в)

г)

д)




Поделиться с друзьями:


Дата добавления: 2014-11-16; Просмотров: 570; Нарушение авторских прав?; Мы поможем в написании вашей работы!


Нам важно ваше мнение! Был ли полезен опубликованный материал? Да | Нет



studopedia.su - Студопедия (2013 - 2026) год. Все материалы представленные на сайте исключительно с целью ознакомления читателями и не преследуют коммерческих целей или нарушение авторских прав! Последнее добавление




Генерация страницы за: 0.009 сек.