Студопедия

КАТЕГОРИИ:


Архитектура-(3434)Астрономия-(809)Биология-(7483)Биотехнологии-(1457)Военное дело-(14632)Высокие технологии-(1363)География-(913)Геология-(1438)Государство-(451)Демография-(1065)Дом-(47672)Журналистика и СМИ-(912)Изобретательство-(14524)Иностранные языки-(4268)Информатика-(17799)Искусство-(1338)История-(13644)Компьютеры-(11121)Косметика-(55)Кулинария-(373)Культура-(8427)Лингвистика-(374)Литература-(1642)Маркетинг-(23702)Математика-(16968)Машиностроение-(1700)Медицина-(12668)Менеджмент-(24684)Механика-(15423)Науковедение-(506)Образование-(11852)Охрана труда-(3308)Педагогика-(5571)Полиграфия-(1312)Политика-(7869)Право-(5454)Приборостроение-(1369)Программирование-(2801)Производство-(97182)Промышленность-(8706)Психология-(18388)Религия-(3217)Связь-(10668)Сельское хозяйство-(299)Социология-(6455)Спорт-(42831)Строительство-(4793)Торговля-(5050)Транспорт-(2929)Туризм-(1568)Физика-(3942)Философия-(17015)Финансы-(26596)Химия-(22929)Экология-(12095)Экономика-(9961)Электроника-(8441)Электротехника-(4623)Энергетика-(12629)Юриспруденция-(1492)Ядерная техника-(1748)

Газоразрядные источники света




Полупроводниковые источники света

Решение проблемы снижения мощности, электропотребления и

эксплуатационных затрат осветительных установок позволит в скором будущем решить средствами, которые ранее не воспринимались всерьез – это светоизлучающие диоды (СИД).

Светоизлучающие диоды (СТД) LED

Было замечено, что диоды, при применении в них некоторых легирующих материалов изменяют их характеристики, они излучают свет. Со временем эти диоды стали применять как индикаторы. По мере повышения уровня полупроводниковых технологий стало возможным производить все более яркие светодиоды и разнообразить из цвета.

Спектр светодиодов (кроме белого) линейчатый приближающийся к монохроматическому, поэтому долго не существовало белых светодиодов, так как белый свет представляет собой смешение цветов.

Получить белое свечение светодиодов возможно двумя способами:

первый, наиболее распространенный, вариант предполагает использование ультрафиолетового светодиода с нанесением на линзу люминофора;

второй – использование так называемой светодиодной сборки из трех светодиодов – зеленого, красного и синего. Светодиоды, полученные таким способом, называют «полноцветными».

Уже выпускаются указательные светильники в качестве информационных и ориентационных указателей на светодиодных излучателях мощностью 1,5 Вт и рассчитаны на напряжение переменного тока 220 В.

Лидеры по световому потоку являются натриевые лампы, но в скором будущем первенство могут получить светоизлучающие сверхяркие светодиоды.

Разрядной лампой называют лампу, в которой оптическое излучение возникает в результате электрического разряда в газах, парах или их смесях.

Принцип действия разрядных ламп основан на электрическом разряде между двумя электродами, запаянными в прозрачную колбу. Форма колбы может быть различной формы: трубчатые, капиллярные, шаровые.

Классифицируются разрядные лампы по ряду признаков: по физическим, конструктивным, эксплуатационным, а также области применения.

Классификация по физическим признакам определяют свойства разрядных ламп, такие как спектр и цветность излучения, яркость, энергетический КПД.

Для разрядных ламп определяющим фактором являются состав газовой среды, давление компонентов газовой среды и ток. По составу газов или паров, в которых происходит разряд, они делятся на лампы с разрядом в газах; в парах металлов; в парах металлов и их соединений. По рабочему давлению разрядные лампы делятся на: лампы низкого давления – примерно от 0,1 до 104 Па; высокого давления – от 3×104 до 106 Па и сверхвысокого давления – больше 106 Па. По виду разряда – на лампы: дугового, тлеющего и импульсного разряда.

Область применения разрядных ламп определяется тем, что они имеют самую высокую световую отдачу и большой срок службы по сравнению с лампами накаливания.

Люминесцентные лампы (флуоресцентные)– это газоразрядные лампы низкого давления.

Люминесцентные лампы представляют собой разрядные источники света низкого давления, в которых ультрафиолетовое излучение ртутного разряда преобразуется люминофором в длинноволновое видимое излучение. Люминофорами называются твердые или жидкие вещества, способные излучать свет под действием различного рода возбуждения.

По характеру разряда в люминесцентных лампах классифицируются на люминесцентные лампы дугового разряда с горячими катодами, лампы тлеющего разряда с холодными катодами и лампы вихревого разряда без электродов.

Люминесцентные лампы дугового разряда можно подразделить на осветительные люминесцентные лампы общего и специального назначения. Люминесцентные лампы общего назначения предназначены для освещения в различных областях применения.

Люминесцентная лампа низкого давления представляет собой цилиндрическую стеклянную колбу 2 (рис. 3.1), на концах которой в цоколях 1 смонтированы вольфрамовые спиральные электроды 6. На внутреннюю поверхность по всей ее длине нанесен тонкий слой твердого кристаллического порошкообразного вещества – люминофора 4. Люминофором является галофосфат кальция, дозированный марганцем и сурьмой. Изменяя пропорцию состава люминофора можно получить люминесцентные лампы с различной цветностью излучения светового потока.

Рис. 2.3. Внешний вид и разрез люминесцентной лампы:

1–цоколь; 2–колба; 3– ртутные пары; 4– слой люминофора;
5 – контактные штырьки цоколя; 6 – спиральный электрод

После откачки воздуха при изготовлении лампы внутрь колбы вводится капля ртути (20…30 мг), которая испаряется при работе лампы. Также вводится небольшое количество чистого газа – аргона, для уменьшения процесса испарения вольфрамовых электродов и ускорения зажигания лампы.

Длина и диаметр стеклянной трубки определяются мощностью лампы и напряжением, на которое она рассчитана и выпускаются с диаметром 40, 26 и 16 мм.

По форме различаются линейные, U-образные, кольцевые, а также компактные. Светоотдача люминесцентных ламп составляет примерно 40, 50, 60, 80 лм/Вт и более. Выпускаются люминесцентные лампы мощностью 20, 30, 40, 80 Вт с колбой диаметром 40 мм и улучшенной конструкции 18, 36, 58 Вт с колбой диаметром 26 мм.

Маркировка люминесцентных ламп состоит из букв, обозначающих конструктивные признаки и цифр указывающих мощность ламп.

Первая буква – тип лампы Л – люминесцентная, ТЛ – сигнальные, ЛЛ – тлеющего разряда, ГР – трубки для световой рекламы;

вторая буква – цвет излучения Б- белый, ТБ – тепло-белый, ХБ – холодно-белый, Д – дневной, Е – естественно-белый, УФ – ультрафиолетовый, К – красный, С – синий, З – зеленый, Г – голубой;

третья группа букв – одна или две буквы Ц – высокое или очень высокое качество цветопередачи;

четвертый элемент – одна буква – особенности конструкции лампы: Р – рефлекторная, У – U-образная, К – кольцевая, Б – быстрого пуска, А – амальгамная;

пятый элемент – группа цифр – мощность лампы в ваттах.

Люминесцентные лампы включаются в электрическую сеть с помощью пускорегулирующей аппаратуры (ПРА), для зажигания и обеспечения нормального режима работы. Это усложняет конструкцию, а следовательно, стоимость осветительных приборов и некоторую сложность в эксплуатации, что безусловно является недостатками люминесцентных ламп. К недостаткам люминесцентных ламп можно отнести сложность утилизации из-за наличия в колбе ртути, ненадежная работа в температурных диапазонах до 15°С и выше 25°С, относительно низкая стабильность светового потока в течение срока службы.

Кроме указанных недостатков люминесцентные лампы обладают рядом достоинств, к которым следует отнести:

– линейный источник света, что позволяет создать более равномерное освещение и эстетическое оформление осветительной установки;

– высокая световая отдача до 100 лм/Вт;

– большой срок службы до 10000…12000 ч;

– низкая яркость и температура поверхности колбы;

– качественная цветопередача (у отдельных серий ламп);

– относительно невысокая себестоимость изготовления.

В зависимости от схемы включения ламп применяют ЭмПРА стартерные и бесстартерные.

Стартерные ЭмПРА состоят из дросселя, стартера (зажигателя) и конденсаторов.

Стартер служит для автоматического предварительного подогрева электродов и зажигания лампы. Представляет собой лампу тлеющего разряда, состоящую из стеклянного баллона 2, наполненного инертным газом – неоном (рис. 2.6, а). В стеклянном баллоне вмонтированы два электрода: один металлический, другой биметаллический. Между электродами имеется зазор 2…3 мм.

Дроссель, представляет собой катушку индуктивности с сердечником из листовой электротехнической стали. Дроссель имеет индуктивность 4…5 Гн. Такая большая величина индуктивности, как правило, достигается за счет стального сердечника с высокой магнитной проницаемостью. Дроссель создает механические вибрации светильника на частоте 50 Гц с соответствующим звуковым давлением на той частоте. Кроме того, эта индуктивность приводит к значительному сдвигу по фазе между током и напряжением и снижению коэффициента мощности.

Серьезным недостатком схемы питания на частоте питающей сети являются пульсации светового потока лампы из-за низкой инерционности люминофора, что приводит к стробоскопическому эффекту при выполнении ряда производственных операций с вращающимися механизмами.

На рис. 2.4 приведена типовая схема стартерного зажигания люминесцентной лампы, включаемой в сеть 220 В.

В момент включения лампы выключателем SA, ее электроды и стартер оказываются включенными на полное напряжение сети. Напряжения сети для зажигания лампы не достаточно, но достаточно, чтобы вызвать в стартере разряд. В стартере возникает тлеющий разряд, под действием которого биметаллический электрод нагревается и, изгибаясь, замыкается с другим электродом неоновой лампы. Цепь стартера замыкается, и начинается процесс нагрева электродов лампы. По окончании разряда в стартере биметаллический электрод охлаждается, выпрямляется и разрывает электрическую цепь. А так как в электрическую цепь последовательно с лампой включена индуктивная нагрузка (дроссель), то в момент размыкания возникает импульс повышенного напряжения, вызывающий мощный дуговой разряд в лампе и зажигает ее.

 

а) б)

Рис. 2.4. Схема электрическая включения люминесцентной лампы в сеть:

а– стартер (неоновая лампа тлеющего разряда): 1– металлический электрод; 2– стеклянный баллон; 3– защитная оболочка;
4– биметаллический электрод;
б– схема принципиальная: 1–стартер; 2– лампа; 3–балластный дроссель

Характеристики люминесцентных ламп

Световой поток люминесцентных источников света зависит в основном от мощности ламп, спектр излучения – от состава люминофора. Например, лампы типа ЛД испускают 92 % потока в области 460…610 нм, лампы ЛБЦ – 94 % в области 510…660 нм.

Пульсация светового потока обусловлена погасанием и перезажиганием лампы в каждый полупериод переменного тока. Освещение объектов пульсирующим световым потоком утомляет зрение, вызывает стробоскопический эффект (кажущаяся неподвижность объекта при совпадении частот пульсации светового потока и движущегося объекта).

Пульсация светового потока характеризуется коэффициентом пульсации

, (2.3)

где – соответственно максимальное, минимальное и среднее значение светового потока лампы, лм.

Коэффициент пульсации определяется составом люминофора и схемой включения в сеть (составляет 25…40%).

Световая отдача люминесцентных ламп составляет 60…80 лм/Вти зависит от свойств люминофора, соотношения длины и диаметра трубки лампы. Световая отдача снижается на 30…40 % к концу срока службы ламп. Это обусловлено необратимыми химическими реакциями люминофора с примесями в газах, износом электродов и другими факторами.

Срок службы люминесцентных ламп зависит от стойкости электродов. Электротехническая промышленность выпускает люминесцентные лампы со сроком службы до 10…12 тысяч часов.

Кроме стартерных схем зажигания люминесцентных ламп применяются бесстартерные схемы.

Схемы бесстартерного зажигания подразделяются на трансформаторные, импульсные.

Предприятия-изготовители для различных схем включения люминесцентных ламп (стартерных и бесстартерных) комплектуют отдельные элементы схем включения в блоки (ПРА). ПРА имеют маркировку состоящую из цифр и букв.

Маркировка ПРА:

Питание люминесцентных ламп на высокой частоте

При питании люминесцентной лампы переменным током с частотой, превышающей 20 кГц, световой поток увеличивается на 15…20 %, срок службы лампы на 20…30 %, при этом пропадают два главных фактора отрицательного воздействия на человека: пульсации светового потока и высокий уровень звукового давления. Создание мощных, относительно дешевых электронных ПРА высокой частоты стало возможным только с соответствующим уровнем развития микроэлектроники. Основной их недостаток – это высокая стоимость по сравнению с низкочастотными балластами.

В настоящее время разработаны и успешно применяются схемы зажигания люминесцентных ламп с электронными пускорегулирующими устройствами (ЭПРА) на базе полупроводниковых приборов, получившие название энергосберегающие, которые значительно улучшают качество освещения. ЭПРА служат для зажигания и стабилизации режима работы лампы, объединяя в одной схеме функции дросселя (индуктивного балласта), стартера, компенсирующих и помехозащитных конденсаторов. Электронный ПРА отключит неисправные лампы, избавляя от раздражительного мигания, а также включает лампы одновременно без шума и мерцания. Это увеличивает срок службы ламп и уменьшает расходы на обслуживание, позволяет экономить электроэнергию на 20…30%.

 

 

Рис.2.5. Схема электронного ПРА

Компактные люминесцентные лампы

Первоначальной целью выпуска компактных люминесцентных ламп являлась необходимость создания энергоэффективных ламп с относительно небольшим световым потоком для применения в бытовых осветительных приборах. Выпускаемые в настоящее время компактные люминесцентные лампы отличаются меньшими мощностями со шкалой мощностей от 5 до 105 Вт, с диапазоном светового потока от 200 лм и выше.

Конструктивно компактные (фигурные) лампы выпускаются для работы с выносным электромагнитным ПРА и с встроенным электронным ПРА и резьбовым цоколем типа Е27,Е40 что позволяет, непосредственно заменять лампы накаливания, не заменяя существующий осветительный прибор.

 

РАЗРЯДНЫЕ ЛАМПЫ ВЫСОКОГО ДАВЛЕНИЯ

Ртутные лампы высокого давления

Ртутные лампы высокого давления представляют собой трубку из кварцевого стекла. В торцы трубки впаяны активированные самокалящиеся вольфрамовые электроды (рис. 4.1). Внутрь трубки после тщательного удаления воздуха вводится строго дозированное количество ртути и аргон при давлении 1,5…3,0 кПа. Аргон служит для облегчения зажигания разряда и защиты электродов от распыления в начальной стадии разгорания лампы, так как при комнатной температуре давление паров ртути очень низкое (около 1 Па). В некоторых типах ламп кварцевая трубка помещается в стеклянную колбу.

 

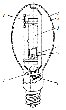
Рис. 2.6. Лампа типа ДРЛ (в разрезе):

1– внешняя стеклянная колба; 2– слой люминофора; 3– разрядная трубка из прозрачного кварцевого стекла; 4– рабочий
электрод; 5– зажигающий электрод; 6– ограничительные
резисторы в цепи зажигающих электродов; 7– экран

После зажигания дугового разряда происходит нагревание разрядной трубки и испарение ртути. Давление паров ртути повышается, вместе с тем изменяются все характеристики разряда: растут напряжение на лампе, мощность, поток излучения и КПД. Этот процесс продолжается в течение 5…7 минут до тех пор, пока не испарится вся ртуть, после чего все характеристики стабилизируются.

Лампы типа ДРЛ (Д – дуговая, Р – ртутная, Л - люминесцентная). Они представляют собой ртутную горелку в виде трубки из прозрачного кварцевого стекла, смонтированную в колбе из тугоплавкого стекла. Внутренняя поверхность стеклянной колбы покрыта тонким слоем порошкообразного люминофора. В качестве люминофора применяют главным образом фосфат-ванадат иттрия, активированный европием.

Колба лампы снабжена резьбовым цоколем.

Лампы типа ДРЛ выпускаются с горелками, имеющими кроме двух основных электродов еще два зажигающих электрода, служащих для облегчения зажигания разряда. Лампы включаются в электрическую сеть через дроссель.

Лампы ДРЛ характеризуется высокой светоотдачей и сроком службы в среднем 10000 ч. Световая отдача ламп ДРЛ составляет примерно для ДРЛ 250 - 54, ДРЛ400 – 60, ДРЛ700 – 58, ДРЛ1000 - 59 лм/Вт.

Спектр видимого излучения смещен в сторону ультрафиолетового излучения и поэтому эти лампы непригодны для освещения тех помещений, где работа связана с высокими требованиями по цветопередаче.

Металлогалогенные лампы

Устройство и принцип действия металлогалогенных ламп основан на том, что галогениды многих металлов испаряются легче, чем сами металлы, и не разрушают кварцевое стекло. Поэтому внутрь колб металлогалогенных ламп кроме ртути и аргона дополнительно вводятся различные химические элементы в виде их галоидных соединений, например, йод, бром, хлор. После зажигания разряда, когда достигается рабочая температура колбы, галогениды металлов частично переходят в парообразное состояние. Попадая в центральную зону разряда с температурой несколько тысяч градусов Кельвина, молекулы галогенидов диссоциируют на галоген и металл. Атомы металла возбуждаются и излучают характерные для них спектры. Диффундируя за пределы разрядного канала и попадая в зону с более низкой температурой вблизи стенок колбы, они воссоединяются в галогениды, которые вновь испаряются. Такой замкнутый цикл обеспечивает некоторые преимущества перед лампами ДРЛ: во-первых в разряде создается концентрация атомов металлов, дающих требуемый спектр излучения, так как при рабочей температуре кварцевой колбы 800…900°С давление паров галогенидов многих металлов значительно выше, чем самих металлов, таких как таллий, индий, скандий, диспрозий и др. и во-вторых появляется возможность вводить в разряд щелочные металлы натрий, литий, цезий и другие агрессивные металы (например, кадмий, цинк), которые в чистом виде вызывают быстрое разрушение кварцевого стекла, а в виде галогенидов не вызывают такого разрушения.

Для общего освещения в настоящее время наиболее широкое распространение получили металлогалогенные лампы со следующими составами металлогалогенных добавок (кроме ртути и зажигающего газа): 1) иодиды натрия, таллия и индия; 2) иодиды натрия, скандия и тория. Лампы имеютспектр, состоящий из отдельных линий ртути и линий добавок, расположенных в различных областях спектра, благодаря чему удается сочетать высокую световую отдачу с приемлемым качеством цветопередачи.

 

а) б)

Рис. 2.7. Общий вид металлогалогенных ламп общего освещения:

а) – лампа 400 Вт в эллипсоидальной прозрачной колбе;
б) – в цилиндрической прозрачной колбе

Металлогалогенные лампы для общего освещения типа ДРИ:
Д – дуговая, Р – ртутная, И – с излучающими добавками. Лампы типа ДРИ по конструкции подобны лампам типа ДРЛ. В качестве внешней колбы обычно применяется стандартная внешняя колба ламп типа ДРЛ, но без люминофорного покрытия или специальная колба цилиндрической формы.

У ламп ДРИ Световая отдача и цветопередача дугового разряда ртути и световой спектр значительно улучшаются. Светоотдача ламп составляет примерно ДРИ 250 – 76, ДРИ400 – 87, ДРИ700 – 85, ДРИ1000 - 90 лм/Вт.

Световая отдача и более высокий индекс цветопередачи чем ламп ДРЛ, но срок службы ниже.

Натриевые лампы

Принцип действия натриевых ламп основан на использовании резонансного излучения D-линий натрия (589 и 589,6 нм). Эти лампы обладают самой высокой световой отдачей сроком службы среди разрядных ламп. Недостатком натриевых ламп является низкое качество цветопередачи и применяются в основном для освещения площадей, парков, уличного освещения.

В зависимости от рабочего давления паров натрия выделяют два типа ламп – натриевые лампы низкого давления (НЛНД) и натриевые лампы высокого давления (НЛВД).

Натриевые лампы низкого давления представляют собой разрядные трубки диаметром 15…25 мм и изготавливаются из специальных сортов стекла, устойчивых к воздействию разряда в парах натрия.

Применяются натриевые лампы низкого давления для освещения автострад, туннелей, складов, а также как архитектурное и декоративное освещение.

Натриевы лампы ДНаТ – дуговая натриевая трубчатая наиболее эффективные современные источники света. Световая отдача их достигает 100…130 лм/Вт (рекорд среди источников света). Продолжительность работы – до 15000 ч.

Спектр видимого излучения лежит в зоне желто-краного цвета, что делает эти лампы непригодными для освещения помещений, где выполняется зрительная работа. Обладая высоким световым потоком и искривленным спектром излучения освещение натриевыми лампами создает слепящее действие, дискомфорт, а, следовательно, быструю утомляемость и снижение работоспособности.

Натриевые лампы типа ДНаТ для внутреннего освещения применяются редко ввиду больших пульсаций излучаемого светового потока и значительного ультрафиолетового излучения. Их допускается использовать только с разрешения органов санитарного надзора при условии, что освещенность в зоне пребывания людей не превышает 150 лк. Эти лампы широко применяются для освещения улиц, площадей, парков. Натриевые лампы высокого давления типа ДНаТ имеют цилиндрическую разрядную трубку, смонтированную в вакуумированной внешней колбе (рис. 2.8 а) и содержат смесь паров натрия и ртути при высоком давлении и зажигающий газ – ксенон.

 

Рис. 2.8. Общий вид натриевых ламп высокого давления:

а)– в прозрачной колбе (типа ДНаТ); б) – в светорассеивающей колбе (типа ДНаТМт); в) – в софитном исполнении (типа ДНаТСф); 1–разрядная трубка; 2– стеклянная внешняя колба;
3– теплоотражающий экран; 4– светорассеивающее покрытие;
5–бариевый газопоглотитель; 6– цоколь резьбовой; 7– кварцевая внешняя колба; 8– цоколь специальный

Зажигание ламп осуществляется специальным устройством, подающим на лампу высокочастотный импульс с амплитудой 2…4 кВ. Время разгорания лампы 5…7 мин и определяется скоростью нагрева лампы и испарения натрия и ртути. По мере разгорания спектр излучения меняется от монохроматического желтого до нормального уширенного, соответствующего установившимся рабочим параметрам. Время повторного зажигания выключенной лампы определяется временем охлаждения разрядной трубки до температуры, при которой подаваемые импульсы напряжения достаточны для повторного зажигания разряда и составляет 2…3 мин.

 

 

На рис. 2.9, 2.10, 2.11 приведены электрические схемы включения разрядных ламп типа ДРЛ, ДРИ, ДНаТ в сеть.

Рис. 2. 9. Схема включения лампы ДРЛ в сеть

Рис. 2.10. Схема включения лампы ДРИ в сеть

Рис.2.11. Схема включения лампы ДНаТ в сеть

Ксеноновые лампы

В ксеноновых лампах используется разряд в газе ксеноне при высоком и свервысоком давлениях и плотности тока, составляющей десятки и сотни . Разряд в ксеноне непрерывностью спектра излучения в пределах от 200 нм до 2 мкм. В видимой части спектр близок к солнечному и обеспечивает высокую цветопередачу.

Для зажигания как безбалластных, так и балластных ксеноновых ламп применяются специальные зажигающие устройства, дающие высоковольтный (да 50 кВ) импульс высокой частоты.

Применяются ксеноновые лампы для освещения больших открытых пространств, площадей, архитектурных сооружений и т.д.

Пускорегулирующие аппараты для ламп высокого давления

Устройства, содержащие элементы зажигания и стабилизации тока лампы, называют пускорегулирующими аппаратами (ПРА).

В обозначении ПРА для ламп ДРЛ, ДРИ, ДНаТ указывается:

– количество ламп;

– исполнение балластного сопротивления (И – индуктивное);

– мощность лампы;

– номинальное напряжение;

– исполнение лампы.

Например, 1И–250ДРЛ/220–В.

Для включения ламп высокого давления ДРИ и ДНаТ в комплект ПРА включаются импульсные зажигающие устройства (ИЗУ), работающие в совокупности сПРА определенного типа ламп.





Поделиться с друзьями:


Дата добавления: 2014-11-18; Просмотров: 3069; Нарушение авторских прав?; Мы поможем в написании вашей работы!


Нам важно ваше мнение! Был ли полезен опубликованный материал? Да | Нет



studopedia.su - Студопедия (2013 - 2026) год. Все материалы представленные на сайте исключительно с целью ознакомления читателями и не преследуют коммерческих целей или нарушение авторских прав! Последнее добавление




Генерация страницы за: 0.008 сек.