Студопедия

КАТЕГОРИИ:


Архитектура-(3434)Астрономия-(809)Биология-(7483)Биотехнологии-(1457)Военное дело-(14632)Высокие технологии-(1363)География-(913)Геология-(1438)Государство-(451)Демография-(1065)Дом-(47672)Журналистика и СМИ-(912)Изобретательство-(14524)Иностранные языки-(4268)Информатика-(17799)Искусство-(1338)История-(13644)Компьютеры-(11121)Косметика-(55)Кулинария-(373)Культура-(8427)Лингвистика-(374)Литература-(1642)Маркетинг-(23702)Математика-(16968)Машиностроение-(1700)Медицина-(12668)Менеджмент-(24684)Механика-(15423)Науковедение-(506)Образование-(11852)Охрана труда-(3308)Педагогика-(5571)Полиграфия-(1312)Политика-(7869)Право-(5454)Приборостроение-(1369)Программирование-(2801)Производство-(97182)Промышленность-(8706)Психология-(18388)Религия-(3217)Связь-(10668)Сельское хозяйство-(299)Социология-(6455)Спорт-(42831)Строительство-(4793)Торговля-(5050)Транспорт-(2929)Туризм-(1568)Физика-(3942)Философия-(17015)Финансы-(26596)Химия-(22929)Экология-(12095)Экономика-(9961)Электроника-(8441)Электротехника-(4623)Энергетика-(12629)Юриспруденция-(1492)Ядерная техника-(1748)

Состав и порядок разработки ППР




 

В составе раздела «Организация строительного производства» разрабатывается проект производства работ (ППР) в следующем составе

1. Исходные данные для проектирования:

1.1. Краткая характеристика объекта.

1.2. Ведомость объемов работ и потребности в материально-технических ресурсах (затраты труда, механизмы, материалы).

2. Разработка и выбор организационно-технологических методов возведения объекта:

2.1. Определение основных циклов возведения объекта с выделением ведущих процессов.

2.2. Совмещение процессов в составе каждого цикла.

2.3. Разработка вариантов организационно-технологических схем возведения надземной части здания.

2.4. Выбор и обоснование принятого варианта организации работ по возведению надземной части здания.

3. Разработка календарного плана строительства объекта.

3.1. Порядок разработки календарного плана (сетевой модели).

3.2. Составление карточки-определителя сетевой модели и расчет модели.

3.3. Разработка ресурсных графиков (движения рабочих, работы строительных машин, потребности в материальных ресурсах, освоения СМР).

3.4. Оптимизация модели по времени и ресурсам.

4. Разработка строительного генерального плана.

4.1. Размещение монтажных механизмов на строительной площадке.

4.2. Проектирование складского хозяйства.

4.3. Проектирование временных зданий и сооружений.

4.4. Временное водоснабжение и электроснабжение строительной площадки.

4.5. Мероприятия по технике безопасности, охране труда и охране окружающей среды.

4.6. Технико-экономические показатели стройгенплана.

5. Планирование работы комплексной бригады.

5.1. Характеристика бригады и поручаемых ей работ.

5.2. Расчет нормативов затрат труда и заработной платы на бригадный комплекс работ.

5.3. Календарный план работы бригады.

5.4. Расчет профессионального, квалификационного и численного состава бригады.

5.5. Разработка оперативного плана-задания бригаде на один месяц.

5.6. Технико-экономические показатели работы бригады.

6. Технико-экономические показатели проекта производства работ.

7. Список использованной литературы.

Разработка ППР организуется в следующей последовательности:

1. Изучаются и подготавливаются исходные данные. Исходные данные включают в себя нормативную базу для обязательных решений ППР, проектно-сметную документацию по объекту, данные, характеризующие производственные возможности подрядчика, местные условия строительства и др.

2. Разрабатываются и анализируются несколько вариантов технологической схемы строительства объекта. Технологическая схема разрабатывается на основе определения ведущего процесса по возведению надземной части здания (возможно рассмотрение и других циклов возведения объекта), назначения для него ведущего ресурса (выбор монтажных кранов по их типу и количеству), определения последовательности работы этого ресурса на разных частях объекта.

3. Выбор технологической схемы возведения надземной части здания. По каждому варианту определяется общая продолжительность строительства, возможность совмещения процессов, моменты готовности фронтов работ для последующих работ, характер распределения объемов работ по календарным периодам строительства, возможность равномерной загрузки различных исполнителей и др. На основе указанных оценок проводится сравнение вариантов технологических схем между собой и выбор технологической схемы возведения надземной (либо любой другой) части объекта.

4. Разработка календарного плана производства работ и других технологических документов.

5. Расчет и проектирование временного строительного хозяйства (потребность строительства во временных зданиях, складах, транспорте, воде, электроэнергии и других ресурсах).

6. Проектирование строительного генерального плана (размещение монтажных механизмов и объектов временного строительного хозяйства).

7. Планирование работы комплексной бригады.

8. Определение ТЭП ППР.

 

 

3. Пример разработки проекта производства работ по возведению отдельного объекта с указаниями по разработке отдельных документов.

Требуется разработать проект производства работ по возведению общежития на 400 человек.Здание состоит из 2-х жилых блоков и одного блока обслуживания. (см. рис.1 и рис.2.)

 
 

Рис. 1 4-этажное общежитие на 400 человек.


Рис. 2. План первого этажа общежития.

1. Исходные данные для проектирования.

1.1. Краткая характеристика объекта.

Здание состоит из 3-х блоков: 2-х 4-этажных жилых блоков размером 12,0х67,4 м каждый и блока обслуживания размером 30,6х12,0 м между ними и соединенного с ними переходами 6,2х6,0 м.

Технико-экономические показатели объекта:

Строительный объем – 25030 м3;

Площадь застройки – 2097 м2;

Общая площадь = 5475 м2;

Продолжительность строительства – 18 мес.

1.2. Определяем номенклатуру и объемы работ, используя данные проектно-сметной документации и ТЭП объекта.

Таблица 1

№ п/п Наименование работ Ед. изм. Количество Прим.
         
  Разработка грунта экскаватором с погрузкой в транспортные средства   100 м3   33,4 V1 =1,05 объема подз. Части
  То же в отвал -«- 8,30 V 2= 0,25 -«-
  Добор грунта вручную м3 417,0 V 3=0,1 (V1+ V 2)
  Засыпка грунта бульдозером 100 м3 36,7 V 4= 0,8(V1+V2+V 3)
  То же вручную м3 917,4 V 5= 0,2(V1+V2+V 3)
  Устройство ленточных монолитных фундаментов м3   по плану
  Укладка блоков стен подвала объемом до 0,5 м3 То же до 1 м3 шт.   шт.   Vшт= 0,255 м3 Vшт= 0,679 м3
  Монтаж плит перекрытия над подвалом шт.   по плану
  Вертикальная гидроизоляция 100 м2 11,7 по плану
  Горизонтальная гидроизоляция 100 м2 2,4 по плану
  Кирпичная кладка стен м3 2365,0 по плану
  Монтаж гипсобетон панелей перегородок шт.   по плану
  Монтаж плит перекрытий шт.   по плану
  Монтаж плит покрытия шт.   по плану
  Монтаж лестничных маршей и площадок шт.   по плану
         
  Устройство мелкоблочных гипсобетонных перегородок   10 м2   197,5   по плану
  Монтаж балок блока обслуживания шт.   по плану
  Монтаж балконных плит шт.   по плану
  Устройство оклеечной пароизоляции 100 м2 19,95 по плану
  Укладка плитного утеплителя кровли 100 м2 19,95 по плану
  Устройство цементной стяжки 100 м2 19,95 по плану
  Наклейка 4-х слойного рубероидного ковра 100 м2 19,95 по плану
  Установка оконных блоков площ. до 2,5 м2 То же площ. до 3,5 м2 100 м2 100 м2 4,74 1,15 по плану
  Установка дверных блоков 100 м2 6,95 по плану
  Установка балконных блоков 100 м2 3,23 по плану
  Остекление окон и дверей 100 м2 31,1 в 3 стекла
  Устройство подготовки под полы 100 м2 54,7 Vобщ
  Устройство встроенной мебели шкафов То же антресолей шт. шт.   по числу человек
  Устройство мозаичных полов 100 м2 10,02 по плану
  Устройство бетонных полов 100 м2 0,97 по плану
  Устройство полов из керамической плитки 1 м2 1064,2 по плану
  Устройство полов из линолеума 100 м2 24,64 по плану
  Улучшенная штукатурка стен 100 м2 100,3  
  Сплошное выравнивание поверхности потолков   100 м2   54,7   по плану
  Клеевая окраска потолков 100 м2 54,7 по плану
  Оклейка стен обоями 100 м2 56,6 по плану
  Масляная окраска стен 100 м2 30,1 30% от общей пл. отделки
  Масляная окраска окон и дверей 100 м2 38,2 по плану
  Декоративная штукатурка фасада 100 м2 46,4 по плану
  Облицовка стен глазурованной плиткой 100 м2 13,6 по плану

 

1.2. Ведомость затрат труда и потребности в материально-технических ресурсах представлена в приложении 3. При расчете затрат труда использованы сборники Ресурсно-сметных норм на строительные конструкции и работы.

2. Разработка и выбор организационно-технологических методов возведения объекта:

2.1. Определение основных циклов возведения объекта с выделением ведущих процессов. Совмещение процессов в составе каждого цикла.

Строительство объекта планируется в три основных цикла:

1-ый цикл – строительство подземной части здания.

2-ой цикл – возведение надземной части здания.

3-ий цикл – организация отделочных работ.

Для каждого цикла строительства определяем свою систему захваток.

Первый цикл – строительство подземной части здания.

Здание в плане делим на три захватки:

1-ая захватка – блок А (оси 1- 14, Е- И);

2-ая захватка – блок Б (оси 6 – 18, А – В);

3-я захватка – блок обслуживания (оси 8 – 11; В – Е).

Ведущим процессом будем считать монтаж конструкций подземной части здания. Для выполнения работ используем стреловой кран на гусеничном ходу грузоподъемностью до 16т, т.к. для него не требуется устройства дополнительных временных дорог.

Отрывка котлована выполняется экскаватором с ковшом вместимостью 0,33 м3.

Устройство монолитных фундаментов ведут одновременно с устройством подготовки под фундаменты. Параллельно с монтажом стен подвала выполняют работы по устройству горизонтальной гидроизоляции, устройству приямков и вводов коммуникаций. После монтажа первого ряда стеновых блоков начинают работы по засыпке пазух изнутри и подсыпку под полы. Вертикальная гидроизоляция стен выполняется после окончания монтажа стен подвала.

Монтаж перекрытий над подвалом планируем после устройства полов в подвале и ведем без деления на захватки из-за небольшой трудоемкости работ.

Засыпку пазух снаружи осуществляем после монтажа перекрытий и выполнения вертикальной гидроизоляции стен.

Второй цикл - возведение надземной части здания.

Второй цикл включает следующие работы:

- общестроительные по возведению коробки здания;

- специальные работы (сантехнические, электромонтажные и слаботочные).

Ведущим процессом является кирпичная кладка стен и монтаж сборных конструкций. Деление здания на захватки ведется исходя из принятой схемы монтажа надземной части здания. В основу организации строительства многосекционных и сложной конфигурации в плане зданий независимо от их конструктивного решения положены следующие технологические принципы:

- монтаж конструкций двумя или более потоками при соответствующем числе кранов;

- совмещение с монтажом последующих общестроительных и специальных работ.

Строительные работы, совмещаемые с монтажом конструкций, выполняются на разных этажах и захватках. По одной вертикали с монтажом совмещение общестроительных и специальных работ независимо от количества смонтированных перекрытий запрещено без осуществления специальных мероприятий.

Монтаж надземной части осуществляется башенными, приставными или самоходными кранами в зависимости от высоты и конфигурации в плане.

Для рассматриваемого здания предлагается три варианта организации работ по возведению надземной части:

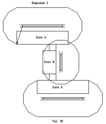
1-ый вариант – одновременно монтаж блоков А и Б двумя башенными кранами и монтаж блока обслуживания В самоходным стреловым краном;

2-ой вариант – одновременно монтаж блоков А и Б, разделенных на два участка (А1 и А2 и соответственно Б1 и Б2), и после частичной разборки подкрановых путей монтаж этими же кранами блока обслуживания В;

3-ий вариант – последовательный монтаж всех блоков башенным краном.

Для каждого варианта принимается своя система захваток

1-ый и 3-ий вариант – принимается 3 захватки (блок А – 1-ая захватка, блок Б – 2-ая захватка, блок обслуживания – 3 захватка);

2-ой вариант – блок А делится на два участка А1 и А2; блок Б делится также на два участка - Б1 и Б2; блок обслуживания В – на две захватки – В1 и В2 (см. рис. 3а, 3б, 3в).

Разработка вариантов организационно-технологических схем возведения надземной части объекта производится в следующем разделе.

Параллельно с возведением коробки здания можно планировать работы по устройству ограждений лестниц и балконов, с отставанием на 2 этажа можно начинать столярно-плотничные работы, подготовку под полы и другие общестроительные работы.

Организация специальных работ осуществляется в увязке с общестроительными и отделочными работами. До начала специальных работ должны быть выполнены:

- монтаж на менее двух этажей;

- остекление окон и обеспечение температуры в помещениях не ниже +50;

- работы по пробивке борозд, отверстий и штукатурка ниш под отопительные приборы и т. п..

Готовность объекта под монтаж оформляют двусторонними актами генподрядчиком и организациями, выполняющими специальные работы.

Специальные работы осуществляются параллельно между собой в два этапа:

1-ый этап сантехнических работ включает в себя монтаж внутренних систем горячего и холодного водоснабжения, отопления и газоснабжения. Этот этап должен быть выполнен до начала штукатурных работ.

1-ый этап электромонтажных работ включает разметку трасс, пробивку и сверление гнезд, штраб и борозд, прокладку стояков, труб и рукавов для скрытой проводки, раскладку проводов с частичной заделкой в стенах и в подготовке под полы, установку поэтажных, поквартирных и других шкафов и щитов. Комплекс работ заканчивается затяжкой проводов, прокладкой кабелей в подвале сборкой и проверкой собранной системы.

Этот этап специальных работ должен быть выполнен до начала штукатурных работ с отставанием от монтажа на 2 этажа.

2-ой этап сантехнических работ начинается после первого цикла малярных работ (когда в санузлах и кухнях закончена подготовка под последнюю окраску). В зависимости от конструкции дома и применяемого оборудования схема сантехработ может отличаться. Так, при отсутствии сантехкабин ванны устанавливают и подсоединяют на 1-ом этапе работ после устройства

 

 

Рис.3 Варианты организационно-технологических схем возведения надземной части здания

плиточных полов до облицовки стен ванных помещений. Работы этого этапа выполняют вне потока без деления на захватки.

2-ой этап электромонтажных работ начинают после окраски потолков и заканчивают после оклейки (окраски) стен. На этом этапе выполняют подвеску светильников, установку выключателей, розеток, звонков и т.п. Работы этого этапа выполняют вне потока без деления на захватки.

По окончании отделочных работ в доме выполняют слаботочные разводки.

При наличии в здании лифтов их монтаж должен вестись в строгой увязке со строительными, отделочными и электромонтажными работами. К началу монтажа лифтов строительная организация должна обеспечить затирку горизонтальных швов внутри шахты лифта и подготовить складскую площадку площадью не менее 30 м2 в зоне башенного крана для приемки и складирования элементов лифта, установить в лестничных клетках стояки временного электроснабжения для подключения электролебедок и освещения шахты. Лифтомонтажные работы выполняют специализированные организации. К монтажу элементов лифта приступают в период монтажа верхних этажей здания на захватках, свободных от монтажа конструкций здания.

Третий цикл –организация отделочных работ.

До начала отделочных работ должны быть выполнены:

- строительные работы, сантехнические и электромонтажные работы 1-ого этапа;

- смонтированы и сданы в эксплуатацию грузовые подъемники для подачи материалов на этажи и грзопассажирские подъемники при высоте здания свыше 25 м;

- обеспечены подъезды к ним для автотранспорта;

- смонтированы и подключены стояки временного водоснабжения, электросиловые и осветительные сети;

- остеклены окна (летом в одно стекло, а зимой – в два);

- подготовка бытовых помещений для рабочих и ИТР.

Сдачу здания под отделку оформляют специальным актом.

Штукатурные работы ведут в такой последовательности: в санузлах и кухнях, затем в комнатах и в конце на лестничной клетке, что позволяет своевременно передать фронт работ другим исполнителям.

Облицовочные работе выполняют вслед за штукатурными. По окончании штукатурных и облицовочных работ производят остекление внутренних дверей и повторное остекление окон, если оно требуется.

Малярные работы выполняют на всех этажах одновременно с разбивкой на два этапа.

В 1-ый этап малярных работ входят шпаклевка и окраска потолков, лоджий, балконов, наружных откосов окон, подготовка под оклейку стен обоями и окраску стен и столярных изделий. Клеевая окраска потолков открывает фронт для смежных работ.

Настилку паркета и линолеума можно начинать после последнего «мокрого» процесса (окраски потолков).

На 2-ом этапе малярных работ производят оклейку стен обоями, окраску стен и столярных изделий. Малярные работы по лестничным клеткам выполняют после окончания работ по квартирам.

Завершают отделочные работы шлифовкой паркета и окраской плинтусов.

Совмещение штукатурных, облицовочных, малярных, паркетных и специальных работ достигается разделением фронта работ в пределах секции, этажа и квартиры. Выполнение малярных работ 2-ого этапа по захваткам нецелесообразно. Этот этап работ должен выполняться сразу по всему дому в сжатые сроки перед сдачей объекта в эксплуатацию.




Поделиться с друзьями:


Дата добавления: 2014-11-18; Просмотров: 2899; Нарушение авторских прав?; Мы поможем в написании вашей работы!


Нам важно ваше мнение! Был ли полезен опубликованный материал? Да | Нет



studopedia.su - Студопедия (2013 - 2026) год. Все материалы представленные на сайте исключительно с целью ознакомления читателями и не преследуют коммерческих целей или нарушение авторских прав! Последнее добавление




Генерация страницы за: 0.009 сек.