Студопедия

КАТЕГОРИИ:


Архитектура-(3434)Астрономия-(809)Биология-(7483)Биотехнологии-(1457)Военное дело-(14632)Высокие технологии-(1363)География-(913)Геология-(1438)Государство-(451)Демография-(1065)Дом-(47672)Журналистика и СМИ-(912)Изобретательство-(14524)Иностранные языки-(4268)Информатика-(17799)Искусство-(1338)История-(13644)Компьютеры-(11121)Косметика-(55)Кулинария-(373)Культура-(8427)Лингвистика-(374)Литература-(1642)Маркетинг-(23702)Математика-(16968)Машиностроение-(1700)Медицина-(12668)Менеджмент-(24684)Механика-(15423)Науковедение-(506)Образование-(11852)Охрана труда-(3308)Педагогика-(5571)Полиграфия-(1312)Политика-(7869)Право-(5454)Приборостроение-(1369)Программирование-(2801)Производство-(97182)Промышленность-(8706)Психология-(18388)Религия-(3217)Связь-(10668)Сельское хозяйство-(299)Социология-(6455)Спорт-(42831)Строительство-(4793)Торговля-(5050)Транспорт-(2929)Туризм-(1568)Физика-(3942)Философия-(17015)Финансы-(26596)Химия-(22929)Экология-(12095)Экономика-(9961)Электроника-(8441)Электротехника-(4623)Энергетика-(12629)Юриспруденция-(1492)Ядерная техника-(1748)

Смеситель с сектором для исключения возможности образования застоя смеси в камере




 

Наиболее близким аналогом данного устройства, является смеситель непрерывного действия для приготовления холоднотвердеющих смесей, у которого корпус смесительной камеры для повышения коэффициента ее заполнения, имеет перед выходным отверстием порог [А.С. СССР №363547 опубликовано 25.12.1972 Бюллетень №4 за 1973]. Однако, в работе данного смесителя порог, устанавливаемый перед выходным отверстием, является причиной образования застоя смеси в области перед порогом и ее преждевременного затвердевания.

В данной части работы поставлена задача усовершенствования смесителя путем внесения изменения в конструкцию порога и введением дополнительной детали - вращающегося сектора.

Поставленная задача решена так: в смесителе (рис.10) порог перед выходным отверстием выполняется не сплошным, а имеющим радиальные отверстия. Кроме того, порог является съемным, для удобства очистки от налипшей смеси. Для предотвращения появления застоя смеси перед порогом, по ходу движения смеси, установлен вращающийся сектор, имеющий заборную часть и спиральный паз для продвижения смеси через отверстия в пороге.

 

 

 

1 Пат. 7485 Україна, МПК 7 B01F 7/04. Змішувач безпереревної дії для приготування холоднотвердїючих сумішей / І.І.Гунько, А.В.Дудченко (Україна). - u№ 20041210832; Заявл.27.12.2004; Бюл. №6 від 15.06.2005

 

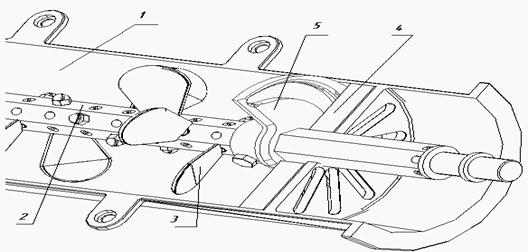
Рисунок 10 - Разработанная полезная модель смесителя

 

Смеситель содержит камеру 1 для подлежащего перемешиванию материала, вал 2 со спирально расположенными на нем лопатками 3. Перед порогом 4 по ходу движения смеси на валу установлен сектор 5 таким образом, что бы продавливать смесь через порог и не позволять смеси застаиваться перед ним. Готовая смесь выгружается из смесительной камеры через отверстие 6.

Смеситель работает следующим образом. Песок, связующее и отвердитель, попадая в смесительную камеру 1 рассекаются и перебрасываются лопастями 3 вала 2. Так как лопасти располагаются по винтовой линии, то смесь получает поступательное движение вдоль корпуса смесителя к выпускному отверстию 6. Когда смесь достигает порога 4, она подвергается дополнительному перемешиванию при ее продавливании через отверстие порога 4 под воздействием сектора 5. Часть смеси может проходить над порогом. Порог повышает коэффициент заполнения смесительной камеры, а сектор исключает возможность образования застоя смеси перед порогом. Порог выполнен съемным для удобства очистки.

Предложенная конструкция обеспечивает повышение качества получаемой смеси за счет того, что порог создает повышенный уровень смеси в смесительной камере. Кроме того, смесь дополнительно рассекается и перемешивается с помощью вращающегося сектора, а съемный порог облегчает процесс очистки смесителя.




Поделиться с друзьями:


Дата добавления: 2014-11-29; Просмотров: 418; Нарушение авторских прав?; Мы поможем в написании вашей работы!


Нам важно ваше мнение! Был ли полезен опубликованный материал? Да | Нет



studopedia.su - Студопедия (2013 - 2025) год. Все материалы представленные на сайте исключительно с целью ознакомления читателями и не преследуют коммерческих целей или нарушение авторских прав! Последнее добавление




Генерация страницы за: 0.008 сек.