Студопедия

КАТЕГОРИИ:


Архитектура-(3434)Астрономия-(809)Биология-(7483)Биотехнологии-(1457)Военное дело-(14632)Высокие технологии-(1363)География-(913)Геология-(1438)Государство-(451)Демография-(1065)Дом-(47672)Журналистика и СМИ-(912)Изобретательство-(14524)Иностранные языки-(4268)Информатика-(17799)Искусство-(1338)История-(13644)Компьютеры-(11121)Косметика-(55)Кулинария-(373)Культура-(8427)Лингвистика-(374)Литература-(1642)Маркетинг-(23702)Математика-(16968)Машиностроение-(1700)Медицина-(12668)Менеджмент-(24684)Механика-(15423)Науковедение-(506)Образование-(11852)Охрана труда-(3308)Педагогика-(5571)Полиграфия-(1312)Политика-(7869)Право-(5454)Приборостроение-(1369)Программирование-(2801)Производство-(97182)Промышленность-(8706)Психология-(18388)Религия-(3217)Связь-(10668)Сельское хозяйство-(299)Социология-(6455)Спорт-(42831)Строительство-(4793)Торговля-(5050)Транспорт-(2929)Туризм-(1568)Физика-(3942)Философия-(17015)Финансы-(26596)Химия-(22929)Экология-(12095)Экономика-(9961)Электроника-(8441)Электротехника-(4623)Энергетика-(12629)Юриспруденция-(1492)Ядерная техника-(1748)

IV. Порядок выполнения работы. III. Описание лабораторной установки




III. Описание лабораторной установки

 

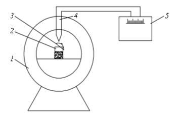
Установка состоит из электрического сушильного шкафа 1 (рис. 25) с терморегулятором, бюкса 2 с навеской топлива и крышкой 3, термоэлектрического преобразователя 4 и автоматического потенциометра 5 для контроля температуры внутри сушильного шкафа, эксикатора 6 с химическим реактивом,

Рис. 25. Схема установки для сушки топлива

поглощающим влагу, и аналитических весов с разновесами (на рис. не показаны).

 

1. Ознакомиться с лабораторной установкой, правилами включения сушильного шкафа, автоматического потенциометра, работой с весами.

2. Записать технические характеристики основного оборудования и метрологические характеристики средств измерений, используемых в работе.

3. Взвесить на аналитических весах пустой бюкс с притертой крышкой.

4. Взвесить бюкс с крышкой и навеской топлива (1...2) г.

5. Поместить бюкс с открытой крышкой (как это показано на рис. 25) и с навеской топлива в нагретый предварительно до (103...105) °С (376...378 К) сушильный шкаф и выдержать при этой температуре в течение 0,5 ч.

6. Закрыть бюкс крышкой, вынуть из шкафа и охладить на воздухе (в течение 2 мин.), а затем в эксикаторе до комнатной температуры; взвесить бюкс с крышкой и навеской топлива.

7. Произвести контрольное подсушивание и взвешивание в порядке, указанном в п. п. 5, 6. Если масса бюкса после контрольной сушки убыла меньше чем на 0,001 г., опыт считается законченным, в противном случае повторить опыт, как это указано в п. п. 5, 6. До совпадения результатов двух последних опытов с погрешностью менее 0,001 г.

8. Вычислить погрешности взвешивания и расчета влажности. Результаты взвешиваний, расчетов и вычисленных погрешностей занести в таблицу по форме 1.




Поделиться с друзьями:


Дата добавления: 2014-11-29; Просмотров: 814; Нарушение авторских прав?; Мы поможем в написании вашей работы!


Нам важно ваше мнение! Был ли полезен опубликованный материал? Да | Нет



studopedia.su - Студопедия (2013 - 2026) год. Все материалы представленные на сайте исключительно с целью ознакомления читателями и не преследуют коммерческих целей или нарушение авторских прав! Последнее добавление




Генерация страницы за: 0.011 сек.