Студопедия

КАТЕГОРИИ:


Архитектура-(3434)Астрономия-(809)Биология-(7483)Биотехнологии-(1457)Военное дело-(14632)Высокие технологии-(1363)География-(913)Геология-(1438)Государство-(451)Демография-(1065)Дом-(47672)Журналистика и СМИ-(912)Изобретательство-(14524)Иностранные языки-(4268)Информатика-(17799)Искусство-(1338)История-(13644)Компьютеры-(11121)Косметика-(55)Кулинария-(373)Культура-(8427)Лингвистика-(374)Литература-(1642)Маркетинг-(23702)Математика-(16968)Машиностроение-(1700)Медицина-(12668)Менеджмент-(24684)Механика-(15423)Науковедение-(506)Образование-(11852)Охрана труда-(3308)Педагогика-(5571)Полиграфия-(1312)Политика-(7869)Право-(5454)Приборостроение-(1369)Программирование-(2801)Производство-(97182)Промышленность-(8706)Психология-(18388)Религия-(3217)Связь-(10668)Сельское хозяйство-(299)Социология-(6455)Спорт-(42831)Строительство-(4793)Торговля-(5050)Транспорт-(2929)Туризм-(1568)Физика-(3942)Философия-(17015)Финансы-(26596)Химия-(22929)Экология-(12095)Экономика-(9961)Электроника-(8441)Электротехника-(4623)Энергетика-(12629)Юриспруденция-(1492)Ядерная техника-(1748)

Нанесение размеров




 

Простановка размеров на чертеже является одним из важных элементов, поэтому необходимо познакомиться с правилами их нанесения.

Нанесение размеров на чертеже регламентируется ГОСТом 2.307-68. Основанием для определения величины изображенного изделия и его элементов служат размерные числа, проставленные на чертеже. Общее количество размеров на чертеже должно быть минимальным, но достаточным для изготовления и контроля изделия. Требование минимальности простановки размеров обусловлено тем, что лишний размер увеличивает время чтения чертежа из-за его загруженности. Пропуск или ошибка в размерах приводят к браку при изготовлении изделия. Повторять размеры одного и того же элемента детали на изображениях не допускается.

Размеры выражают геометрические величины объектов, расстояния и углы между ними, координаты отдельных точек. Величина изображенного на чертеже изделия и его элементов (частей) определяется размерными числами, нанесенными на чертеже.

Размеры подразделяются на линейные и угловые. Линейные определяют длину, ширину, высоту, толщину, диаметр и радиус элементов детали. Угловые определяют углы между линиями и плоскостями элементов детали, а также углы между элементами.

Линейные размеры на чертежах указываются в миллиметрах, без обозначения единицы измерения. Угловые размеры указывают в градусах, минутах и секундах с обозначением единицы измерения, например: 45°, 45° 30',

60° 45'30".

Для размерных чисел применять простые дроби не допускается, за исключением размеров в дюймах.

Размеры на чертеже наносят без учета масштаба изображения, т. е. значения размерных чисел определяют действительные размеры, которые должно иметь изготовленное изделие.

Размеры на чертежах указывают размерными числами и размерными линиями, ограничиваемыми с одного или обоих концов стрелками или засечками. Размерная линия – это отрезок, графически выражающий величину, а также ориентацию размера. Размерные линии (рис. 1.11, а) проводят параллельно тому отрезку, линейный размер которого наносят. Выносные линии, а также заменяющие их осевые, проводят перпендикулярно размерным линиям. В случаях, подобных изображенному на рис.1.11, б, выносные линии следует проводить так, чтобы они вместе с измеряемым отрезком образовывали параллелограмм.

 

а б

Рис. 1.11

 

Размерные линии не должны являться продолжениями линий контура, центровых и выносных линий.

Размерную линию желательно наносить вне контура изображения. Размерные и выносные линии следует выполнять сплошными тонкими линиями. Необходимо избегать пересечения размерных и выносных линий.

Размерный текст обычно состоит изразмерного числа, при необходимости в размерный текст могут включаться различные специальные обозначения, а также допуски. Центровые линии это штрихпунктирные линии (рис. 1.11, б), обозначающие центр окружности или дуги.

Расстояние между контурной и размерной линией должно быть не менее 10 мм, а между размерными линиями не менее 7 мм, выносные линии должны выходить за концы стрелок или засечек на 1...5 мм (рис. 1.11, а).

Размерные числа наносят над размерной линией как можно ближе к ее середине, причем промежуток между размерным числом и размерной линией должен быть 0,5…1,0 мм (рис. 1.11, а). В пределах одного чертежа размерные числа выполняют шрифтом одного размера ‑ 3,5 или 5 мм. Предпочтительная высота размерных чисел, равна 5 мм.

Если вид или разрез симметричного предмета или отдельных симметрично расположенных элементов изображают только до оси симметрии (рис.1.12) или с обрывом, то размерные линии, относящиеся к этим элементам, проводят с обрывом, и обрыв размерной линии делают дальше оси или линии обрыва предмета

Рис. 1.12

 

Величину стрелки выбирают в зависимости от толщины линий видимого контура и вычерчивают их приблизительно одинаковыми на всем чертеже.

 

Рис. 1.13

Форма, размер стрелки и примерное соотношение ее элементов показаны на рис. 1.13.

Если длина размерной линии недостаточна для размещения на ней стрелок, то размерную линию продолжают за выносные (или за контурные, осевые, центровые и т. д.) и стрелки наносят так, как показано на рис.1.14.

 

Рис. 1.14

 

При недостатке места для стрелок на размерных линиях, расположенных цепочкой, стрелки допускается заменить засечками, наносимыми под углом 45° к размерным линиям (рис.1.15, а) или четко наносимыми точками

(рис. 1.15, б).

а б

Рис. 1.15

 

При нанесении нескольких параллельных (рис. 1.16, а) или концентрических (рис. 1.16, б) размерных линий на небольшом расстоянии друг от друга размерные числа над ними рекомендуется располагать в шахматном порядке.

 

а б

Рис. 1.16

Размерные числа линейных размеров при различных наклонах размерных линий располагают так, как показано на рис. 1.17. Причем все размерные числа и надписи должны читаться со стороны основной надписи или при повороте формата вправо. Данное требование продиктовано тем, что изображения в основном располагают относительно основной надписи так, как располагается деталь на станке. Если необходимо указать размер в заштрихованной зоне, то размерное число наносят на полке линии-выноски (рис. 1.17).

Рис. 1.17

 

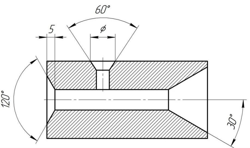
Для указания размера угла размерная линия проводится в виде дуги с центром в его вершине, а выносные линии ‑ радиально. Знаки градусов наносят на уровне высоты цифры размерного числа (рис. 1.18).

 

Рис. 1.18

 

В зоне, расположенной выше горизонтальной осевой линии, размерные числа угловых размеров наносятся над размерными линиями со стороны их выпуклости; в зоне, расположенной ниже горизонтальной осевой линии, со стороны вогнутости размерных линий. Размерное число, расположенное в отмеченной штрихами зоне, должно располагаться на горизонтальной полке линии выноски (размеры 30° и 40°) (рис. 1.18).

При указании размера диаметра всегда перед размерным числом наносят знак «Ø» (рис. 1.19, 1.20), высота которого равна высоте цифр размерных чисел. Знак представляет собой окружность, пересеченную косой чертой под углом 75° к размерной линии.

Нормальные диаметры общего назначения (ГОСТ 6636269)

0,5 0,8 1,2 1,5 1,8 2,2 2,5 2,8. 3,5 4,5                

Примечание. Рекомендуется применять в первую очередь диаметры, оканчивающиеся на 0, во вторую 2 на 5, а в третью 2 на 2 и 8.

 

Если для написания размерного числа над размерной линией недостаточно места, то размеры наносят так, как показано на рис.1.19.

Рис. 1.19

 

Если недостаточно места для нанесения стрелок, то размеры наносят так, как показано на рис. 1.20.

Рис. 1.20

Способ нанесения размерного числа при различных положениях размерных линий (стрелок) на чертеже определяется наибольшим удобством чтения (рис.1.19, 1.20).

Размерные числа нельзя разделять или пересекать какими бы то ни было линиями чертежа. Не допускается разрывать линию контура для нанесения размерного числа в местах пересечения размерных, осевых или центровых линий.

а б

Рис. 1.21

 

В месте нанесения размерного числа осевые, центровые линии (рис.1.21, а) и линии штриховки (рис.1.21, б) прерывают.

Размеры, относящиеся к одному и тому же конструктивному элементу (пазу, выступу, отверстию и т. п.), рекомендуется группировать в одном месте, располагая их на том изображении, на котором геометрическая форма данного элемента показана наиболее полно, более наглядно (рис. 1.22).

Рис. 1.22

 

При нанесении размера радиуса перед размерным числом помещают прописную букву R.

Если при нанесении размера радиуса дуги окружности необходимо указать размер, определяющий положение ее центра, то центр изображают в виде пересечения центровых или выносных линий. При большой величине радиуса центр допускается приближать к дуге, в этом случае размерную линию можно приближать к дуге, а размерную линию радиуса показывать с изломом под углом 90° (рис.1.23, а).

 

а б в г

Рис. 1.23

 

Если не требуется указывать размеры, определяющие положение центра дуги окружности, то размерную линию радиуса допускается не доводить до центра и смещать ее относительно центра (рис.1.23, б).

При проведении нескольких радиусов из одного центра размерных линий любых двух радиусов не располагают на одной прямой (рис. 1.23, в).

При совпадении центров нескольких радиусов их размерные линии допускается не доводить до центра, кроме крайних (рис.1.23, г).

Размеры радиусов наружных скруглений наносят так, как показано на рис.1.24, а. Размеры внутренних скруглений показаны на рис.1.24, б.

а б

Рис. 1.24

 

Радиусы скруглений, размер которых в масштабе чертежа 1 мм и менее, на чертеже не изображают, а размеры наносят как показано на рис. 1.25, а.

 

а б

Рис. 1.25

Способ нанесения размерных чисел при различных положениях размерных линий (стрелок) на чертеже определяется наибольшим удобством чтения.

Размеры одинаковых радиусов допускается указывать на общей полке

(рис. 1.25, б).

а б в

а б в

Рис. 1.26

 

Перед размерным числом диаметра или радиуса сферической поверхности (или ее части) наносят соответственно знак Ø или букву R без надписи «Сфера» (рис. 1.26, а). Чтобы на чертеже было легче отличить сферическую поверхность от других поверхностей (например от цилиндрической), перед размерным числом диаметра или радиуса сферической поверхности допускается наносить знак «Ο» (рис. 1.26, б) или слово «Сфера» (рис. 1.26, в). Диаметр знака сферы равен знаку размерных чисел на чертеже.

Рис. 1.27

 

Размеры элементов квадратной формы наносят так, как показано на

рис. 1.27, причем знак квадрата должен выглядеть как квадрат (не параллелограмм, не прямоугольник). Высота знака «□» (квадрата) равна высоте размерных чисел на чертеже.

Перед размерными числами, характеризующими конусность, наносят специальный знак «◁», острый угол которого должен быть направлен в сторону вершины конуса (рис. 1. 28).

Рис. 1.28

 

Знак конуса и конусность в виде соотношения следует наносить над основной линией или на полке линии-выноски (рис. 1.28).

Размеры фасок под углом 45° наносят, как показано на рис. 1.29, т. е. размер катета фаски и угол.

 

а б

Рис. 1.29

 

Если деталь имеет несколько одинаковых фасок на цилиндрической (или конической) поверхности разного диаметра, то размер фаски наносят только один раз, с указанием их количества под размерной линией (рис. 1.29, б). Когда деталь имеет две симметрично расположенные одинаковые фаски на одинаковых диаметрах, то размер фаски наносят один раз, без указания их количества (рис. 1.29, а).

Рис. 1.30

 

Размеры фасок под другими углами указывают по общим правилам – линейными угловыми размерами или двумя линейными размерами. Нанесение размеров углов показано на рис.1.30 и рис.1.31.

 

Рис. 1.31

 

При расположении элементов предмета (отверстий, пазов, зубьев и т. п.) на одной оси или на одной окружности размеры, определяющие взаимное расположение, наносят следующим образом:

а) от общей базы (рис. 1.32);

Рис. 1.32

 

Рис. 1.33

 

б) заданием размеров нескольких групп элементов от нескольких общих баз (рис. 1.33);

в) задание размеров между смежными элементами цепочкой (рис. 1.34).

 

Рис. 1.34

 

Размеры, определяющие положение симметрично расположенных элементов у симметричных изделий наносят так, как показано на рис. 1.35, 1.36.

 

Рис. 1.35

 

 

Рис. 1.36

 

Размеры на чертежах не наносят в виде замкнутой цепи, за исключением случаев, когда один из элементов указывается как справочный (рис. 1.36). Справочные размеры на чертеже отмечаются знаком «*».

 

Рис. 1.37

Размеры нескольких одинаковых элементов изделия, выполняемых одним инструментом, (сверло, резец) как правило, наносят один раз с указанием на полке линии-выноски количества этих элементов (рис. 1.37).

 

Рис. 1.38

 

При нанесении размеров, определяющих расстояние между равномерно расположенными одинаковыми изделиями (например, отверстий), рекомендуется вместо размерных цепей наносить размер между соседними элементами и размер между крайними элементами в виде произведения количества промежутков между элементами на размер промежутка (рис. 1.38).

Не допускается простановка размеров по невидимым линиям контура, за исключением случая, когда для простановки размера потребуется дополнительное изображение.

В заключении данного раздела следует отметить, что практически все размеры (их величины) нормализованы, т. е. должны наноситься из ряда нормальных линейных размеров (ГОСТ 6636‑69), нормальные углы (ГОСТ 8908‑81), нормальные диаметры общего назначения (ГОСТ 6636‑69), радиусы скруглений (ГОСТ 10948‑64), нормальные размеры фасок (ГОСТ 10948‑64), нормальные «размеры под ключ» (ГОСТ 6424‑73) и т. п.. Несоблюдение стандартов при назначении размеров приведет к удорожанию продукции.

 




Поделиться с друзьями:


Дата добавления: 2014-11-29; Просмотров: 2439; Нарушение авторских прав?; Мы поможем в написании вашей работы!


Нам важно ваше мнение! Был ли полезен опубликованный материал? Да | Нет



studopedia.su - Студопедия (2013 - 2026) год. Все материалы представленные на сайте исключительно с целью ознакомления читателями и не преследуют коммерческих целей или нарушение авторских прав! Последнее добавление




Генерация страницы за: 0.01 сек.