Студопедия

КАТЕГОРИИ:


Архитектура-(3434)Астрономия-(809)Биология-(7483)Биотехнологии-(1457)Военное дело-(14632)Высокие технологии-(1363)География-(913)Геология-(1438)Государство-(451)Демография-(1065)Дом-(47672)Журналистика и СМИ-(912)Изобретательство-(14524)Иностранные языки-(4268)Информатика-(17799)Искусство-(1338)История-(13644)Компьютеры-(11121)Косметика-(55)Кулинария-(373)Культура-(8427)Лингвистика-(374)Литература-(1642)Маркетинг-(23702)Математика-(16968)Машиностроение-(1700)Медицина-(12668)Менеджмент-(24684)Механика-(15423)Науковедение-(506)Образование-(11852)Охрана труда-(3308)Педагогика-(5571)Полиграфия-(1312)Политика-(7869)Право-(5454)Приборостроение-(1369)Программирование-(2801)Производство-(97182)Промышленность-(8706)Психология-(18388)Религия-(3217)Связь-(10668)Сельское хозяйство-(299)Социология-(6455)Спорт-(42831)Строительство-(4793)Торговля-(5050)Транспорт-(2929)Туризм-(1568)Физика-(3942)Философия-(17015)Финансы-(26596)Химия-(22929)Экология-(12095)Экономика-(9961)Электроника-(8441)Электротехника-(4623)Энергетика-(12629)Юриспруденция-(1492)Ядерная техника-(1748)

Расширение возможностей ОУ




 

Подключение ОУ к однополярному питанию. Для подключения усилителя к однополярному источнику питания создается делитель напряжения на стабилитронах VD1 it VD2 (рис 4 10) К искусствен нон нулевой точке между диодами подключается неинвертирующий вход усилителя Для развязки от постоянной составляющей на вхо­де и выходе включены конденса­торы С1 и С2

Операционный усилитель с большим выходным сигналом. Приведенная на рис 4 11 схема позволяет получить на выходе сигнал с амплитудой до 20 В Это достигается тем, что напряжение питания усилителя управляется выходным сигналом При этом разность напряжений между кон­тактами 4 и 7 остается без изменения (— 25 В) Следует иметь в ви­ду, что с помощью этой схемы нельзя получить большие коэффици­енты усиления. При большом выходном сигнале становится больше напряжение питания интегральной микросхемы, увеличивается на­пряжение между контактами 3, 7 и 2, 4 Это ведет к перенапряже­нию n переходов транзисторов, применяемых в микросхеме Для малых коэффициентов усиления напряжение на входах 2 и 3 ме­няется в такт питающему напряжению. При применении в этом устройстве интегральной микросхемы К140УД1Б не следует вывод 4 подключать к общей точке. В противном случае интегральная мик­росхема выйдет из строя.

Рис. 4.10 Рис 4.11 Рис 4.12

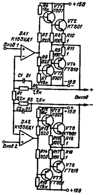
Рис. 4.13

 

Работа усилителя при увеличенных питающих напряжениях. Уси­литель (рис 4.12) позволяет подключить ОУ к источникам питания, напряжения которых превышают максимально допустимые напряже­ния ОУ. Стабилитроны VDJ и VD2 подключаются к источнику пита­ния ±50 В. Относительно средней точки на стабилитронах устанав­ливается напряжение ±13 В. Этим напряжением питается ОУ. По­скольку выходной сигнал усилителя снимается со средней точки, то мгновенные значения этого сигнала синхронно меняют уровни пита­ющих напряжений. Это отслеживание позволяет увеличить амплиту­ду выходного сигнала до 30 В при условии, что усилитель имеет коэффициент усиления, близкий к единице, т. е. R2/Rl = 1.

Мощный усилитель Двухполярных сигналов. Усилитель (рис. 4 13) состоит из двух ОУ с мощными транзисторами на выходе. Схема симметричная. Резисторами R4 и R5 устанавливается напряжение 0,3 В для устранения искажений типа «ступеньки» в выходном сиг­нале. Аналогичные функции выполняют резисторы R6, R7, R12R15. Нелинейные искажения уменьшаются также за счет ООС в каж­дом ОУ.

 




Поделиться с друзьями:


Дата добавления: 2014-11-29; Просмотров: 686; Нарушение авторских прав?; Мы поможем в написании вашей работы!


Нам важно ваше мнение! Был ли полезен опубликованный материал? Да | Нет



studopedia.su - Студопедия (2013 - 2026) год. Все материалы представленные на сайте исключительно с целью ознакомления читателями и не преследуют коммерческих целей или нарушение авторских прав! Последнее добавление




Генерация страницы за: 0.011 сек.