Студопедия

КАТЕГОРИИ:


Архитектура-(3434)Астрономия-(809)Биология-(7483)Биотехнологии-(1457)Военное дело-(14632)Высокие технологии-(1363)География-(913)Геология-(1438)Государство-(451)Демография-(1065)Дом-(47672)Журналистика и СМИ-(912)Изобретательство-(14524)Иностранные языки-(4268)Информатика-(17799)Искусство-(1338)История-(13644)Компьютеры-(11121)Косметика-(55)Кулинария-(373)Культура-(8427)Лингвистика-(374)Литература-(1642)Маркетинг-(23702)Математика-(16968)Машиностроение-(1700)Медицина-(12668)Менеджмент-(24684)Механика-(15423)Науковедение-(506)Образование-(11852)Охрана труда-(3308)Педагогика-(5571)Полиграфия-(1312)Политика-(7869)Право-(5454)Приборостроение-(1369)Программирование-(2801)Производство-(97182)Промышленность-(8706)Психология-(18388)Религия-(3217)Связь-(10668)Сельское хозяйство-(299)Социология-(6455)Спорт-(42831)Строительство-(4793)Торговля-(5050)Транспорт-(2929)Туризм-(1568)Физика-(3942)Философия-(17015)Финансы-(26596)Химия-(22929)Экология-(12095)Экономика-(9961)Электроника-(8441)Электротехника-(4623)Энергетика-(12629)Юриспруденция-(1492)Ядерная техника-(1748)

Усилители мощности




 

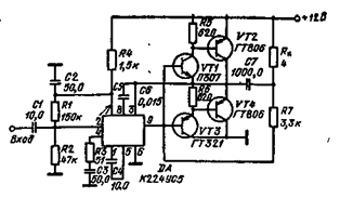
Усилитель с выходной мощностью 4 Вт. Усилитель (рис 4 14) выполнен по двухтактной схеме Для предварительного усиления служит интегральная микросхема типа К224УС5. Глубокая (до 40 дБ) ООС по переменному току позволяет получить малый коэф­фициент нелинейных искажений. Коэффициент гармоник и чувстви­тельность устанавливаются подбором сопротивления резистора R4 При сопротивлении резистора R4=150 Ом коэффициент усиления со­ставляет 100 — 150, а коэффициент гармоник 0,5 — 0,8 %. Наличие ОС по постоянному току обеспечивает стабильную работу усилителя как при изменении питающего напряжения, так и при изменении темпе­ратуры. Полоса частот 200 Гц — 10 кГц.

Рис. 4.14

Рис. 4.15

 

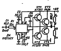
Усилитель с выходной мощностью 2 Вт. Усилитель- (рис. 4.15) отдает в нагрузку мощность 2 Вт при питающем напряжении 12 В, 0,8 Вт — при напряжении 9 В и 0,25 Вт — при напряжении 6 В. При максимальной мбщности коэффициент гармоник составляет 1 %. Входное сопротивление равно 25 кОм. Полоса рабочих частот 80 Гц — 12 кГц. Для обеспечения равномерности частотной характе­ристики и для устранения искажений типа «ступеньки» с выхода уси­лителя на вывод 3 микросхемы подается ООС. Изменением сопро­тивления резистора R3 можно регулировать ООС. При этом рас­ширяется полоса частот, уменьшаются нелинейности, но и падает коэффициент усиления.

Рис. 4.16 Рис. 4 17

 

Усилитель мощности на интегральной микросхеме К157УС1. Вы­ходная мощность усилителя 0,5 Вт. Чувствительность лежит в преде­лах 15 — 30 мВ. Коэффициент гармоник в полосе частот от 50 Гц до 15 кГц не превышает 0,3 %. При напряжении питания 12 В можно получить выходную мощность 1,5 Вт. Схема представлена на рис. 4 16.

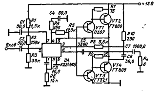
Усилитель мощности на 12 Вт. Усилитель (рис. 4.17). имеет поло­су частот от 10 Гц до 20 кГц. В этой полосе частотная характеристи­ка имеет неравномерность 2.дБ. Коэффициент передачи может ме­няться от 1 до 100. Амплитуда выходного сигнала на нагрузке 3 Ом равна 9 В. Налаживание усилителя сводится к подбору корректиру­ющей цепочки интегральной микросхемы. Выходные транзисторы ра­ботают без начального смещения. «Ступенька» в выходном сигнале устраняется за счет ООС.,




Поделиться с друзьями:


Дата добавления: 2014-11-29; Просмотров: 742; Нарушение авторских прав?; Мы поможем в написании вашей работы!


Нам важно ваше мнение! Был ли полезен опубликованный материал? Да | Нет



studopedia.su - Студопедия (2013 - 2026) год. Все материалы представленные на сайте исключительно с целью ознакомления читателями и не преследуют коммерческих целей или нарушение авторских прав! Последнее добавление




Генерация страницы за: 0.008 сек.