Студопедия

КАТЕГОРИИ:


Архитектура-(3434)Астрономия-(809)Биология-(7483)Биотехнологии-(1457)Военное дело-(14632)Высокие технологии-(1363)География-(913)Геология-(1438)Государство-(451)Демография-(1065)Дом-(47672)Журналистика и СМИ-(912)Изобретательство-(14524)Иностранные языки-(4268)Информатика-(17799)Искусство-(1338)История-(13644)Компьютеры-(11121)Косметика-(55)Кулинария-(373)Культура-(8427)Лингвистика-(374)Литература-(1642)Маркетинг-(23702)Математика-(16968)Машиностроение-(1700)Медицина-(12668)Менеджмент-(24684)Механика-(15423)Науковедение-(506)Образование-(11852)Охрана труда-(3308)Педагогика-(5571)Полиграфия-(1312)Политика-(7869)Право-(5454)Приборостроение-(1369)Программирование-(2801)Производство-(97182)Промышленность-(8706)Психология-(18388)Религия-(3217)Связь-(10668)Сельское хозяйство-(299)Социология-(6455)Спорт-(42831)Строительство-(4793)Торговля-(5050)Транспорт-(2929)Туризм-(1568)Физика-(3942)Философия-(17015)Финансы-(26596)Химия-(22929)Экология-(12095)Экономика-(9961)Электроника-(8441)Электротехника-(4623)Энергетика-(12629)Юриспруденция-(1492)Ядерная техника-(1748)

Схемы формирования абсолютного значения




Преобразователь двухполярного сигнала. Преобразователь (рис. 15.7) выполняет функции двухполупериодного выпрямителя. Он может работать с сигналами, амплитуда которых меньше 5 В. Если увеличить номиналы источников питания, то амплитуду вход­ного сигнала также можно увеличить. Для выравнивания положи­тельных и отрицательных полуволн на выходе необходимо подбирать сопротивление резистора R4. Преобразователь работает в ши­роком диапазоне частот.

Рис. 15.7

 

Формирователь абсолютного значения. Двухполярный входной сигнал (рис. 15.8,с) преобразует­ся в однополярный с помощью двух диодов, которые объединя­ют входы ОУ в дифференциальном включении. Эти диоды управляют подведением входного сигнала ко входам ОУ в зависимости от его полярности. При этом на вы­ходе схемы присутствуют только отрицательные сигналы. В схеме линейная зависимость выходного сигнала от входного соблюдается для сигналов больше 1 В. Для управляющих напряжений Е семей­ство характеристик UBЫХ(UBX) приведено на риc. 15.8, б.

Рис 15.8

 

Преобразователь на двух ОУ. Преобразователь абсолютных значений (рис. 15.9, а) построен на двух схемах, передаточные ха­рактеристики которых близки к характеристикам идеального диода. Коэффициент передачи схем определяется отношением сопротивле­ний резисторов R2 и R3. Управляющее напряжение позволяет сдви­гать правую ветвь передаточной характеристики. При E>0 возника­ет зона ограничения входного сигнала. Например, для Е=1 В входной сигнал проходит на выход, если он превышает значение 2 В. На рис. 15.9, б приведено семейство передаточных характеристик!

Рис. 15.9

Рис. 15.10

 

Компенсационный преобразователь абсолютных значений. Фор­мирование абсолютного значения входного сигнала в схеме (рис. 15.10, а) осуществляется при взаимодействии входного и вы­ходного сигналов. Если на входе присутствует сигнал положитель­ной полярности, то выходной сигнал формируется за счет прохож­дения входного сигнала по цепи RlR4. Для входного сигнала от­рицательной полярности на выходе интегральной микросхемы фор­мируется сигнал положительной полярности, который проходит че­рез диод VD1 на резисторы R4, R2, R1. В результате на выходе образуется разностный сигнал. Поскольку сопротивление резисто­ра R1 в два раза больше сопротивления резистора R4, сигнал ми­кросхемы на выходе является преобладающим. С помощью рези­стора R2 можно балансировать схему. На рис. 15.10, б приведено семейство переходных характеристик преобразователя.

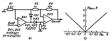
Детекторный преобразователь. Формирователь абсолютного зна­чения входного сигнала (рис. 15.11, а) построен по принципу двух-полупериодного выпрямления на диодах VD1 и VD2. Положитель­ное значение выходного сигнала ОУ DA1 проходит через диод и по­ступает на неинвертирующий вход ОУ DA2. На выходе будет по­ложительный сигнал. Отрицательное значение выходного сигнала ОУ DA1 проходит на инвертирующий вход ОУ DA2. На выходе также будет положительный сигнал. Для положительного входного сигнала коэффициент передачи равен K+ = R6R4/R5R1. а для отри­цательного —

Рис. 15.11

Рис. 15.12

 

На рис. 15.11, б приведено семейство передаточных характеристик преобразователя.

Параллельный преобразователь. Схема получения абсолютного значения входного сигнала (рис. 15.12, а) имеет большое входное сопротивление. Здесь входной сигнал действует на две микросхемы одновременно. Для положительных значений входного сигнала ко­эффициент усиления схемы равен единице, а для отрицательных — зависит от K_=1 — (R4R2/R3R1). При R4R2/R3R1 = 2 получим точное совпадение по амплитуде сигналов на выходе. Для управления пе­редаточной характеристикой схемы можно менять напряжение Е. Можно ввести дополнительное управление характеристикой, если менять напряжение на инвертирующем входе ОУ DA2. В приведен­ной схеме можно использовать ОУ различных типов. На рис. 15.12,6 представлено семейство передаточных характеристик преобразова­теля.

Рис. 15.13

Рис. 15.14

Прицезнонный детектор. Преобразователь (рис. 15.13, а) пост­роен на двух ОУ. Двухполупериодное выпрямление реализуется пу­тем переключения диодов. Знак коэффициента усиления меняется при смене знака входного сигнала.-Полярность выходного сигнала положительная. Положительный входной сигнал, вызывает появле­ние положительного напряжения на выходе DA1. Диод VD1 закрывается, a VD2 открывается. Усилитель DA2 обеспечивает необходи­мый коэффициент усиления с помощью делителей Rl, R2 и R3, R4. При отрицательной полярности входного сигнала диод VD1 откры­вается, a VD2 закрывается. Отрицательная полуволна проходит на инвертирующий вход усилителя DA2.

При коэффициенте усиления K сопротивление резистора равно R1 = R2(K+1)/(К-1) или R1=R3R2/(R3+R2). Рис. 15.13, б иллю­стрирует передаточную характеристику схемы.

Параллельный преобразователь абсолютного значения. Преоб­разователь (рис. 15.14) состоит из инвертора, построенного на ОУ DA1, и двух детекторов на ОУ DA2 и DA3. С помощью потенцио­метра R4 осуществляется установка равенства передачи положи­тельных и отрицательных полярностей входного сигнала. В ОУ DA2 и DA3 постоянное напряжение на выходе можно скомпенси­ровать потенциометрами R10 и R17. В настроенной схеме динами­ческий диапазон входного сигнала с частотами от 0 до 3 кГц лежит в интервале от 0,4 мВ до 5,5 В с нелинейностью менее 0,2 %. Ча­стотный диапазон работы преобразователя ограничен применяемы­ми ОУ. Применение вместо интегральной микросхемы К153УД1 ми­кросхем К140УД1Б и К140УД7 позволит расширить частотный диа­пазон до 10 кГц. Для устранения возбуждения в микросхемах К153УД1 необходимо применить корректирующие элементы: между выводами 5, 6 конденсатор С = 56 пФ и выводами 1, 5 резистор R=1,5 кОм и конденсатор С = 300 пФ.

Рис. 15.15 Рис. 15.16

 

Последовательная схема преобразователя. На ОУ DA1 в соста­ве преобразователя (рис. 15.15) построен двухполупериодный де­тектор. В этой микросхеме происходит разделение полярностей входного сигнала. Сигнал с отрицательной полярностью проходит на инвертирующий вход усилителя DA2. На выходе этого усилите­ля сигналы объединяются на резисторе R11. С помощью резисто­ра R11 добиваются равенства частей выходного сигнала, соответ­ствующих положительной и отрицательной полярностям входного сигнала. Порог разделения входного сигнала можно регулировать в ОУ DA1 с помощью резистора R6. Входной сигнал с частотой от О до 5 кГц и с амплитудой от 1 мВ до С В передается на выход с нелинейностью менее 0,2 %.

 




Поделиться с друзьями:


Дата добавления: 2014-11-29; Просмотров: 798; Нарушение авторских прав?; Мы поможем в написании вашей работы!


Нам важно ваше мнение! Был ли полезен опубликованный материал? Да | Нет



studopedia.su - Студопедия (2013 - 2026) год. Все материалы представленные на сайте исключительно с целью ознакомления читателями и не преследуют коммерческих целей или нарушение авторских прав! Последнее добавление




Генерация страницы за: 0.011 сек.